Rejected emissions test, vehicle OBD system is unresponsive?

2010 PONTIAC G6
119,506 MILES • 6 CYL • TURBO • AUTOMATIC
Avatar
ANGIE ESTRADA
  • MEMBER
  • 1 POST
Vehicle OBD system is unresponsive.
Aug 18, 2023 at 2:34 PM
Advertisement
Avatar
JACOBANDNICKOLAS
  • CERTIFIED EXPERT
  • 110,175 POSTS
Hi,

If you are unable to connect, let's start by checking for power and ground at the data link connector.

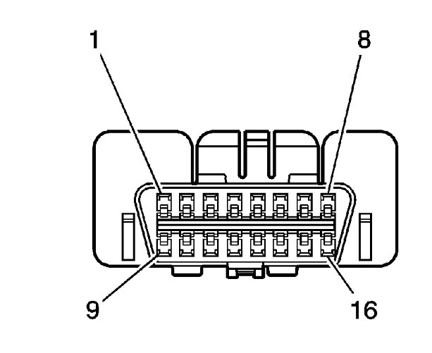
If you look below at pic 1, it shows the data link connector and pin numbering. Pic 2 shows what each pin is for.

First, check pin 16 for power. It should have power at all times. If that is good, check pins 4 and 5 for continuity to ground.

Let me know what you find.

Take care,

joe

See pics below.
Aug 18, 2023 at 11:25 PM