Rear center sub-woofer unplugged

2013 CADILLAC ATS
62,000 MILES • 2.0L • 4 CYL • AUTOMATIC
Avatar
JVILLEGAS1991
  • MEMBER
  • 9 POSTS
I purchased this ATS and noticed that the previous owner probably had a custom sub-woofer installed. He removed it but never plugged in the original Bose sub-woofer.
Sep 6, 2019 at 8:10 AM
Advertisement
Avatar
KASEKENNY
  • CERTIFIED EXPERT
  • 18,907 POSTS
Hi,

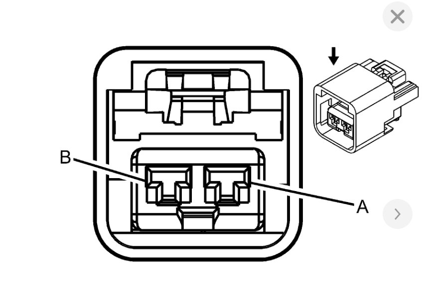
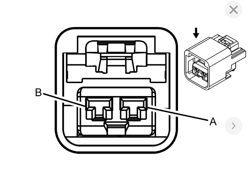
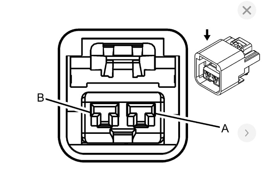
I assume you are looking for a procedure on how to reconnect it? I attached what the manual has for this. Let me know if you have more questions about this. Thanks
Sep 6, 2019 at 4:33 PM
Avatar
JVILLEGAS1991
  • MEMBER
  • 9 POSTS
Hi,

Thank you for your reply, and thank you for providing those instructions. The sub-woofer is actually still in its original place. The actual problem that it is not plugged in. That is the problem, I have no clue how to wire it.
Sep 6, 2019 at 9:23 PM
Advertisement
Avatar
KASEKENNY
  • CERTIFIED EXPERT
  • 18,907 POSTS
Okay. I am not sure I am following. Those wires that you showed in the first picture are from the aftermarket box that he had as you stated in the first post. The second picture shows the OEM connector for the OEM sub and it is connected. Those wires from the first picture do not go to the OEM sub.

Here is the wiring diagram for the sub-woofer. It appears the connector is the only one for this sub.

Does it actually work? Have you turned the radio on and looked at the speaker to see if it is vibrating? If it is not, then this may be why the previous owner added their own rather than fixing this one. It may have been cheaper to just add what they wanted rather than replacing that sub.
Sep 7, 2019 at 9:53 AM
Avatar
KASEKENNY
  • CERTIFIED EXPERT
  • 18,907 POSTS
FYI - I just looked and there appear to be many options out there for that speaker for less that $100.00. I would just remove that connector. Turn the radio on and put a volt meter on each wire to make sure you are getting voltage. They are just audio lines so I am sure they are fine. You can even just jump those connections to some other speaker that you have to test them if you want. As long as they are okay, then most likely they blew that speaker out and it just needs to be replaced.

I am not sure what type of radio you have to see if there are settings in the radio to disable it, but that is the first thing I would check if you don't have voltage coming through on those audio wires.

Let me know what you find.

Thanks
Sep 7, 2019 at 10:01 AM
Avatar
JVILLEGAS1991
  • MEMBER
  • 9 POSTS
Hi sorry for the long delay, I was out of town in a business trip. I had not had a chance to read your reply. Thank you for the information. So my next question is are those three that look like wires, are they not suppose to be connected anywhere?
Sep 11, 2019 at 10:58 PM
Avatar
KASEKENNY
  • CERTIFIED EXPERT
  • 18,907 POSTS
That looks like string and not wire. Wiring would be copper but that looks like it is string. Plus that is coming through the diaphragm of the speaker which should never happen. The diaphragm is what generates the sound so it can’t have any cuts holes.

I bet that is someone’s attempt to repair that speaker. I have seen mesh used but I have not seen string used.
Sep 12, 2019 at 7:03 PM
Avatar
JVILLEGAS1991
  • MEMBER
  • 9 POSTS
I see, I will test out the voltage and see if there is any going to the plug. I think I found the amplifier and it seems like there’s a lot of lose wires.
Sep 12, 2019 at 10:11 PM
Avatar
KASEKENNY
  • CERTIFIED EXPERT
  • 18,907 POSTS
Okay. Yeah. I suspect this is going to be the proverbial can of worms. From my experience when people add these systems they "tinker" with a lot of other things and crudely tap into other wiring. Usually, they know enough just to make it work but then leave the rest a bit of a rats nest.

Again, from my experience, just take your time and sort through it. Once you get everything working, you can go back through and make it pretty.

Keep me posted. Thanks
Sep 13, 2019 at 8:13 PM