Put in new ignition will not stay running

2000 CHRYSLER SEBRING
164,000 MILES • 2.5L • V6 • 2WD
Avatar
RICHARDWAL8189
  • MEMBER
  • 5 POSTS
I lost the keys so i went to junkyard got another ignition with key same year car put it in the car fired up three or four times but cuts off in two seconds. now it wont do anything. i need some cheap way to fix this fast.
Jun 23, 2019 at 10:55 PM
Advertisement
Avatar
SCGRANTURISMO
  • CERTIFIED EXPERT
  • 4,897 POSTS
Hello,

Is the anti theft light flashing?

Thanks,
Alex
2CarPros
Jun 24, 2019 at 1:52 AM
Avatar
RICHARDWAL8189
  • MEMBER
  • 5 POSTS
Yes, but it stops then starts back.
Jun 24, 2019 at 7:36 AM
Advertisement
Avatar
SCGRANTURISMO
  • CERTIFIED EXPERT
  • 4,897 POSTS
Hello again,

Okay, this is because the new ignition keys have to be programmed to your vehicle's Power-train Control Module (PCM) in order for your vehicle to start. There are only two places to have this done, the dealership or at a locksmith. This is intentionally done to keep thieves from being able to program blank keys themselves and steal vehicles. Please get back to us with how things turn out.

Thanks,
Alex
2CarPros
Jun 24, 2019 at 10:48 AM
Avatar
RICHARDWAL8189
  • MEMBER
  • 5 POSTS
Alex, so I got a new PCM and it was programmed to my VIN. now the car turns over but it's not getting fire. I'm trying to find out if it had anything to do with the camshaft sensor.
Jul 10, 2019 at 6:03 PM
Avatar
RICHARDWAL8189
  • MEMBER
  • 5 POSTS
Still having a problem.
Jul 10, 2019 at 9:41 PM
Avatar
RICHARDWAL8189
  • MEMBER
  • 5 POSTS
Okay and everything was working fine before all this. now I'm seeing something about the wcm could be locked and I can reset it by removing the negative battery cable. Does anyone absolutely know what the problem is? because one person will say it's the camshaft the next person will say it's the crank sensor. we're about $600.00 into this and still no further than we were when we first started this. and let's face it everyone knows this car is so hard to work on and it's not even throwing codes.
Jul 11, 2019 at 4:29 PM
Avatar
SCGRANTURISMO
  • CERTIFIED EXPERT
  • 4,897 POSTS
Hello again,

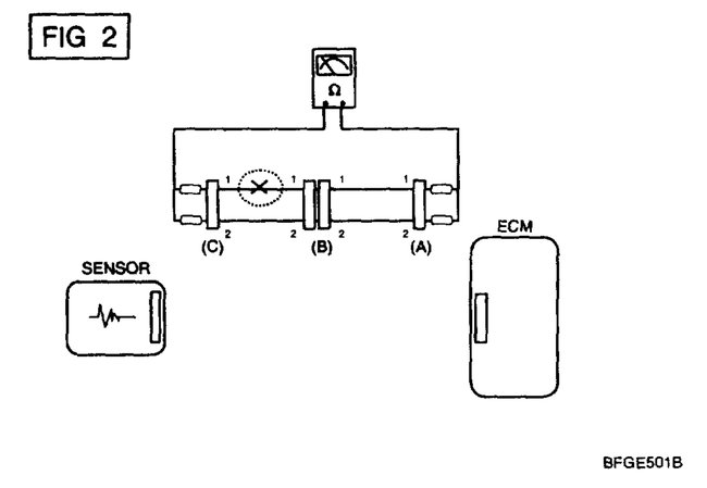
Okay, this is probably going to be a problem with your vehicle's Crankshaft Position Sensor (CKP). In the diagrams down below i have included a description of the CKP and where it is located on your vehicle. Please go through these guides and get back to us with what you are able to find out.

Thanks,
Alex
2CarPros
Jul 11, 2019 at 5:18 PM
Avatar
RICHARDWAL8189
  • MEMBER
  • 5 POSTS
I checked the sensors and they work and engine shutdown relay works also still no spark and no fuel.
Jul 13, 2019 at 5:58 AM
Avatar
SCGRANTURISMO
  • CERTIFIED EXPERT
  • 4,897 POSTS
Hello again,

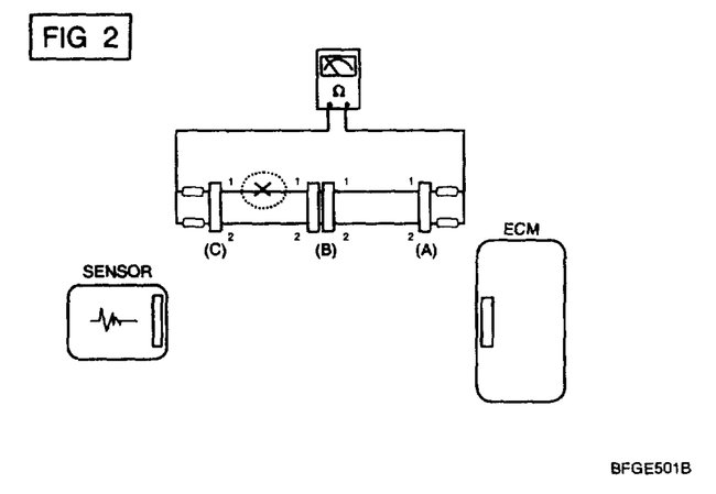
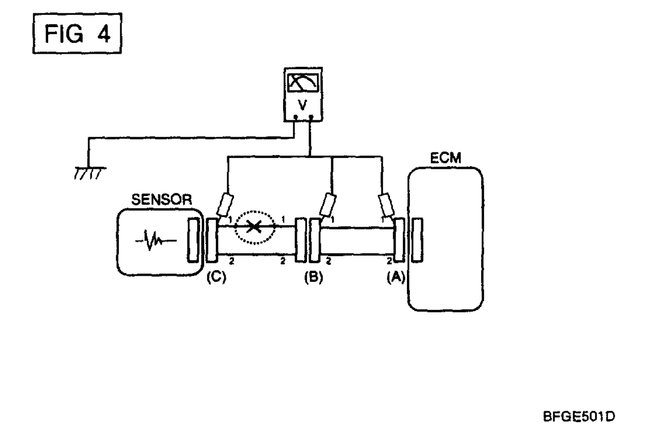
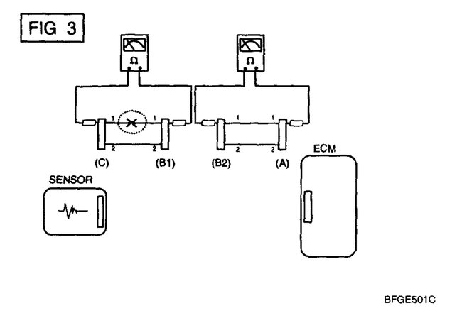
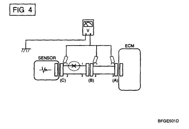
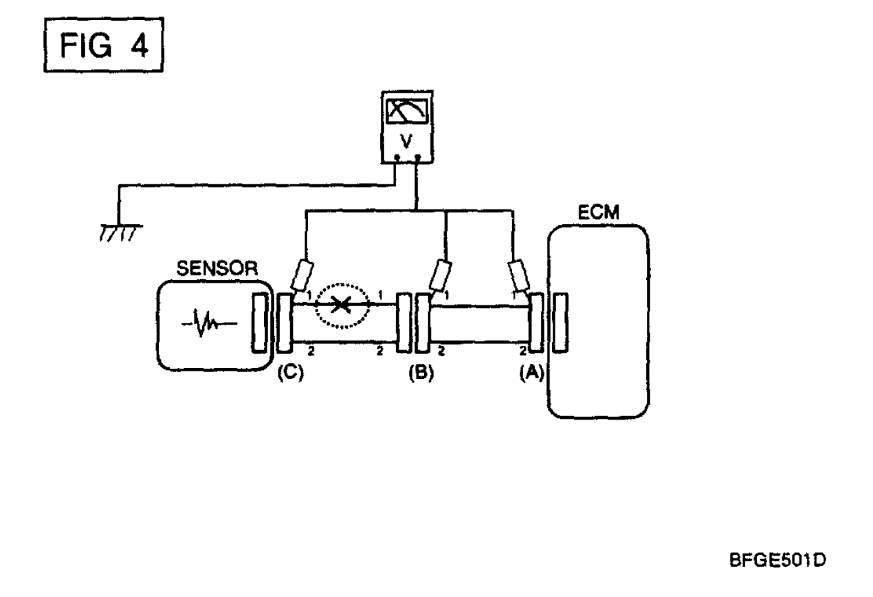
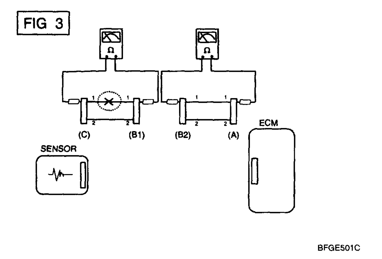
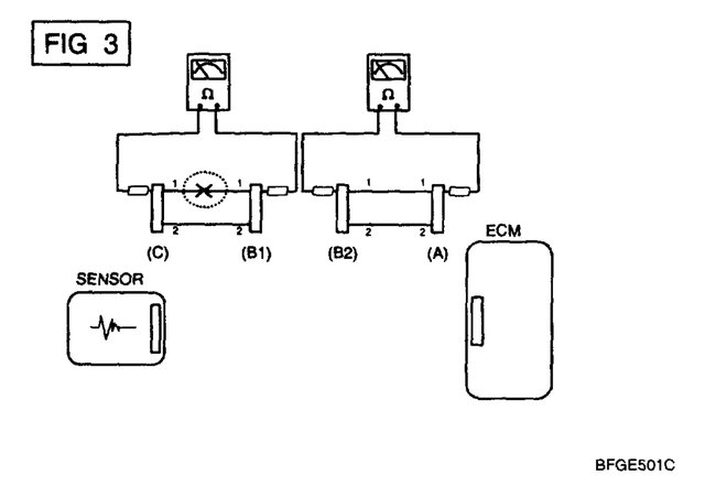
Okay, then you probably have an open or unwanted resistance somewhere in the CKP circuit or the Camshaft Position Sensor (CMP) circuit. In the diagrams down below I have included the CKP and CMP circuit's wiring diagram as well as instructions for finding an open in an electrical circuit. Please go through these guides and get back to us with what you are able to find out. You will need to use a multi-meter, so I have included this link for you below as well if you are unfamiliar with how to use one.

https://www.2carpros.com/articles/how-to-use-a-voltmeter

Thanks,
Alex
2CarPros
Jul 13, 2019 at 7:07 AM