Power windows

2002 CHEVROLET BLAZER
150,000 MILES
Avatar
DEEDUBP
  • MEMBER
  • 1 POST
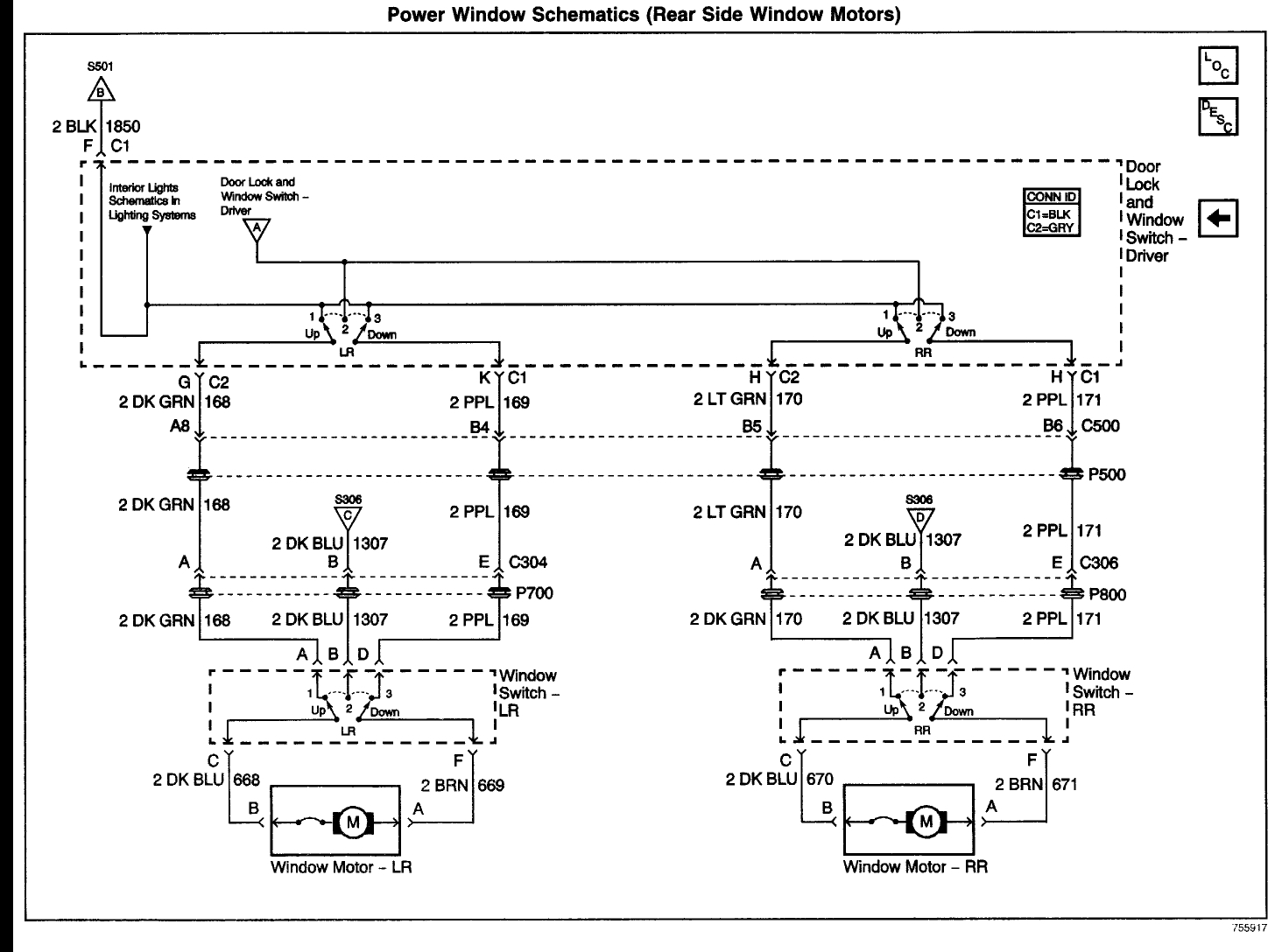
Driver side window switch, the wiring harness coming into the back seems to have no power. No other windows will work, even from their doors. I had already replaced the switch before realizing there was no power coming in. Locks, mirrors and everything else works. Is there a windows only fuse?
Apr 13, 2018 at 12:50 PM
Advertisement
Avatar
STEVE W.
  • CERTIFIED EXPERT
  • 15,113 POSTS
The common reason for this is caused by a broken wire in the boot between the door and the front body pillar. The door motion causes the wires to flex and break. The windows are all on a 30 amp PWR Win breaker in the fuse box under the hood. I have hardly ever seen one fail but it is possible. The broken wires I have seen a lot of.
The attached show the circuits. Primary power for all four windows is the dark green wire.
Apr 13, 2018 at 5:26 PM