Power steering pressure line

2003 ACURA MDX
180,000 MILES • 6 CYL • 4WD • AUTOMATIC
Avatar
TIVER11
  • MEMBER
  • 1 POST
Good afternoon. Where do I disconnect the power steering pressure line on the driver side? What tools do I need?
Dec 29, 2017 at 5:33 PM
Advertisement
Avatar
IMPALASS
  • CERTIFIED EXPERT
  • 3,112 POSTS
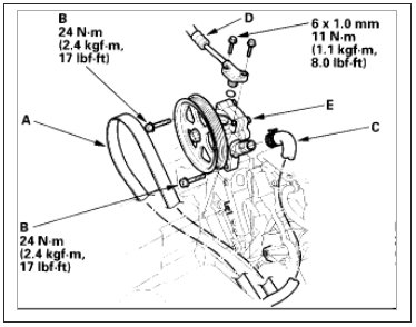
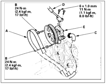
Removal and installation:
Replacement
Place a suitable container under the vehicle.
Drain the power steering fluid from the reservoir.

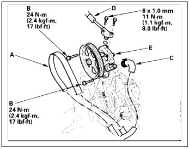
Remove the drive belt (A) from the pump pulley.
Remove the pump mounting bolts (B).
Cover the auto-tensioner, alternator, and A/C compressor with several shop towels to protect if from spilled power steering fluid. Disconnect the pump inlet hose (C) and pump outlet hose (D) from the pump (E), and plug them. Take care not to spill the fluid on the body or parts. Wipe off any spilled fluid at once. Do not turn the steering wheel with the pump removed.
Connect the pump outlet hose and inlet hose to the pump. Tighten the pump fittings securely.
Install the pump in the pump bracket with the mounting bolts.

Install the drive belt (A). Note these items during belt installation:
Make sure that the belt is properly positioned on the pulleys (B).
Do not get the power steering fluid or grease on the auto-tensioner, alternator, A/C compressor, and drive belt or pulley faces. Clean off any fluid or grease before installation.
Fill the reservoir to the upper level line.
Dec 29, 2017 at 8:50 PM
Avatar
IMPALASS
  • CERTIFIED EXPERT
  • 3,112 POSTS
I wanted to get what our manual shows to you first. Your other questions. If you see in the picture, letter C and D is the hose. It does not appear from what I see that you need any special tools.
Dec 29, 2017 at 8:56 PM
Advertisement