Power steering issue

2009 CHEVROLET IMPALA
271,000 MILES • 3.4L • 2WD • AUTOMATIC
Avatar
SAMUEL MCCUMBER
  • MEMBER
  • 1 POST
A few times in the last year I needed to top off my power steering fluid, and I think it would be worse if the vehicle would sit for a while without being driven.
As it is a high mileage vehicle, on my move across country we towed it on a vehicle trailer.
After driving it off the trailer, the power steering was extremely tight, and I drove it around the parking lot to see if it would clear up. After nothing changed, I parked it and opened the power steering cap and it was very bubbly and foamy. I'm guessing its either an issue with a hose or the pump itself, but how can I test it?
I also wonder how sitting on a trailer might have affected the vehicle in some way, whether it be the changes in altitude going through mountains or strain from being strapped to a trailer and driven from Chicagoland to Florida.
Aug 30, 2020 at 7:03 PM
Advertisement
Avatar
JACOBANDNICKOLAS
  • CERTIFIED EXPERT
  • 110,175 POSTS
Hi,

The trip shouldn't have caused this kind of a problem. If there were a lot of air bubbles in the pump, it sounds like there is an air leak at some point. I do have a test procedure which I will attach, but it is somewhat involved. I'm not sure you will have the test equipment to perform it.

Are there any leaks that you are aware of? Do you feel the assist work on and off or is there no power assist at all? Have you confirmed the belt is tight and turning the pump properly? Is there anything that causes it to begin working? Let me know anything you can think of. Also, let me know if the system was low. We can try to bleed the system to see if that changes anything, but I need to know the answers to the aforementioned questions before we do that.

Here are the diagnostics. Let me know if it is something you feel comfortable doing. The attached pics are the actual diagnostics.

_________________________________________________________

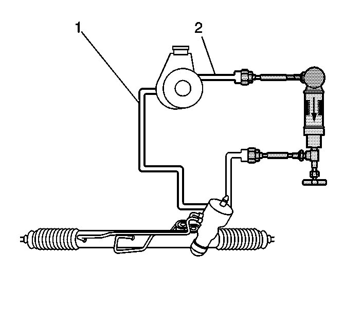
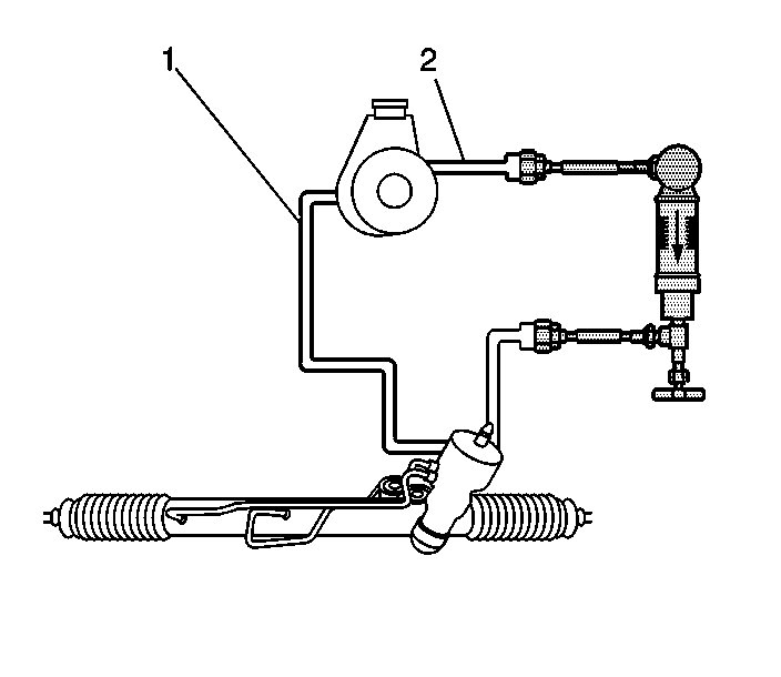
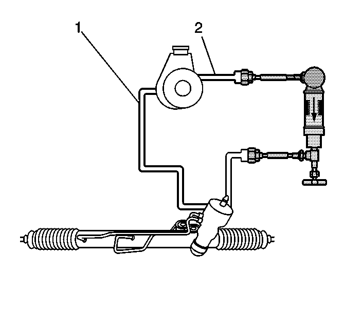
2009 Chevrolet Impala V6-3.5L
Power Steering System Test
Vehicle Steering and Suspension Steering Testing and Inspection Symptom Related Diagnostic Procedures Power Steering System Test
POWER STEERING SYSTEM TEST
Power Steering System Test

pic 1


pic 2

1 - Power Steering Return Hose
2 - Power Steering Pressure Hose

Test Description

The numbers below refer to the step numbers on the diagnostic table.
5. This step tests the system for restrictions.
7. This step tests the following components for the following conditions:

* The pump for internal leaks
* The power steering pipes for kinks

8. This step tests the ability of the pump to regulate flow at maximum pressure.
10. This step tests the ability of the pump to regulate flow under normal operating conditions.
12. This step tests the internal components of the pump and the gear.


pic 3



pic 4

_________________________________

Let me know.
Joe

Aug 30, 2020 at 7:47 PM