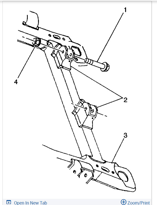
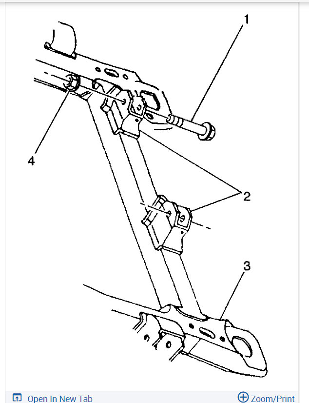
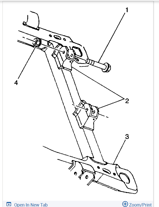
Hey everyone, I have the car listed above that has been giving me problems all year. It all first started when I went to start it one day and it blew out the input seal to the rack and pinion, I replaced the seal and pump thinking maybe the pump was bad. A few months later the seal blew again so I replaced it thinking maybe just a bad seal. I have since replaced it 2 other times and it still keeps randomly blowing the seal out when I start the car. Last week I replaced the rack and pinion, and it didn't even make it the whole week before it blew again. Any ideas or advice would be awesome, thanks!
Oct 16, 2024 at 2:38 PM





