All of a sudden power windows, seats, turn signals, hazards, and power locks stopped working

2009 NISSAN MURANO
105,898 MILES • V6 • 4WD • AUTOMATIC
Avatar
DEBLLEGGS
  • MEMBER
  • 1 POST
One day i woke up to my power windows, seats, turn signals, hazards, power locks not working. Is it a fuse? I changed most fuses. But i don't see a fuse for any of them.
Jan 5, 2020 at 2:40 PM
Advertisement
Avatar
TOUGHDIVER
  • CERTIFIED EXPERT
  • 224 POSTS
Hi,

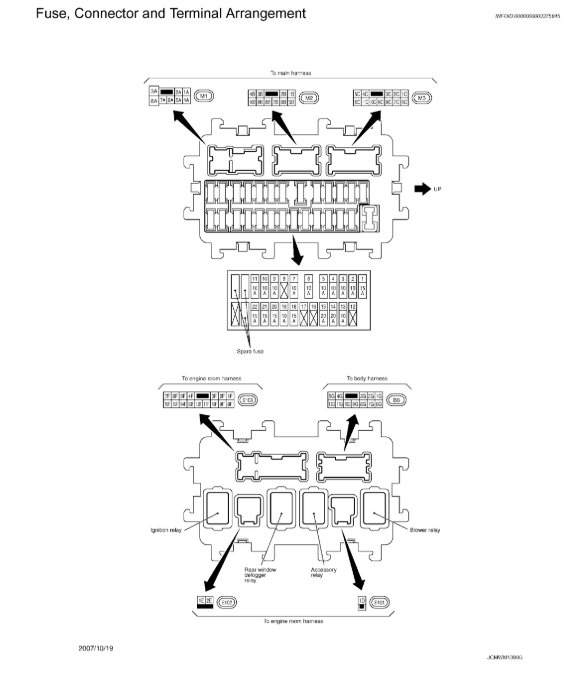
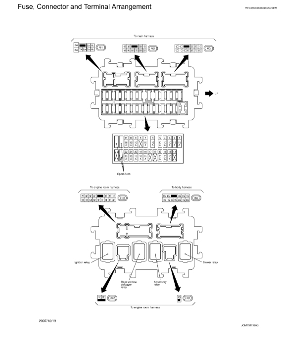
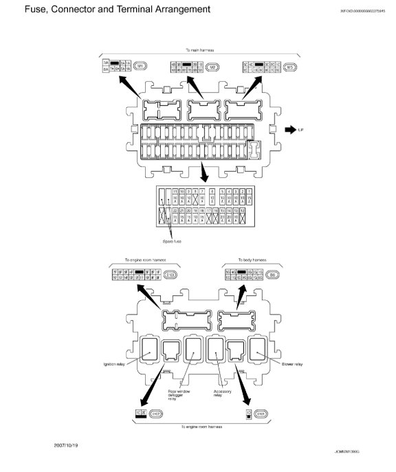
It is possible the larger fused link L/40 amp under hood fuse block is blown or BCM fuse 10-10A,fuse 3-10A,fuse 19-10A, fuse 7-10A left end of dash that my have blow, I'm attaching fuse box location, wiring diagrams and links below for you to reference,let us know if this information was helpful and what fixed your vehicle. If you need more information let us know.

https://www.2carpros.com/articles/how-to-check-a-car-fuse

https://youtu.be/lBhH1iuFjVM

https://youtu.be/Q-uZmFWzenM

Jan 7, 2020 at 12:38 PM