Hello,
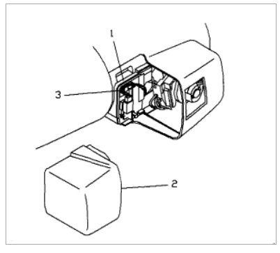
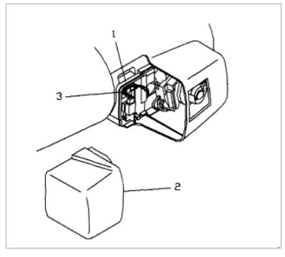
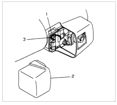
Here are the instructions on how to change out the ignition switch I would get the new one from the dealer be sure to bring the VIN number so they can program it for you before you install it. Check out the diagrams (Below). Please let us know if you need anything else to get the problem fixed.
Images (Click to enlarge)
May 23, 2010 at 12:55 PM