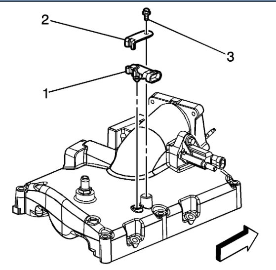
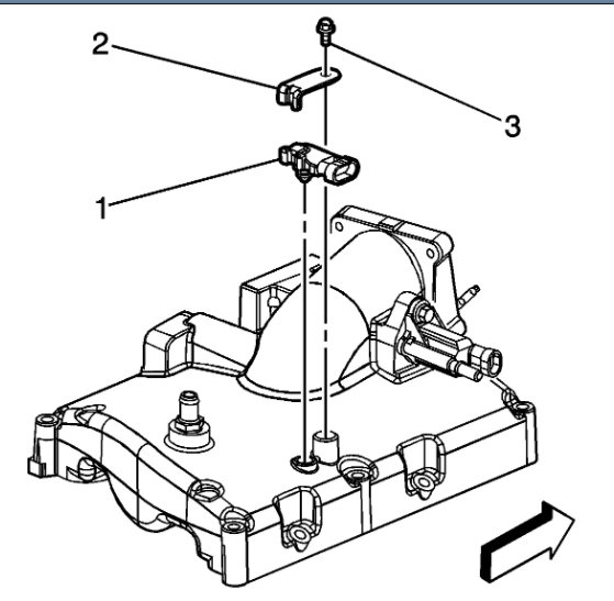
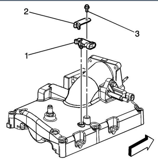
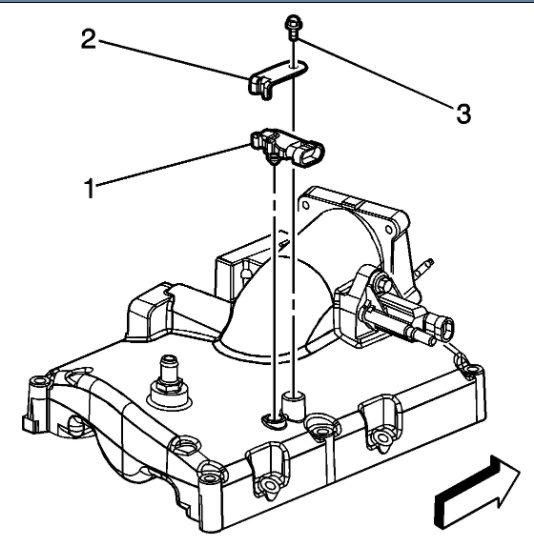
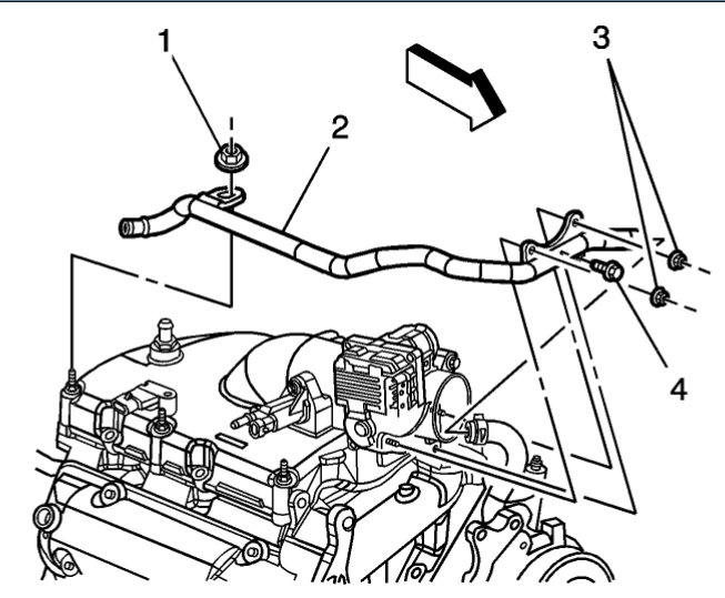
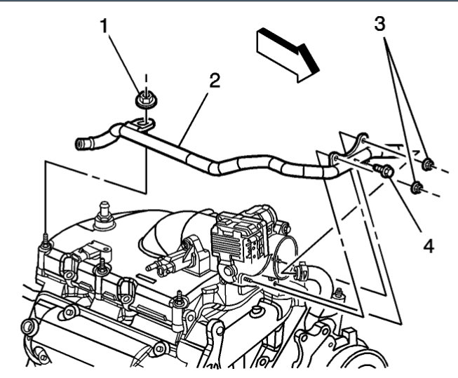
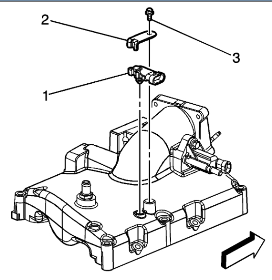
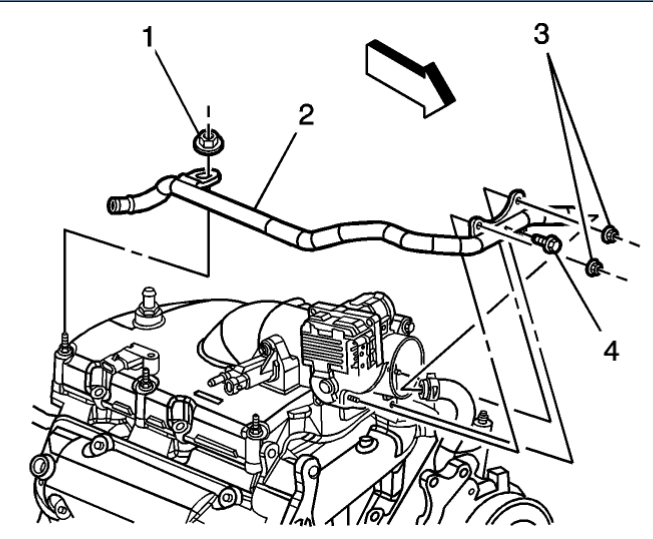
while removing the map sensor to replace it with a new one, the piece with the rubber on it broke and fell inside the hole into the engine. will this do any damage? i installed the new one anyway, but i was unable to remove the broken piece from the old one, it is still inside the hole. i was able to drive home with no problems and smelled some rubber burning through the A/C vents.
Aug 30, 2017 at 9:24 AM

























