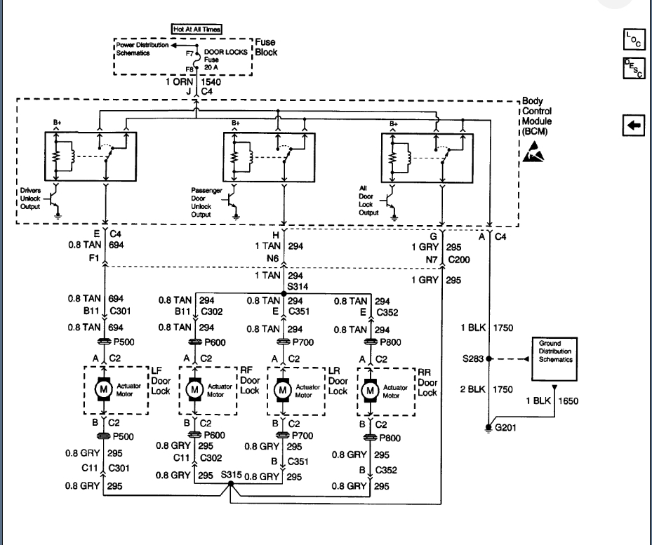
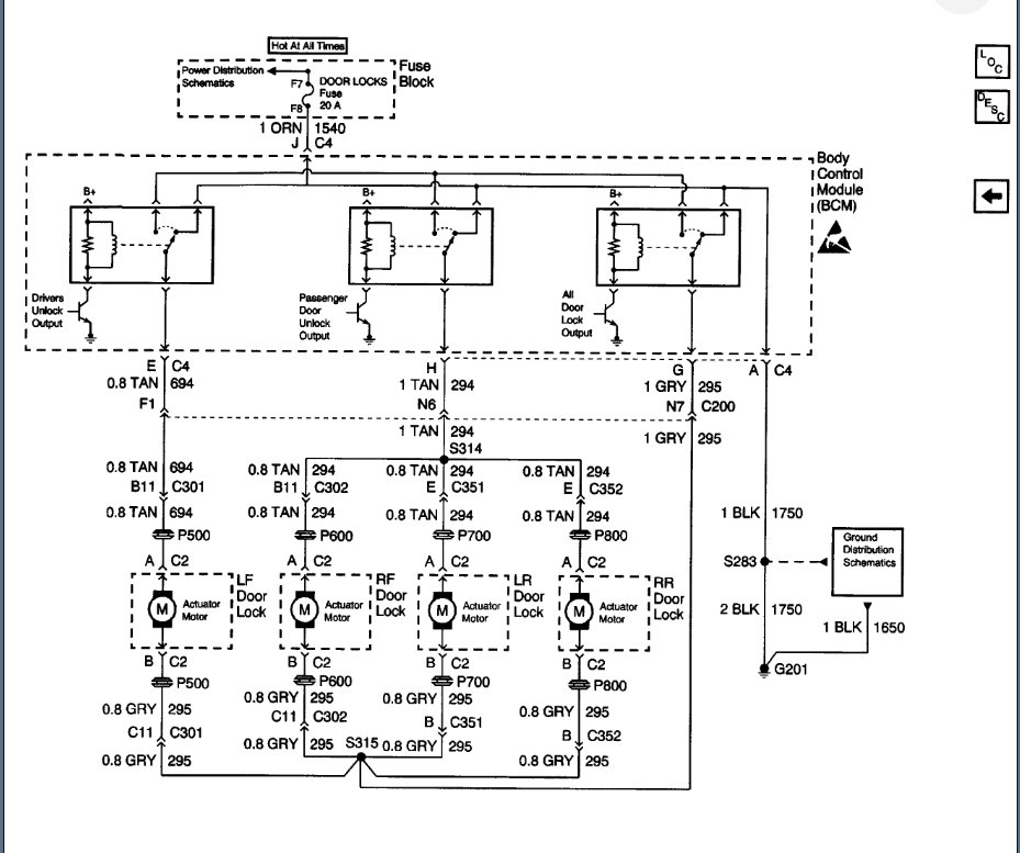
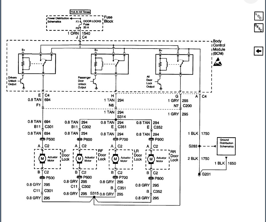
Sorry for the delay. 2+2 is not equaling 4 on this. I suspect we have the wrong connector on the wiring diagram. The connector that you unplug to cause the the fuse not to blow, is not C4.
Let's try to confirm that. Can you put a new fuse in, unplug that connector so it doesn't blow and then operate the door switches (with the connector of the doors all plugged back in, obviously)? If everything on the door, specifically the locks, work then the connector that we are looking at on the wiring diagram is not correct.
At that point I would like to try to limit the connector that causes the fuse to blow down to one circuit. So let me know how you are at either taking that connector apart to remove the circuits one at a time or we can just clip the wires if you can solder them back together. Basically we just need to clip one of the wires, put in a new fuse and see if it blows. If it does, we fix that one and clip the next one (don't leave them all cut because we don't want to risk crossing them when putting them all back together). Then continue this until we have one wire cut and the fuse does not blow. Then we can figure out what circuit that is.
Apr 11, 2020 at 7:11 AM