Passenger rear window only works with door switch

2002 HONDA CIVIC
65,700 MILES • 1.7L • 4 CYL • 2WD • AUTOMATIC
Avatar
NEIL2002CIVIC
  • MEMBER
  • 119 POSTS
Hi, the right rear window works with only the door switch, but not the master on drivers door. Where do i start? Thanks, Neil
May 1, 2019 at 12:43 PM
Advertisement
Avatar
STRAILER
  • CERTIFIED EXPERT
  • 53,854 POSTS
Hello Neil,

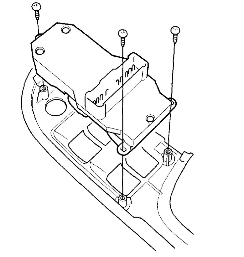
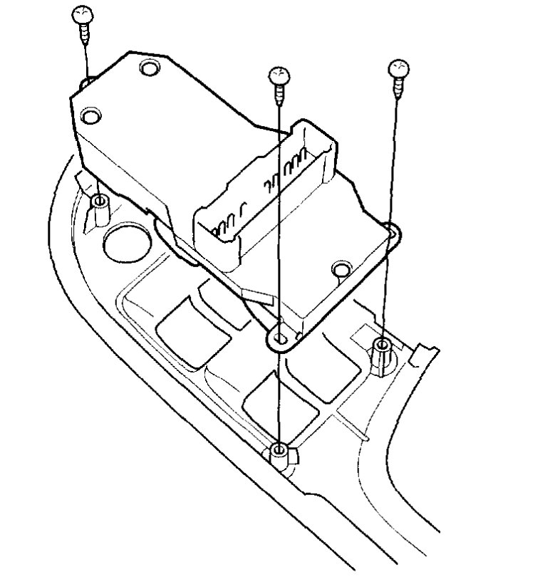
This sounds like a classic master door switch failure but to be sure here is a guide to help walk you through the testing and the master switch replacement diagrams and instructions below.

https://www.2carpros.com/articles/electric-window-repair

Check out the diagrams (Below). Please let us know what happens.
May 2, 2019 at 2:27 PM