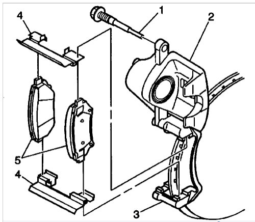
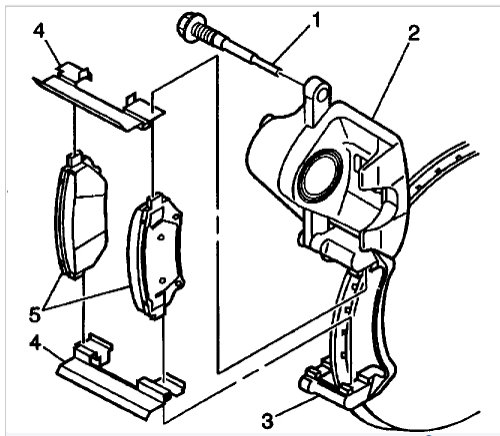
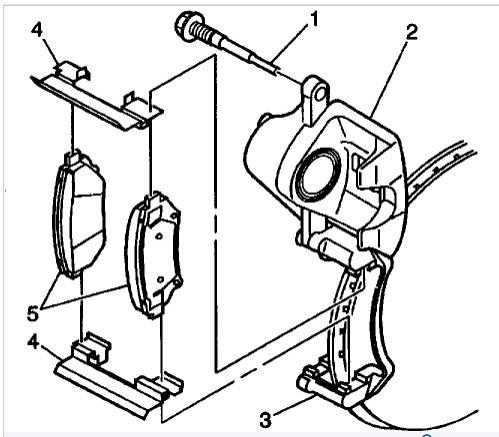
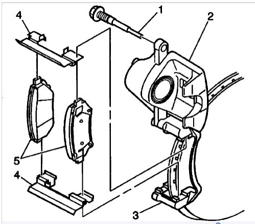
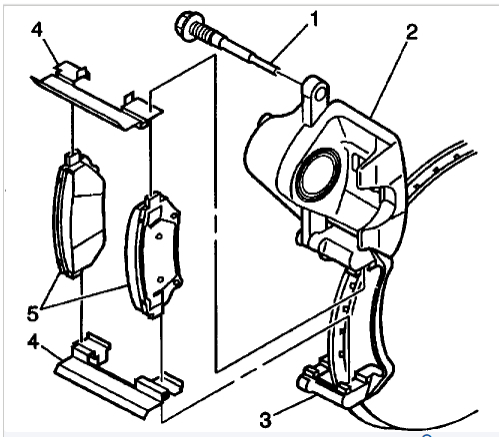
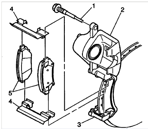
I'm looking for Power Stop carbon Fibre pads and rotors for the rear tires. I find for the front tires and not for the rear tires. Where can I find these pads and rotors?
Apr 9, 2021 at 6:38 PM


















