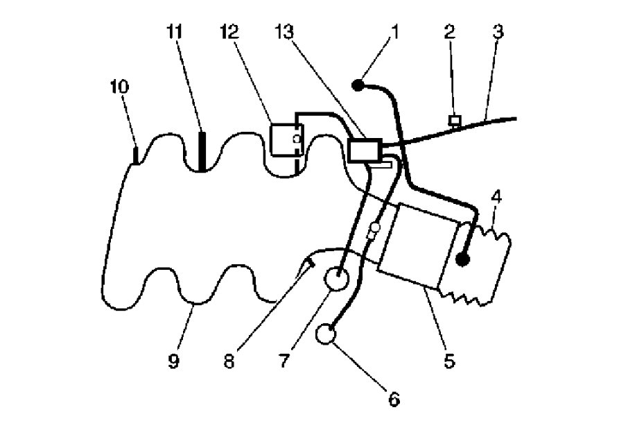
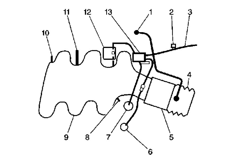
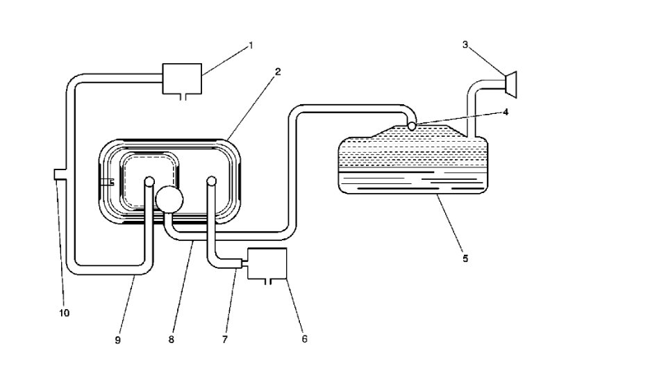
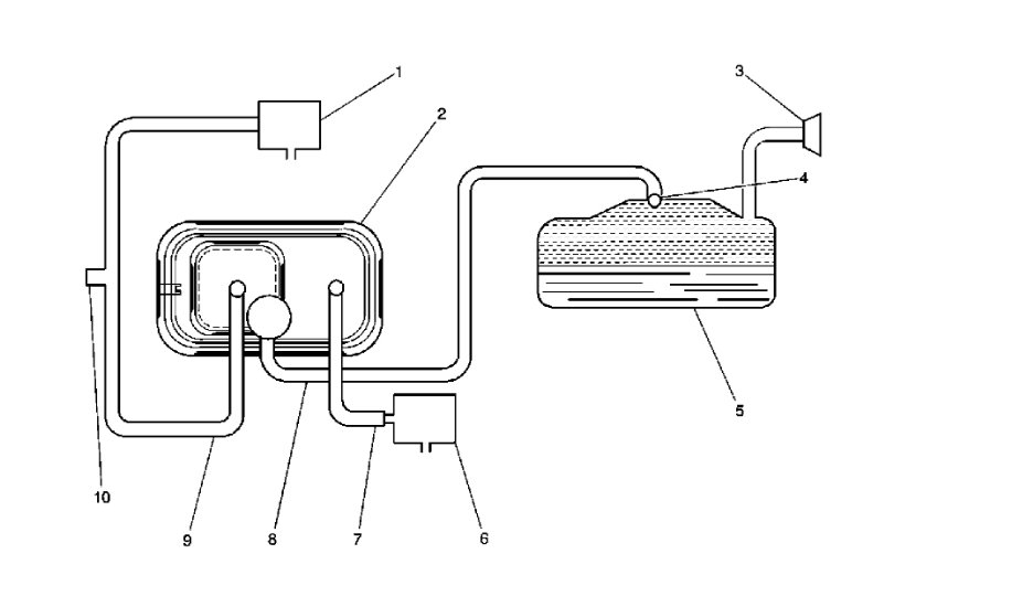
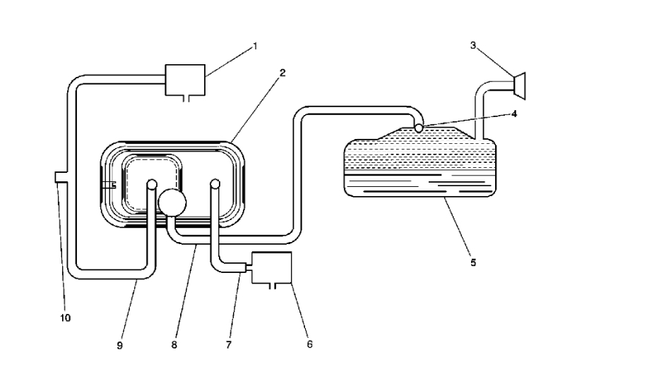
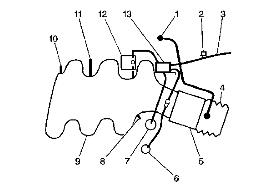
I am getting the the p171 code. Fuel mixture too lean. So far I have replaced the mass air flow sensor, fuel regulator and the upstream oxygen sensor. The light stayed off for about 150 miles then came back on. I started to look for a vacuum leak. I noticed that their is a hose that is below the fuel pressure regulator that isn't connected to anything. Did I maybe disconnect this when putting in the regulator? Before I remove parts I may be asking a dumb question but would there be any reason why that hose is not connected to anything? Thanks in advance. Also, is there anything else that you would have me check? I have the downstream oxygen sensor as well but haven't had time to put it in. I tried the other night but it was very stubborn and I had to work the next day. Also will be changing out the fuel filter this week.
Apr 14, 2019 at 11:21 AM



