Hi,
The code indicated keep alive battery voltage to the ECM is lost. Battery positive voltage is supplied to the ECM even when the Ignition switch is off. For this code to set, you have an open or short in the back up power source circuit.
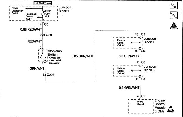
I attached a schematic for the system. You will need to check connections at the ECM for damage, pushed in pins, corrosion, and that it is tight. Next, picture 2 and 3 are a flow chart to help locate the problem specific to this code. Interestingly, if this code is set, no other codes will be indicated.
Please keep in mind, the ECM itself may have failed.
_____________________________
Take a look through the flow chart and let me know if it helps or if you have other questions. Keep in mind, the ECM sends out a 2 volt pull up on the brake signal circuit. If there is power lost to that circuit, it can cause the issue.
Images (Click to enlarge)
Nov 20, 2019 at 9:03 PM