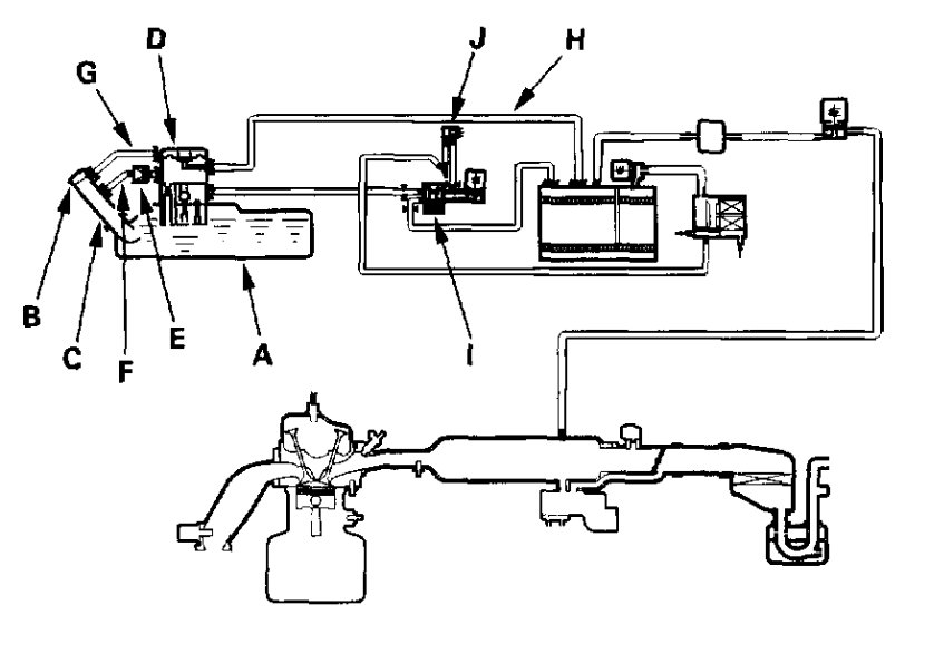
i have code p 1456 on my car. i have replaced two hoses , gas cap , and vapor canister. the code will not disappear . I have literally checked every tube, hose, solenoid , two-way valve , filler tube , gs tank connection , fuel filter , nothing is wrong . I did smell gas fumes , until I repaired the three items I mentioned . what else could it be? I need a smog and wont pass without fixing this. trying to avoid paying for a smoke EVAP test .
May 15, 2019 at 8:38 PM

















