Output shaft seal right replacement?

2006 CHEVROLET MALIBU
166,000 MILES • 3.5L • V6 • 2WD • AUTOMATIC
Avatar
METAPINK
  • MEMBER
  • 25 POSTS
I was told I need to replace the output shaft seal right. I'm getting confused with crankshaft, axle, etc., terminology, which seems to be interchangeable in some cases?
Because of a lot of wet splatters around this area on passenger side of the car I assume this is the "output shaft seal (right)" that the car shop was talking about. And it is also the right axle that needs to be removed to replace it. Seems like this might be a very delicate job and may require replacing transmission oil too?
Feb 20, 2024 at 11:19 PM
Advertisement
Avatar
BORIS K
  • CERTIFIED EXPERT
  • 836 POSTS
Hello,

Your vehicle should be fitted with them 4T65E 4-speed transmission.

Front Wheel Drive Shaft Oil Seal Replacement - Right.

Tools Required
-J 6125-B Slide Hammer
-J 23129 Universal Seal Remover
-J 29130 Axle Shaft Seal Installer
-J 37292-B Axle Seal Protector

Removal Procedure
1.Raise and support the vehicle.
2.Remove the right front tire and wheel.
3.Remove the right stabilizer shaft link from the right lower control arm.
4.Remove the right tie rod end from the right steering knuckle.
5.Remove the right lower ball joint from the right steering knuckle.
6.Remove the right drive axle from the transaxle.
7.Secure the right drive axle to the right steering knuckle and the strut.
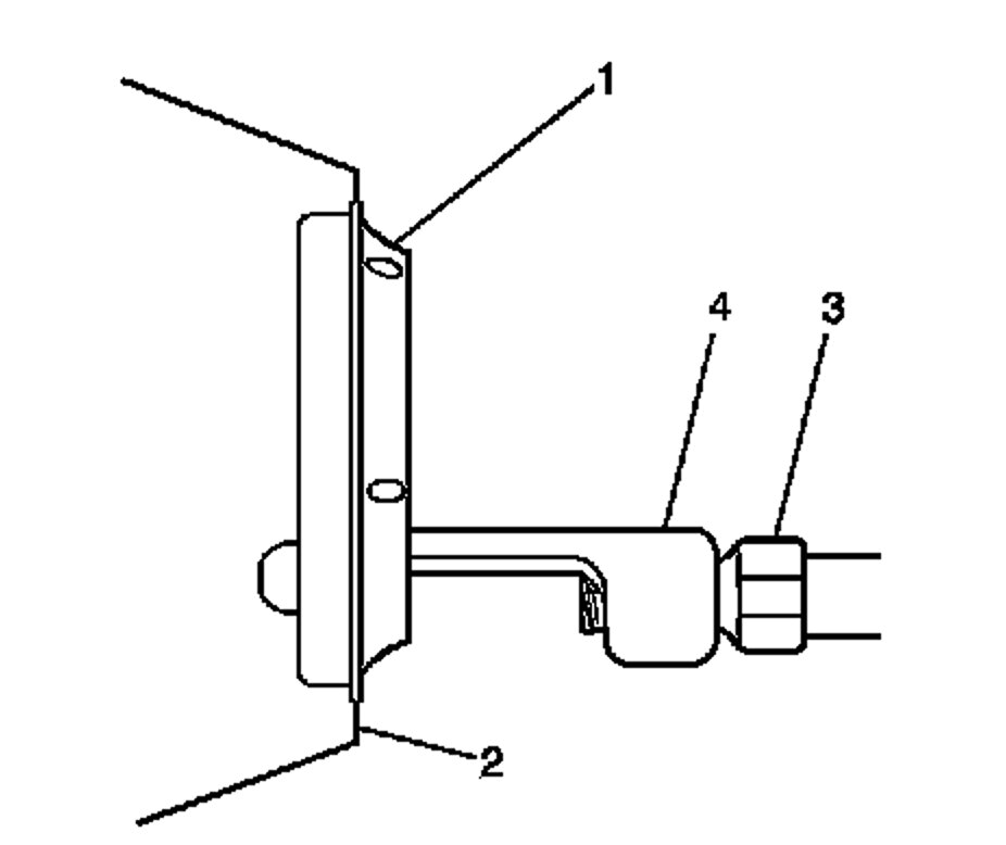
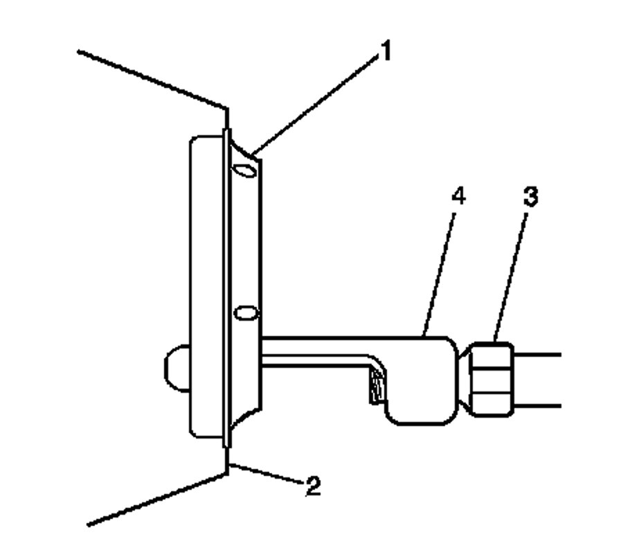
8.Use the J 6125-B (3) and the J 23129 (4) to remove the oil seal (1) from the extension housing (2). See image 1below

Installation Procedure
1.Lubricate the seal lip with transaxle fluid.
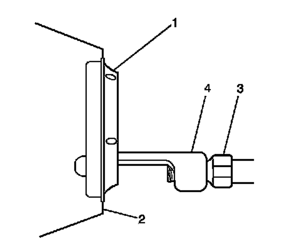
2.Install J 37292-B in the seal (4).
3.Use J 29130 to install the new seal (4).
4.Remove the J 37292-B
See image 2 below

Important: Carefully guide the axle shaft past the lip seal. Do NOT allow the shaft splines to contact any portion of the seal lip surface.

5.Install the drive axle to the transaxle.
6.Install the right lower ball joint to the right steering knuckle.
7.Install the right tie rod end to the right steering knuckle.
8.Install the right stabilizer shaft link to the right steering knuckle.
9.Install the right front tire and wheel.
10.Lower the vehicle.

Notice: Refer to Do Not Overfill the Transmission Notice in Service Precautions.

11.Check and fill the transaxle fluid as necessary.
12.Inspect for fluid leaks.

How to check transmission fluid and fill:
https://www.2carpros.com/articles/how-to-check-and-add-transmission-fluid


Hope this helps

Cheers, Boris
Feb 22, 2024 at 7:29 AM