cylinder not firing.

1988 OLDSMOBILE 98
Avatar
TRAMELLBUIE
  • MEMBER
  • 1 POST
Engine Mechanical problem
1988 Oldsmobile 98 6 cyl Front Wheel Drive Automatic 140k miles

all new parts/margel,coilpak,bainbox,timingchain and tenchener,wires,plugs and more.
Feb 23, 2009 at 7:57 PM
Advertisement
Avatar
RASMATAZ
  • CERTIFIED EXPERT
  • 75,992 POSTS
Check the compression and injector for no.3/6 cylinder

https://www.2carpros.com/articles/engine-misfires-or-runs-rough

Engine misfiring can be caused by worn or fouled spark plugs, a weak spark (weak coil, bad spark plug wire), loss of compression, vacuum leaks, anything that causes an unusually lean fuel mixture (lean misfire), an EGR valve that is stuck open, dirty fuel injectors, low fuel pressure, or even bad fuel.
Feb 23, 2009 at 8:29 PM
Avatar
TRAVISMRO
  • MEMBER
  • 1 POST
I Just recently purchased the car and guy said it has an injector issue. I put over 1,000 miles on it with little problems. Runs rough at idle and will shut off. Always starts back up. Once I had trouble getting the car to start after it had shut off on me but it started back up fifteen minutes later. I just recently " ran out of gas" or at least thought I did. Put five gallons in the tank and it would not start. Will not run off of starting fluid either.
Nov 1, 2017 at 7:57 PM (Merged)
Advertisement
Avatar
JACOBANDNICKOLAS
  • CERTIFIED EXPERT
  • 110,175 POSTS
If it won't run with starting fluid, you lost spark to the plugs. I believe in 88 they still had an ignition control module. That would be my first suspect.
Nov 1, 2017 at 7:57 PM (Merged)
Avatar
2CP-ARCHIVES
  • MEMBER
  • 4,540 POSTS
1991 Olds 98 3.8 mileage: 111,941. My car will not start after the engine cools down. The mechanic has replaced the crankshaft, camshaft sensors, IGN module and computer. He has checked for electrical problems. Computer shows everything is fine. He has been working on it for about three weeks. Originally, it burned up the two sensors and the module and he does not know why it did that. He is really stumped. Any ideas? Even tried a new coil pack. Two mechanics now stumped. They have asked several GM mechanics in the area as well.
Nov 1, 2017 at 7:59 PM (Merged)
Avatar
2CP-ARCHIVES
  • MEMBER
  • 4,540 POSTS
You need to check and see if you have fuel pressure when the car will not start. If you don't have any pressure you will need to replace the fuel pump and filter. Also, check to see if you have spark when the car will not start. Then check to see if you have electrical pulse to the injectors when the car will not start. If the windings in the fuel injector have shorted, the electrical draw from the computer by that injector will burn out the computer. Each injector should be checked with an Ohmmeter for proper resistance. Also, with an Ohmmeter, check the ground connections to the computer. Finally, check the alternator for a failing diode. If a diode is weak, AC volts can leak out and cause havoc with a computer. A computer is designed to work on DC volts.
Nov 1, 2017 at 7:59 PM (Merged)
Avatar
FERALGOAT
  • MEMBER
  • 6 POSTS
I have a 1985 oldsmobile 98 regency brougham and I took out the old non working radio and installed a new one, but i done all of this with the battery terminals left on, now the radio works fine but the car just turns over, like it's not getting any spark, it will not start, what could cause this
Nov 1, 2017 at 7:59 PM (Merged)
Avatar
JDL
  • CERTIFIED EXPERT
  • 16,098 POSTS
If it cranks good, but, won't start, have a helper crank it, while you check for spark at the plugs. To check for spark, you can take a spark plug wire loose from spark plug, use a known good spark plug or spark tester in the boot, Ground metal part of tester to metal part of engine, watch for spark, engine cranking.

As far as the radio, did you just unplug the old one and plug-in the new one. You didn't cut or splice any circuits, did you?
Nov 1, 2017 at 7:59 PM (Merged)
Avatar
FERALGOAT
  • MEMBER
  • 6 POSTS
When I turn the key the engine cranks, but wont start, I will check for spark next! Yes I cut the wires I have done 4 or 5 radio swaps before and have had no problem, even with the battery still hooked up, thanks
Nov 1, 2017 at 7:59 PM (Merged)
Avatar
FERALGOAT
  • MEMBER
  • 6 POSTS
I just check for spark and have none :(
Nov 1, 2017 at 7:59 PM (Merged)
Avatar
JDL
  • CERTIFIED EXPERT
  • 16,098 POSTS
Check fuse 9--15amp in the fuse, is it blown, Use a voltage tester, any voltage there with the key on?

The pink wire at you ignition module should be hot with the key on, is it?
Nov 1, 2017 at 7:59 PM (Merged)
Avatar
JEREMY ADAMSON
  • MEMBER
  • 2 POSTS
car will start fine first start up of the day however after i turn the car off it will not start again for about three hours, which is fine if i go to work but i cannot go get groceries with it.
It does not matter if the engine is running for thirty seconds, five miles or five hundred miles once i turn the car off it will not start again.
Nov 1, 2017 at 7:59 PM (Merged)
Avatar
FERALGOAT
  • MEMBER
  • 6 POSTS
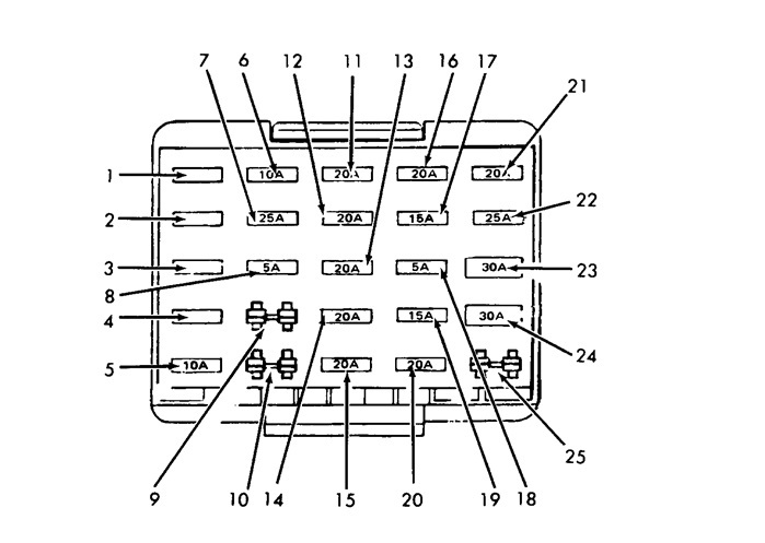
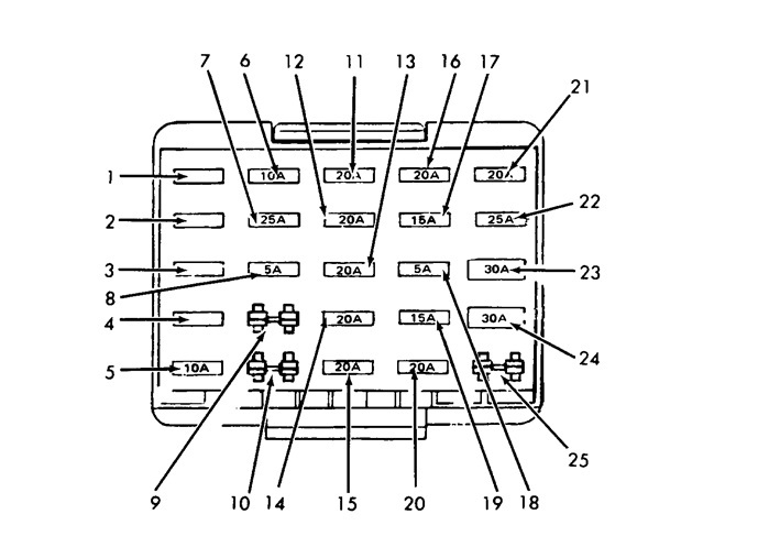
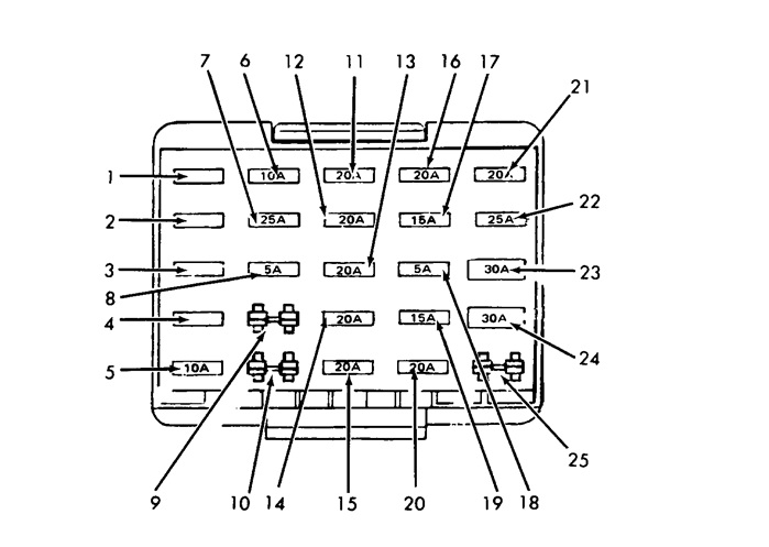
Sorry for my ignorance but will a multimeter do the same thing?and where might I find the ignition module? your probably bangin your head at these questions but i really appreciate your help!! Also my fuse box dosent exactly look like that I dont know if that makes a difference, the #5 10 amp is not mine, im also a little confused as to why the #9, 10, and 25 fuses look the way they do. Thanks again.
Nov 1, 2017 at 7:59 PM (Merged)
Avatar
HMAC300
  • CERTIFIED EXPERT
  • 48,601 POSTS
check fuel pressure when it does this pump may be freezing up should be 41-47 psi or go under car and bang bottom of tank with hand and see if it starts if it does you probably need a pump.
Nov 1, 2017 at 7:59 PM (Merged)
Avatar
JDL
  • CERTIFIED EXPERT
  • 16,098 POSTS
Sometimes these databases are not always correct,but, it is all I have to go by. Just check for any blown fuses.

With dis ignition, check for voltage at the coil pack, where the spark plug wires come from.

Nov 1, 2017 at 7:59 PM (Merged)
Avatar
JEREMY ADAMSON
  • MEMBER
  • 2 POSTS
i havent had a chance to do this yet and i can hear the fuel pump running although today makes me think it has something to do with the engine temp my model has a digital gauge that seems to read correctly however today while driving home from work i had to sit idle waiting for a train when it suddenly back fired then died the temp was 1 bar over half it started right away which surprised me... about a mile down the road it stalled again with a series of backfires while moving at 55mph and wouldn't restart i noticed at that time the cooling fans wern't on about 15mins later while being towed home the temp dropped to 1/4 and i tried to start it again it backfired twice then started running fine i made it the rest of the 15miles home and it started to backfire again with the temp 1 bar above half here at home i disconnected the battery and fiddled with some wires on the temp sending unit attemped to restart the car and it started to my supprise the ac pump started clicking on and off and the cooling fans were running again.. the temp guage was at 1/4 again i have only owned the car a week and this whole time the ac has never tried to kick on and i never noticed whether or not the cooling fans were kicking on but i have read if the car starts to overheat that it disables the AC

my question is does this car have 2 temperature sending units? one for the gauge and one for the pcm?

the guy i bought the car from told me that this part (temp sending unit on intake manifold) crumbled when he touched it so he went to autozone and the guy there told him it was a knock sensor and gave him the part and he replaced it... is there a knock sensor that looks like a temp sensor? cause i thought they looked nothing alike but maybe im wrong

sorry for the long post thanks again

PS:
i lifted these codes off the SES

41- cylinders select error- mem-cal or ecm problem ( fuel-injected models
41- cam sensor circuit (3.8 engine)

31- park/neutral position (pnp) switch circuit

66- pressure sensor or circuit air conditioning
Nov 1, 2017 at 7:59 PM (Merged)
Avatar
FERALGOAT
  • MEMBER
  • 6 POSTS
Ok so I have spark on the plugs, there is 12 volts on the ignition module wire, and there is gas getting to the injectors, I also have 12 volts on the wire connected to the injectors, but in my fuse box there are two fuses that have to current going to them, and they are not blown, it would be # 8 and 25 on your diagram, thanks again for the help I am stumped!!!
Nov 1, 2017 at 7:59 PM (Merged)
Avatar
HMAC300
  • CERTIFIED EXPERT
  • 48,601 POSTS
those older cars the temp sender had two wires yellow and black and they would go bad form several things, you have a problem with the prom unit or ecm as well as cam sensor from your posts of codes. you probably also have very low fuel pressure the code 31 and 66 don't effect the engine running it's either a short in the system or a bad switches. the knock sensor has only one wire see pic on how to diagnose cam problem which may be more your problem due to age.coolant temp is single arrow knock sensor double
Nov 1, 2017 at 7:59 PM (Merged)
Avatar
JDL
  • CERTIFIED EXPERT
  • 16,098 POSTS
Use a noid lite, check for injector pulse. The computer controls the ground for injectors.

It is starting to sound like problem with ignition module. The radio may have been a coincidence?
Nov 1, 2017 at 7:59 PM (Merged)
Avatar
FERALGOAT
  • MEMBER
  • 6 POSTS
So it turns out it was just a fluke that it happened that way, because I changed my spark plugs and it's running fine now :) Thanks for all your help though!!!
Nov 1, 2017 at 7:59 PM (Merged)
Avatar
JDL
  • CERTIFIED EXPERT
  • 16,098 POSTS
Hey, good job. Glad you got it going.
Nov 1, 2017 at 7:59 PM (Merged)
Avatar
LAKEMAN2010
  • MEMBER
  • 3 POSTS
I have a Olds 98 with 170,000 miles on it. The car start and runs good with no warning lights or that type of thing. But twice now when I have gone to start it the car will turn over fine but will not start. Both times this has happen at night. When I have gone out the next morning to see what is wrong with the car it starts and run fine. It has not start twice now with about three weeks in between. What should I be looking for that could be causing this problem?
Nov 1, 2017 at 7:59 PM (Merged)
Avatar
RIVERMIKERAT
  • CERTIFIED EXPERT
  • 6,110 POSTS
Fuel injector or ignition relay failure. No fuel pressure when the problem occurs. No spark when the problem occurs.
Nov 1, 2017 at 7:59 PM (Merged)
Avatar
LAKEMAN2010
  • MEMBER
  • 3 POSTS
How do I check these when the cars is running fine?
Nov 1, 2017 at 7:59 PM (Merged)
Avatar
LAKEMAN2010
  • MEMBER
  • 3 POSTS
How do I check these out when the car is running fine?
Nov 1, 2017 at 7:59 PM (Merged)
Avatar
RIVERMIKERAT
  • CERTIFIED EXPERT
  • 6,110 POSTS
You don't. You check them when the problem occurs. Use a test light to check for injectors being pulsed. Use a screwdriver in the plug wire to check for spark. A fuel pressure gauge is needed to check fuel pressure.
Nov 1, 2017 at 7:59 PM (Merged)
Avatar
GDUTCHNAK
  • MEMBER
  • 1 POST
Engine Mechanical problem
1989 Oldsmobile 98 6 cyl Front Wheel Drive Automatic 35000 miles

I just bought a 1989 olds98 at an estate auction. The car has 35000 miles on it.It will start if I spray starting fluid in it but then dies once the fluid runs out. I have not worked on this car yet in fact I haven't brought it home yet because it won't stay running
Nov 1, 2017 at 7:59 PM (Merged)
Avatar
LEGITIMATE007
  • CERTIFIED EXPERT
  • 5,121 POSTS
try to listen, to the fuel pump come on when you turn the key to the on position, I have a feeling that you have a bad fuel pump. you may also want to check the fuel pump relay too. before condemning the pump
Nov 1, 2017 at 7:59 PM (Merged)