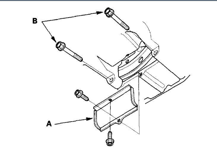
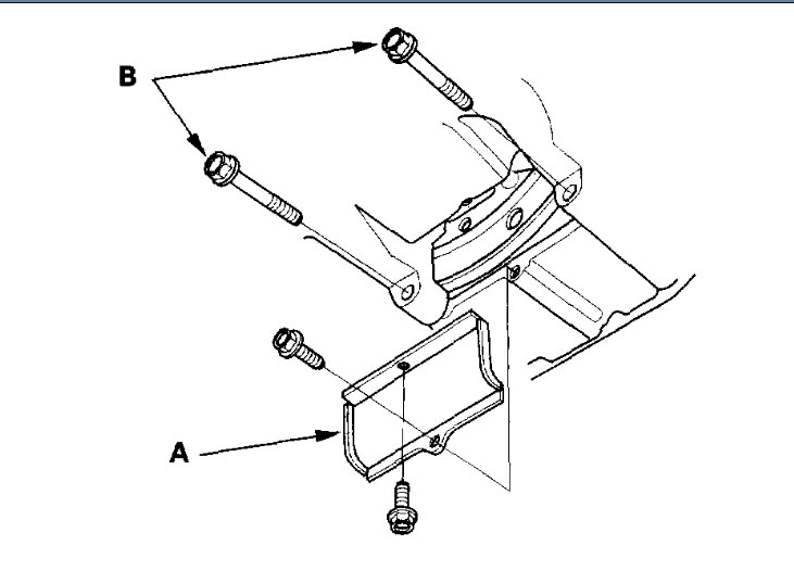
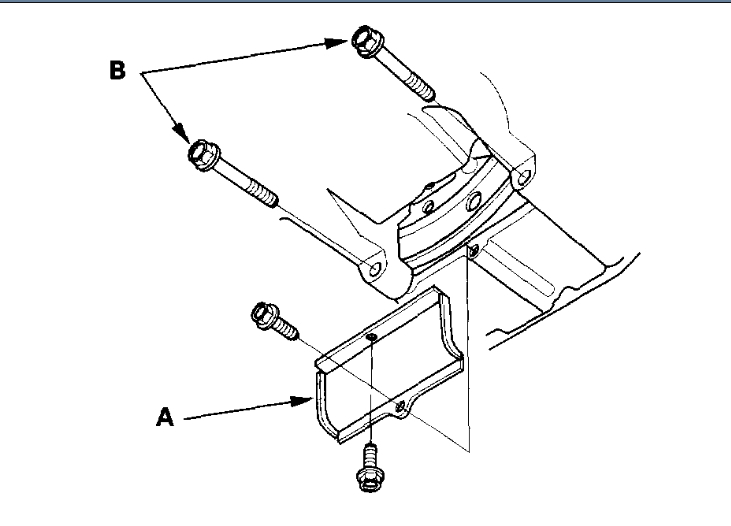
My mechanic said that I need my oil pan replaced but the bolts that need to be replaced are rusted. He is afraid to remove them because it may not work and could hurt the engine they are attached to.
Anyone had experience with type of situation?
Anyone had experience with type of situation?
Nov 2, 2019 at 1:05 PM


