No start when hot

2002 MAZDA 626
82,000 MILES • 2.0L • 4 CYL • 2WD • AUTOMATIC
Avatar
DLPHILLIPS
  • MEMBER
  • 8 POSTS
Hi, I believe I’m having a heat soak issue in my car. Apparently this model Eventually has no start issues when the car gets hot, but always starts right back up perfectly when in cools down. Many forums are reporting the same issues But none mention an exact cause. It’s very sporadic in my car but has definitely gotten worse the last year. Running a bunch of short errands is out of the question. My car only has 82,000 miles. I don’t want to get rid of it yet.
Oct 17, 2020 at 10:09 PM
Advertisement
Avatar
JACOBANDNICKOLAS
  • CERTIFIED EXPERT
  • 110,175 POSTS
Hi,

First, when it doesn't start, I would suggest seeing if you lost spark to the plugs. Often times, a bad crankshaft position sensor will fail when they get hot.

Take a look through this link:

https://www.2carpros.com/articles/symptoms-of-a-bad-crankshaft-sensor

Here are directions for testing your sensor. These are specific to your vehicle.

2002 Mazda 626 LX L4-2.0L DOHC
Component Tests and General Diagnostics
Vehicle Powertrain Management Sensors and Switches - Powertrain Management Sensors and Switches - Computers and Control Systems Crankshaft Position Sensor Testing and Inspection Component Tests and General Diagnostics
COMPONENT TESTS AND GENERAL DIAGNOSTICS
CRANKSHAFT POSITION SENSOR INSPECTION

Inspection of Resistance

1. Disconnect the battery negative cable.
2. Disconnect the crankshaft position sensor connector.


pic 1

3. Measure the resistance between terminals A and B using an ohmmeter.
- If not as specified, check related wiring harness. If they are okay, replace the crankshaft position sensor.

Specification: Approx. 550 ohms

Inspection of Air Gap

1. Verify that the crankshaft position sensor is installed correctly and securely.


pic 2

2. Measure the air gap between the crankshaft pulley teeth and the crankshaft position sensor using a feeler gauge.
- If not as specified, replace the crankshaft pulley or the crankshaft position sensor.

Specification: 0.5 - 1.5 mm {0.020 - 0.059 in}

___________________________________________

If you lose spark, chances are this is the problem. I have one more link and that explains how to check for spark. Note, if you have a live data scan tool, you can check to see if there is an RPM signal when it won't start. If there is no signal, then chances are this is the issue.

https://www.2carpros.com/articles/how-to-test-an-ignition-system

____________________________________________

Let me know what you find or if you have other questions. Also, I'm not sure if you have scanned the computer to see if there are diagnostic trouble codes stored. If the check engine light is staying on when the engine is running, have that done.

Take care,
Joe
Oct 17, 2020 at 10:21 PM
Avatar
DLPHILLIPS
  • MEMBER
  • 8 POSTS
Thanks for the response . I changed the crank shaft sensor yesterday evening. I ran a couple of errands. Today in the heat, and like clockwork it wouldn’t start again until I let it cool down. I didn’t take any measurements when I put it back on, it seemed to just screw into the same location. I know some have location adjustments but this one doesn’t.
Oct 17, 2020 at 10:31 PM
Advertisement
Avatar
DLPHILLIPS
  • MEMBER
  • 8 POSTS
Just to add; I checked for codes twice and nothing . I do see a very fast flicker of the check engine light once in a while.
Oct 17, 2020 at 10:32 PM
Avatar
JACOBANDNICKOLAS
  • CERTIFIED EXPERT
  • 110,175 POSTS
Hi,

It sounds like an electrical issue. Have you checked fuel pressure?

Also, it could be the ignition coil. Here are directions for testing it:

_________________________________________

2002 Mazda 626 LX L4-2.0L DOHC
Component Tests and General Diagnostics
Vehicle Powertrain Management Ignition System Ignition Coil Testing and Inspection Component Tests and General Diagnostics
COMPONENT TESTS AND GENERAL DIAGNOSTICS
IGNITION COIL INSPECTION

Primary Coil Winding
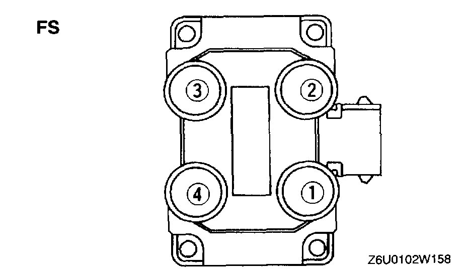
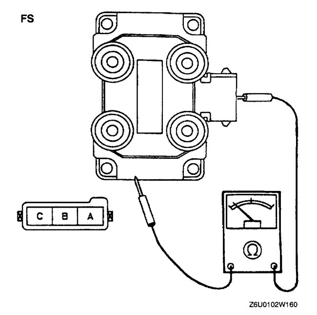
1. Disconnect the ignition coil connector.

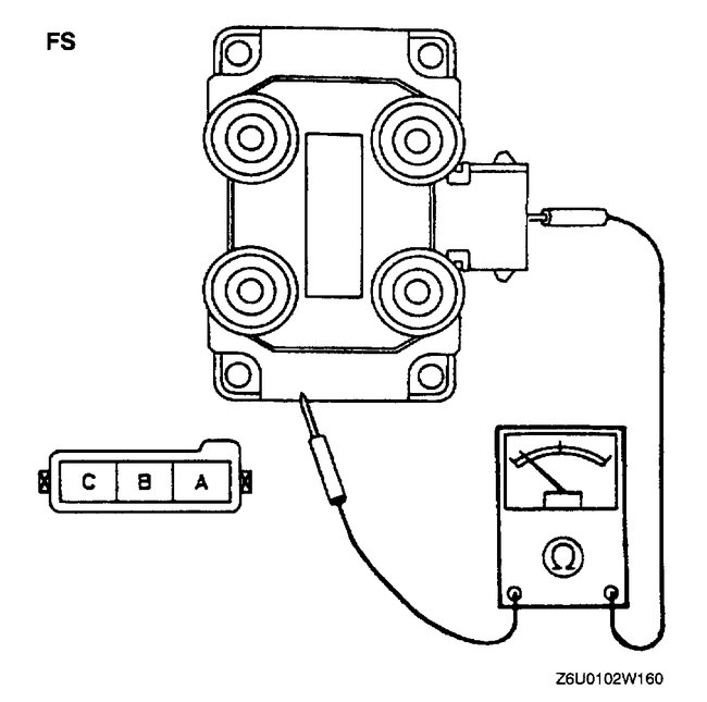
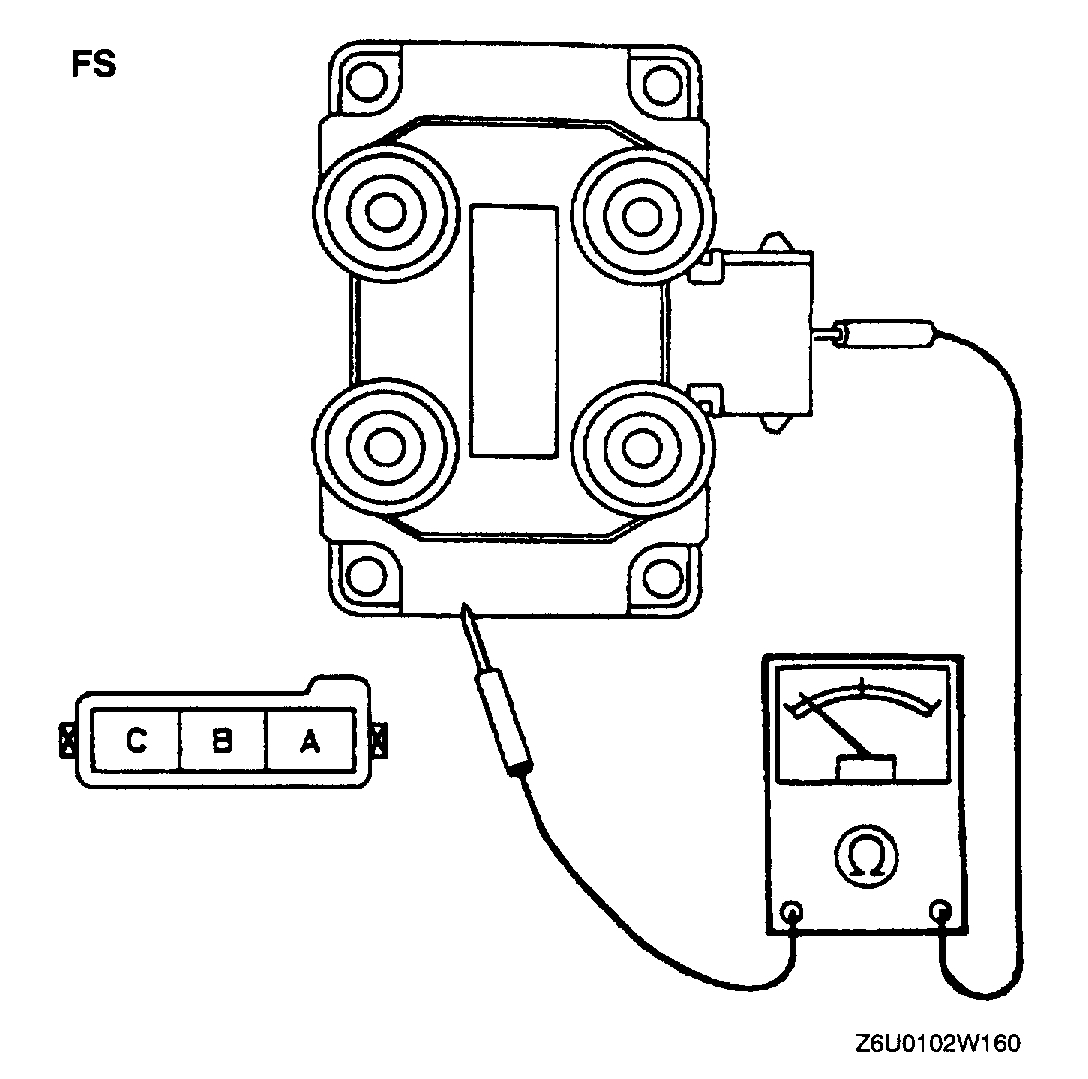
FS
pic 1

KL
pic 2

2. Measure the resistance using an ohmmeter.
1. From terminal A to B, and terminal B to C. (FS)
- If not as specified, replace the ignition coil.

2. From terminal A to D, and terminal B to D, and terminal C to D. (KL)
- If not as specified, replace the ignition coil.

Specification: 0.45 - 0.55 Ohm [20 °C {68 °F}]

Secondary Coil Winding
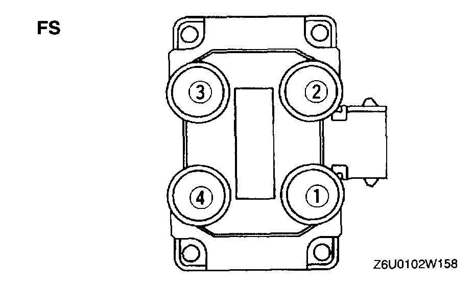
1. Disconnect the high-tension leads.

FS
pic 3

KL
pic 4

2. Measure the resistance using an ohmmeter.
1. From lead hole 1 to 4, and lead hole 2 to 3. (FS)
- If not as specified, replace the ignition coil.

2. From lead hole 1 to 4, and lead hole 2 to 5, and lead hole 3 to 6. (KL)
- If not as specified, replace the ignition coil.

Specification: 11.5 - 15.5 kilOhms [20 °C {68 °F}]

Insulation Resistance of Case

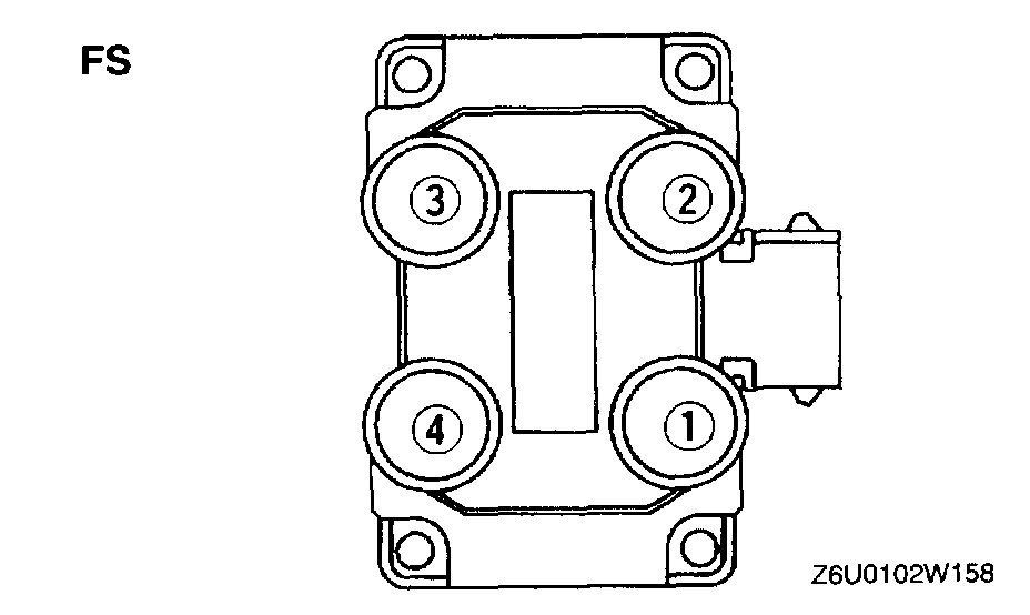
1. Disconnect the high-tension leads and ignition coil connector.

FS
pic 5

KL
pic 6

2. Measure the insulation resistance between terminal B (FS) or D (KL), and ignition coil case using an ohmmeter.
- If not as specified, replace the ignition coil.

Specification: Above 10 megohms

______________________

Let me know if this helps or if you have other questions.

Joe
Oct 17, 2020 at 10:51 PM
Avatar
DLPHILLIPS
  • MEMBER
  • 8 POSTS
Thanks. I will test the coil tomorrow . Are they known for heat issues? Not one of the forums I read on this issue mentioned checking the coil for this . Not that that means anything.
Oct 17, 2020 at 10:54 PM
Avatar
JACOBANDNICKOLAS
  • CERTIFIED EXPERT
  • 110,175 POSTS
Hi,

Interestingly, that wouldn't have been my first suspect. My first suspect was the crankshaft position sensor. What could help is if you check for spark and fuel when this happens. The easiest way to check is by seeing if it starts with starting fluid. If it does, then we know if it is a fuel related issue. If it makes no difference, then we would know it is likely ignition related (no spark).

Try that and let me know what you find. If you want, here are a couple links you may find helpful:

https://www.2carpros.com/articles/how-to-check-fuel-system-pressure-and-regulator

https://www.2carpros.com/articles/how-to-test-an-ignition-system

Let me know.

Joe
Oct 18, 2020 at 8:09 PM
Avatar
DLPHILLIPS
  • MEMBER
  • 8 POSTS
Thanks Joe. Yes, I thought it was the crankshaft sensor as well. When I changed it, it did seem to help . But after a few stops and errands , car was hot and the no start issue started again . But as I was driving I did see a couple of flickers of the check engine light , so maybe it is the coil pack . I went ahead and ordered one from Rockauto.
Oct 18, 2020 at 8:29 PM
Avatar
JACOBANDNICKOLAS
  • CERTIFIED EXPERT
  • 110,175 POSTS
Were you able to check the one on the vehicle? Also, have you checked to see if spark is what is lost when it won't start?

The coil seems like the next likely thing to check. I hope you checked it. I don't want you to spend money and not fix it.

I hope you understand.

Joe
Oct 18, 2020 at 8:42 PM
Avatar
DLPHILLIPS
  • MEMBER
  • 8 POSTS
Yes, I understand thanks. Considering this car has always lived in the hot south and now AZ, and is a 2002. it wont hurt to change this stuff out anyway. I got tied up with my daughters car today and didn’t check mine yet. I have time. I can always send it back. :)
Oct 18, 2020 at 8:48 PM
Avatar
JACOBANDNICKOLAS
  • CERTIFIED EXPERT
  • 110,175 POSTS
Sounds good. Let me know what you find. Also, when it won't start, confirm if there is spark and fuel.

Take care and let me know.

Joe
Oct 18, 2020 at 8:59 PM
Avatar
DLPHILLIPS
  • MEMBER
  • 8 POSTS
Okay, thanks Joe .
Oct 18, 2020 at 9:00 PM
Avatar
STEVE W.
  • CERTIFIED EXPERT
  • 15,113 POSTS
A quick test for items that are acting heat sensitive is to use some "canned air" to cool the questionable item down without waiting for the rest of the engine to cool off. If you invert the can it sprays liquid refrigerant out instead of just "air" . So say you think the coil pack is breaking down when it gets hot, let it start acting up and then spray it down to cool it. If the problem is suddenly gone the coil pack is likely the issue. If it doesn't go away move to the next likely item.
Oct 22, 2020 at 10:54 AM
Avatar
DLPHILLIPS
  • MEMBER
  • 8 POSTS
Oh, good idea . Thanks
Oct 22, 2020 at 10:59 AM
Avatar
STEVE W.
  • CERTIFIED EXPERT
  • 15,113 POSTS
Just checking to see if you had any time to repair or test on your vehicle yet. If not, no big issue.
Oct 25, 2020 at 4:30 PM