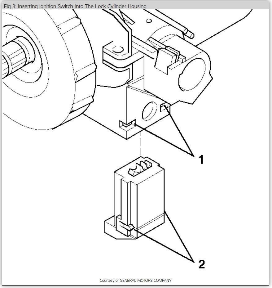
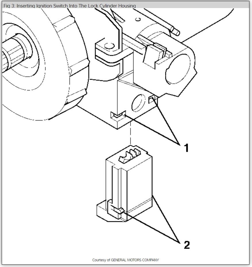
I came home one day turned off my truck went inside to do something came back out tried to start it and I have no power to the starter the fuel pump or my gauges. The radio has power the courtesy lights have power. I have checked all grounds and positive cables. I have checked all fuses and relays. What am I missing?
Aug 12, 2018 at 1:50 PM



