☰
Login
Join
×
Home
Answered Questions
Repair Topics
Repair & Service Guides
Popular Questions
Warning Lights
Trouble Codes
How It Works
Testing / Diagnostics
Symptoms
Videos
Login
Become a Member
Home
Subaru
Legacy
Engine
Symptoms
Compression
No compression on any cylinders
2005 SUBARU LEGACY
100,000 MILES • 2.5L • 4 CYL • 4WD • AUTOMATIC
RUBEN13
MEMBER
8 POSTS
FOLLOW
I replaced the timing belt because the old one broken.There were no bent valves. Car turns over there is power, fuel, and spark.
Nov 30, 2018 at 10:40 AM
Advertisement
ASEMASTER6371
CERTIFIED EXPERT
52,796 POSTS
Good afternoon,
How did you determine there were no bent valves?
If you have no compression it is either the belt is not on correctly or there is valve damage.
https://www.2carpros.com/articles/the-reasons-for-low-compression
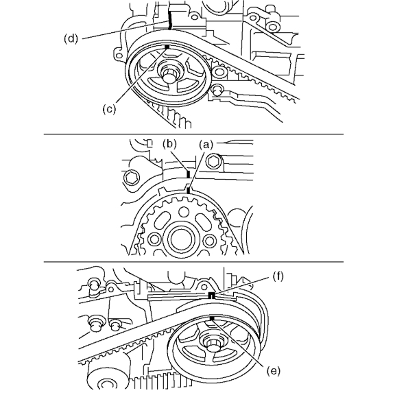
Are the marks lined up correctly as in the attachment I attached?
Roy
Image (Click to enlarge)
Nov 30, 2018 at 11:26 AM
RUBEN13
MEMBER
8 POSTS
Yes, all the marks are lined up correctly.
Nov 30, 2018 at 12:02 PM
Advertisement
ASEMASTER6371
CERTIFIED EXPERT
52,796 POSTS
Again, how did you determine there was no valve damage?
All indications are that you have valve damage.
The heads will have to come off and the valves inspected.
https://www.2carpros.com/articles/how-a-cylinder-head-works
Roy
Nov 30, 2018 at 12:05 PM