no cold air

2004 FORD CROWN VICTORIA
111,000 MILES • 4.6L • RWD • AUTOMATIC
Avatar
DONJI55
  • MEMBER
  • 3 POSTS
I ran the diagnostic and got a 024 code what does that mean?
Aug 17, 2017 at 3:25 PM
Advertisement
Avatar
HARRY P
  • CERTIFIED EXPERT
  • 2,292 POSTS
The blend air door actuator is not working correctly. Is your car's HVAC seemingly stuck on heat or A/C? If so, you likely need a new blend door actuator. They come with plastic gears in them. After some years, the gears become stripped and then the actuator cannot grip enough to turn the door from heat to AC and vice versa. Unfortunately this is not an easy job. The dashboard must be removed.
Aug 17, 2017 at 7:15 PM
Avatar
DONJI55
  • MEMBER
  • 3 POSTS
Thanks for the information. Is it possible to move the door manually?
Aug 17, 2017 at 8:16 PM
Advertisement
Avatar
STRAILER
  • CERTIFIED EXPERT
  • 53,854 POSTS
I think you can get to the blend door actuator from the drivers side looking up to the right on some cop car models. You need to remove the lower panel if there is one.

Work the arm with your hand or remove the actuator and move the pivot to confirm.

Here is a guide that can help:

https://www.2carpros.com/articles/replace-blend-door-motor

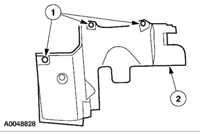
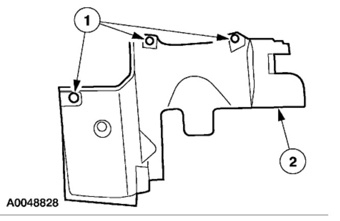
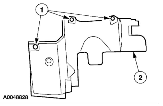
Here is some diagrams of you need to remove the dashboard to change the blend door actuator. (below)

Please let us know what happens.

Cheers, Ken
Aug 18, 2017 at 2:36 PM
Avatar
DONJI55
  • MEMBER
  • 3 POSTS
Thanks a bunch!
Aug 18, 2017 at 2:42 PM