No 12-volts at Coil or Injector harness?

1999 CHRYSLER LHS
198,678 MILES • 3.5L • 6 CYL • 2WD • AUTOMATIC
Avatar
KEVINV1645
  • MEMBER
  • 15 POSTS
Ran fine the night before, next morning, crank no start. Fuel pressure was zero. Installed new pump. 54 PSI after the new pump.
Aug 7, 2023 at 2:38 PM
Advertisement
Avatar
JACOBANDNICKOLAS
  • CERTIFIED EXPERT
  • 110,175 POSTS
Hi,

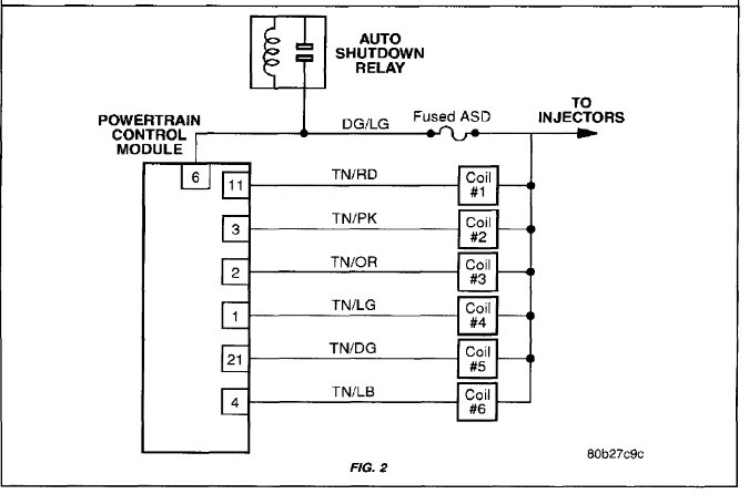
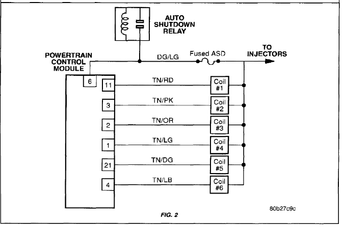
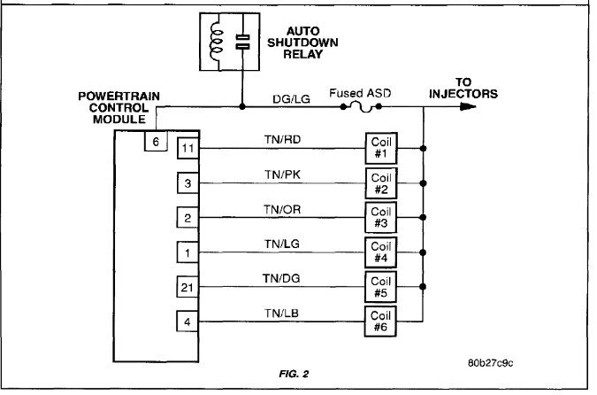
There are a few things we need to check. First, I attached a portion of the wiring schematic below, so you have a reference. I highlighted the wires that are relevant.

First, remove the ASD relay and inspect it for damage. If there is a different relay with the same part number, switch them to see if that fixes the issue.

If it doesn't, there are two fuses I need you to check in the under-hood power distribution center. Both of these fuses need to be good for power to reach the coils and injectors. They are fuses S and N. See pic below. Confirm there is power to and from them. Here is a link you may find helpful. Also, note that fuse S will only receive power with the key on. Fuse N should have power at all times.

https://www.2carpros.com/articles/how-to-check-a-car-fuse

If the fuses are good and switching the relay didn't change anything, go back to the relay and remove it. On the relay, the pins will be identified by numbers. The primary side will be numbers 85 and 86. The secondary side will be 30 and 87. With the relay removed, take a test light and probe one of the connector pins at a time. One should have power regardless of the ignition key position. There should be a second that should have power with the key in the run position. Check that for me. (note) one pin will be on the primary side and the other will be on the secondary side. Take note of the number on the relay that correlates with the connector pins with power for future testing.

Do this and let me know what you find. Also, here is a link you may find helpful and more insightful regarding the relay:

https://www.2carpros.com/articles/how-to-check-an-electrical-relay-and-wiring-control-circuit

Let me know what you find.

Joe

See pics below. I highlighted wires that are related. Pic 3 shows fuses N and S. Sorry about the childlike handwriting. I can't do it on a computer. LOL
Aug 7, 2023 at 8:57 PM
Avatar
CARADIODOC
  • CERTIFIED EXPERT
  • 34,306 POSTS
Lets start with reading the diagnostic fault codes. Chrysler made doing that yourself much easier than any other manufacturer. Cycle the ignition switch from "off" to "run" three times within five seconds, without cranking the engine. Leave it in "run", then watch the code numbers appear in the odometer display. You can go here:

https://www.2carpros.com/trouble_codes/obd2/p0400

to see the definitions, or I can interpret them for you.

The next thing is to see what the automatic shutdown, (ASD) relay is doing. You've already been on those test points. Use the wire that is the same color at every injector and at the positive of the ignition coil(s). That's usually a dark green / orange wire. Easiest is usually to back-probe through the rubber seal at an injector. You can also use either smaller terminal on the back of the alternator. A test light works best for this because digital voltmeters usually don't respond fast enough. If you can prop the light so you can see it from inside, do that, otherwise you'll need a helper to run the ignition switch.

You should see the test light turn on full brightness for one second after the ignition switch is turned to "run", then it will go off. That tells us the ASD relay is working and the Engine Computer has control of it. You may hear the fuel pump run for that one second too. Next, the test light must turn back on during engine rotation, (cranking or running). If it does not, the suspects are the crankshaft position sensor or the camshaft position sensor. If either one fails while driving, the computer will have time to detect the missing signal while the engine is coasting to a stop. When you have the condition you described where you suddenly have a crank / no-start, that may not give enough time for the computer to detect the missing signal. For that reason, there may not be a diagnostic fault code indicating one of those sensor circuits is not working. The ASD test light test is the better indicator.

Let me know what you find. If there's no fault code related to one of those sensors, and the ASD relay doesn't turn back on during cranking, we're going to need a scanner to view live data. I have a Chrysler DRB3 for all of my older vehicles. That one lists each sensor with a "No" or "Present" during cranking. Aftermarket scanners have a similar way to show that information. If one doesn't switch to "Present" when you start cranking the engine, that is the circuit we need to diagnose. Fault codes never say a sensor or other part is defective or needs to be replaced. They only indicate the circuit that needs further diagnosis. In this case either sensor is a good suspect, but we normally want to do some other tests first before blindly replacing the sensor. We'll discuss that further once we know if one of those circuits has failed.
Aug 7, 2023 at 8:59 PM
Advertisement
Avatar
CARADIODOC
  • CERTIFIED EXPERT
  • 34,306 POSTS
Hi guys. I'm happy to see Joe posted a reply while I was typing. I'm into my first day helping a friend switch a cab, box, and front axle on a badly smashed Dodge diesel truck and won't be back here until late tomorrow night. If it's okay, I'll let you fine fellows hash this out and I'll add comments of value as necessary.
Aug 7, 2023 at 9:05 PM
Avatar
KEVINV1645
  • MEMBER
  • 15 POSTS
Thank you, Gentlemen, for the quick reply and info.
The old fuel pump had a wire connected (ground?) to the #2 Nipple (metal), new pump is all plastic, so I left the wire unattached, is this a concern?
Aug 8, 2023 at 5:32 AM
Avatar
JACOBANDNICKOLAS
  • CERTIFIED EXPERT
  • 110,175 POSTS
Hi,

When you say the number 2 nipple, are you referring to the wiring harness connector or the fuel pump?

Also, were you able to check the two fuses I mentioned, and if so, are they good?

Let me know.

Take care,

joe
Aug 8, 2023 at 8:47 PM
Avatar
KEVINV1645
  • MEMBER
  • 15 POSTS
Greetings, fuses are okay. A stand-alone wire that connected to the fuel line at #2. Just replaced the Cam sensor and started right up. Now back to crank no start. Ideas?
Aug 9, 2023 at 10:32 AM
Avatar
KEVINV1645
  • MEMBER
  • 15 POSTS
Greetings,
New Cam sensor, started then stalled, reinstalled old, ran then stalled, reinstalled new.
Running but rough P0352 code, #2
2.43 v at coil harness #2
2.76 v or so at others
Kevin
Aug 9, 2023 at 2:53 PM
Avatar
JACOBANDNICKOLAS
  • CERTIFIED EXPERT
  • 110,175 POSTS
Hi Kevin,

The voltages you provided are very low. If you are checking the voltage for the coils and injectors, they should have battery voltage.

Take a look below. I attached the diagnostics for the P0352 which is specific to the ignition coil 2 primary circuit. Take a look through them and let me know if you are comfortable performing the tests.

Take care,

Joe

See pics below.
Aug 9, 2023 at 10:13 PM
Avatar
KEVINV1645
  • MEMBER
  • 15 POSTS
Greetings, a most minute loss of continuity at the connector of the cam sensor. Great lesson in diagnostic-ing. Aaaaarrrrrrrr! Thank you, Kevin.
Aug 14, 2023 at 11:04 AM
Avatar
JACOBANDNICKOLAS
  • CERTIFIED EXPERT
  • 110,175 POSTS
Hi Kevin, thank you for the update and I'm glad you found the issue. Those ones aren't as easy to find as most people think. so, good job.

Take care and feel free to come back anytime in the future.

Joe
Aug 14, 2023 at 10:23 PM
Avatar
KEVINV1645
  • MEMBER
  • 15 POSTS
Hello again Joe,

Chry 1999 LHS 3.5L v6. Have this leak. This vehicle uses that pink coolant. That is the oil pan. Do not see any line leaks. Water pump gasket? Any guidance would be awesome! Thank you, Kevin
Aug 15, 2023 at 1:39 PM
Avatar
JACOBANDNICKOLAS
  • CERTIFIED EXPERT
  • 110,175 POSTS
Kevin, welcome back.

Yep, I would say the water pump. However, I have a favor to ask. We try to keep the posts specific to one topic, so they are more helpful to others. Is it possible for you to copy your new question and paste it to a new post?

Here is the link:

https://www.2carpros.com/questions/new

I hope you understand. I will watch for your new post.

Take care,

Joe
Aug 15, 2023 at 9:27 PM