New pump and it started once

2006 CHEVROLET EXPRESS
180,000 MILES • 4.8L • V8 • AUTOMATIC
Avatar
PETEMONTI
  • MEMBER
  • 3 POSTS
Hello,

I installed a new fuel pump.
I tested pump before securing gas tank in place. Van started immediately and stayed running.
It cranked, sputtered, but didn't stay running after I bolted gas tank.

Thanks in advanced.
Nov 2, 2020 at 3:46 PM
Advertisement
Avatar
ASEMASTER6371
  • CERTIFIED EXPERT
  • 52,796 POSTS
Good evening,

I would look at the lines and make sure they are not kinked anywhere. If they are, no fuel will flow to the front.

Make sure the connector is tight and secure.

I attached a picture below of the tank. I circled the area for you to check as it is common for those lines to get crushed.

Roy
Nov 2, 2020 at 4:30 PM
Avatar
PETEMONTI
  • MEMBER
  • 3 POSTS
Hello Roy,

Thanks for the expert advice.
I did checked hoses and all seemed normal.
Sadly, it's still cranking but not turning on.
Any other expert advice I may try would be greatly appreciated.

Thanks again.
Nov 3, 2020 at 5:38 PM
Advertisement
Avatar
ASEMASTER6371
  • CERTIFIED EXPERT
  • 52,796 POSTS
Check the fuel pressure to the fuel rail at the front.

You need around 60 pounds of pressure.

https://www.2carpros.com/articles/how-to-check-fuel-system-pressure-and-regulator

Roy
Nov 3, 2020 at 5:41 PM
Avatar
PETEMONTI
  • MEMBER
  • 3 POSTS
Thank you very much.

It really made sense.
I checked all connections and did not find any loose or crimped hoses.
But unfortunately, van doesn't start.
Nov 11, 2020 at 10:56 AM
Avatar
ASEMASTER6371
  • CERTIFIED EXPERT
  • 52,796 POSTS
Drop the tank back down a little and see if it starts as it did when it started before.

Let us see if it starts and stays running.



Roy

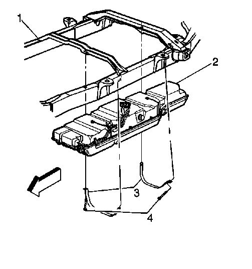
1. Disconnect the negative battery cable.

CAUTION: Refer to Battery Disconnect Caution in Service Precautions.

2. Relieve the fuel system pressure. Refer to Fuel Pressure Relief Procedure.
3. Drain the fuel tank. Refer to Fuel Tank Draining Procedure.
4. Raise the vehicle. Refer to Vehicle Lifting.
5. Loosen the fuel fill hose clamp.
6. Disconnect the fuel fill hose from the fuel tank.
7. Clean all the fuel pipe connections and the surrounding areas before disconnecting the fuel pipes in order to avoid possible contamination of the fuel system.
8. Disconnect the rear fuel return pipe at the chassis fuel return pipe.
9. Disconnect the chassis fuel feed pipe at the fuel filter.


imageOpen In New TabZoom/Print

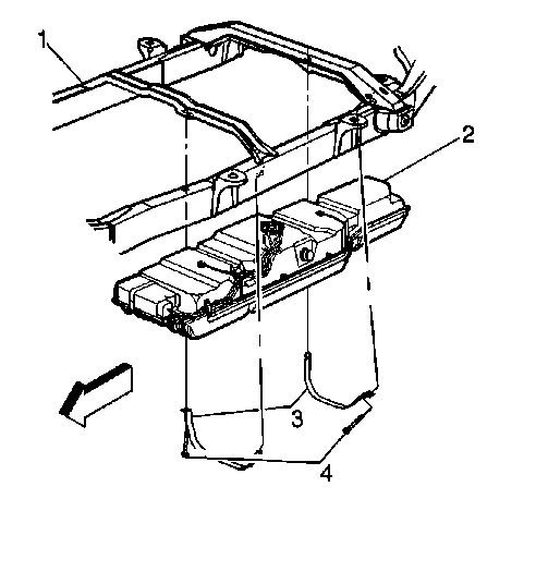
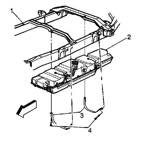
10. With the aid of an assistant, support the fuel tank.
11. Remove the attaching bolts (4) from the fuel tank strap.
12. Remove the fuel tank straps (3).
13. Carefully lower the fuel tank.
14. Disconnect the fuel sender and the fuel pressure sensor electrical connectors.
15. Remove the fuel tank.
16. Place the fuel tank in a suitable work area.


imageOpen In New TabZoom/Print

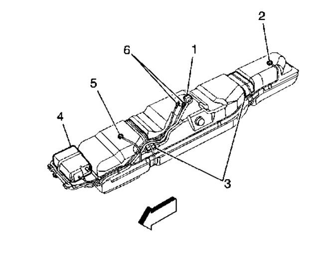
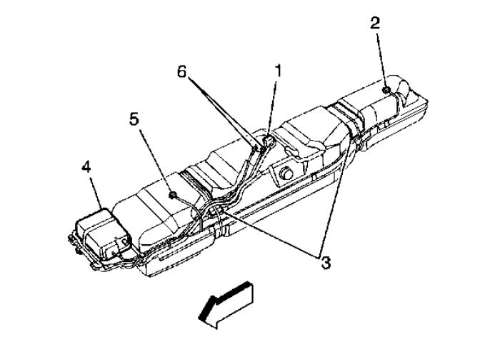
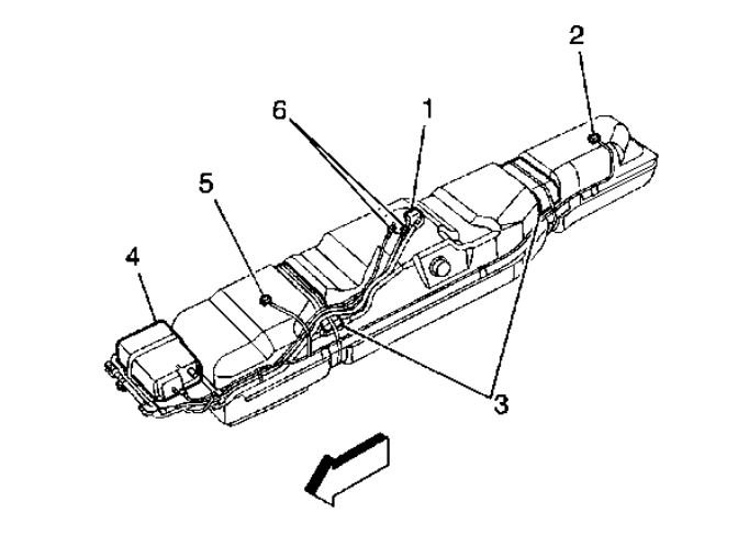
17. Remove the fuel sender assembly and the fuel pipes (6) from the fuel tank and the fuel filter.
18. Remove the fuel fill hose from the fuel tank.
19. Remove the fuel tank from the fuel tank shield.
Nov 11, 2020 at 3:41 PM