NEED TO FIND THE FUSE FOR INTERIOR LIGHT

2004 SATURN VUE
89,000 MILES • 3.5L • 6 CYL • 2WD • AUTOMATIC
Avatar
MARIOCSR
  • MEMBER
  • 2 POSTS
TO WHOM IT CONCERN, I NEED TO FIND THE FUSE FOR INTERIOR LIGHT, BECAUSE THE DOME LIGHT AND THE LIFTGATE LIGHT DOES NOT WORKS.
THANKS.

Apr 6, 2015 at 5:15 PM
Advertisement
Avatar
CJ MEDEVAC
  • CERTIFIED EXPERT
  • 11,004 POSTS
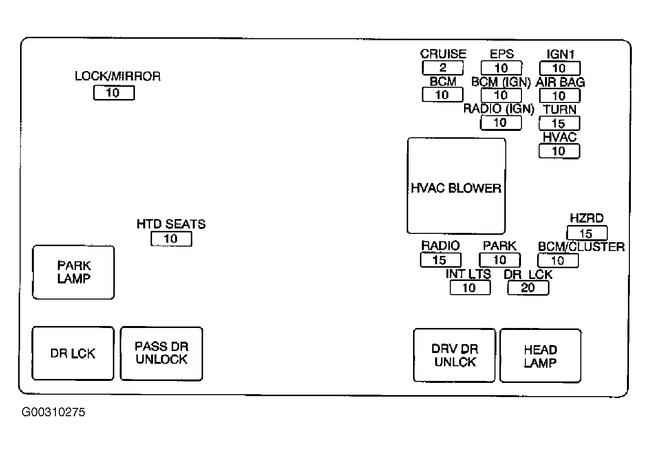
DOES THIS HELP?

THESE ARE FROM PRODEMAND

THE MEDIC
Apr 6, 2015 at 6:02 PM
Avatar
CARADIODOC
  • CERTIFIED EXPERT
  • 34,306 POSTS
There's three 10-amp fuses involved with various interior lights. The lift gate lights and front and rear dome lights get their power from the Body Computer. Unfortunately the fuses aren't numbered but they might be labeled as "park fuse", "BCM / cluster fuse", and "int lights fuse".

Regardless, we never try to figure out which fuses to check. We don't have that kind of time when you're paying by the hour. Also, it's real common to find a fuse blown for a circuit that is seemingly totally unrelated to the dead circuit you're diagnosing. Instead, we grab a test light and poke the probe into the two tiny test holes on the top of most spade-type fuses. You'll find some have 12 volts on both sides and some with 0 volts on both sides. You're looking for any that have 12 volts on one side and 0 volts on the other side. Those are the circuits that are currently turned on but the fuses are blown.
Apr 6, 2015 at 6:07 PM
Advertisement