My car will not start and my key will not turn back

2000 CHEVROLET TRAILBLAZER
29,085 MILES • 6 CYL • 4WD
Avatar
SHEILA JOHNSON
  • MEMBER
  • 1 POST
I got up to go start my car it started up and then cut back off. I went to turn back the key so I can try it again the key will not turn back. My lights will not come on or anything. I have to lock my door manually because my automatic switch one work. so I am just trying to find out what could possibly be the problem.
Oct 10, 2017 at 7:45 AM
Advertisement
Avatar
MHPAUTOS
  • CERTIFIED EXPERT
  • 31,937 POSTS
I would be thinking that the barrel and key is worn and locking up, if this is the case it will have to be replaced as an assembly, often this happen if key rings are over heavy with extra keys and trinkets, all that weight bouncing along while driving is doing damage to the lock, if you have to have extra keys try and keep it to a minimal to help avoid this problem.
Oct 10, 2017 at 6:10 PM
Avatar
STRAILER
  • CERTIFIED EXPERT
  • 53,856 POSTS
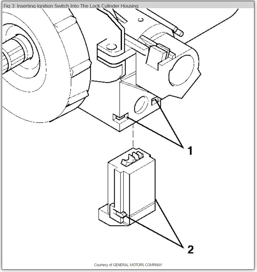
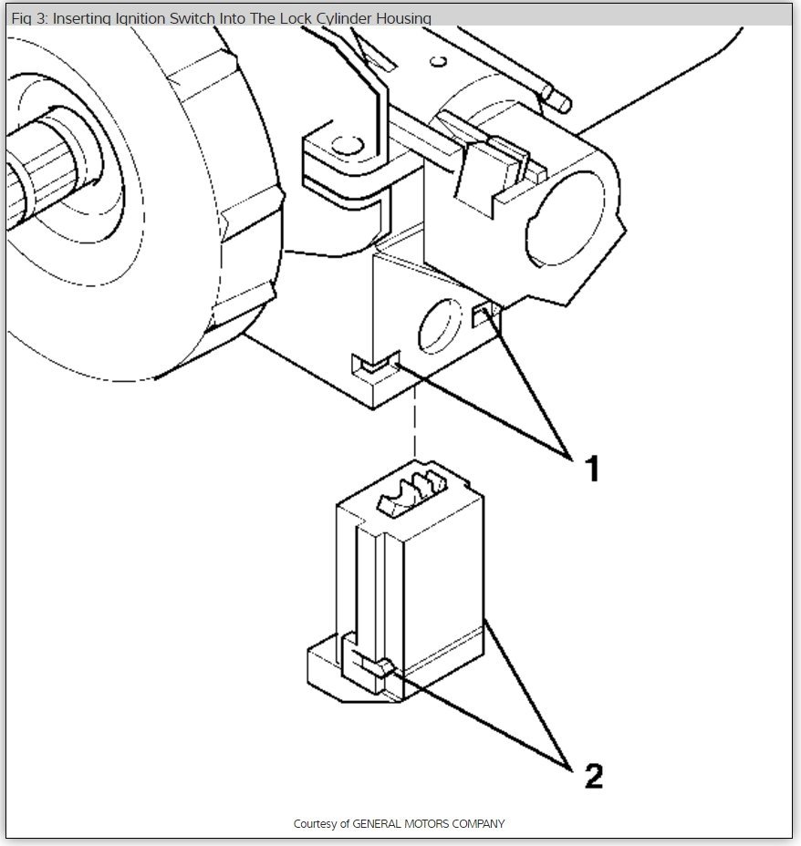
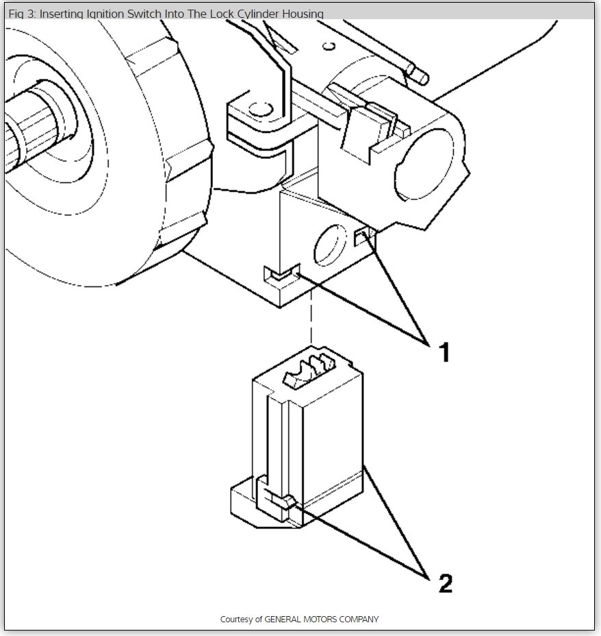
Try to cycle the gear shifter from drive back to park and then work the key. If the key tumbler is worn out it could be jammed in which case it will need to be replaced. Here are some guides to help you see what needs to be done.

You will need to have the new key programmed to the car so it will disable the security system.

Please let us know what happens.

Cheers, Ken
Oct 12, 2017 at 11:22 AM
Advertisement