mode actuator? My vents will not change from floor, vent or defrost?

2015 CHEVROLET SILVERADO
50,000 MILES • 5.3L • V8 • 4WD • AUTOMATIC
Avatar
JDBENNETT20
  • MEMBER
  • 1 POST
My A/C only blows on vent and so I changed the mode door actuator and it’s still not working, how can I fix it?
Sep 1, 2020 at 9:46 PM
Advertisement
Avatar
ASEMASTER6371
  • CERTIFIED EXPERT
  • 52,796 POSTS
Here is a guide to help you fix it with a video that shows the blend door to give you an idea with the location of the mode door actuator in the images below which is next to the gas pedal as well with instructions in the diagrams below.

https://youtu.be/tY6M92fA2ug

I am attaching the wiring diagram and the instructions on how to replace the mode actuator. We just need to make sure you replaced the correct one because they are commonly mistaken.

If this is the actuator that you replaced then we need to check the voltage coming from the control module because I suspect you have a control module issue.

https://www.2carpros.com/articles/how-to-check-wiring

Please run through this and let us know what you find. Thanks
Feb 2, 2021 at 1:46 AM
Avatar
PROSPORT83
  • MEMBER
  • 1 POST
I have dual climate control and the heat and defrost do not work. I felt the hoses and they get hot so there should be nothing wrong with the heater itself. It seemed to happen after an electrical issue with my truck. My truck was stuck on the heat all last winter. I was luckily able to get it to switch over to AC for the summer. Now it will not switch back to the heat or defrost. When you click defrost, it just blows out harder in the front vents.
Apr 30, 2021 at 11:04 AM (Merged)
Advertisement
Avatar
STRAILER
  • CERTIFIED EXPERT
  • 53,854 POSTS
Hello,

This sounds like the mode actuator is not working. Here is a guide to help you find the location of the actuator and how to replace it:

https://www.2carpros.com/articles/replace-blend-door-motor

Check the diagrams below.

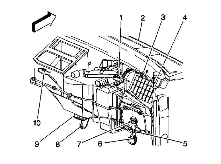
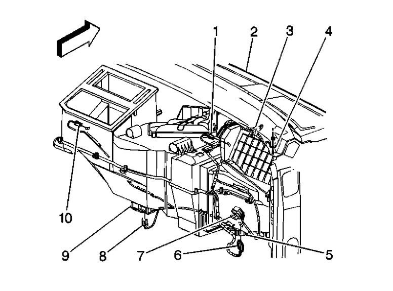
1 - Air Temperature Actuator - Right
2 - Re-circulation Actuator
3 - Junction Block - Right I/P X4
4 - G200
5 - Blower Motor
6 - Air Temperature Sensor - Lower Right
7 - Air Temperature Actuator - Left
8 - Blower Motor Control Module
9 - Air Temperature Sensor - Lower Left
10 - Mode Actuator

Check out the diagrams (below). Let us know what happens and please upload pictures or videos of the problem.

Cheers, Ken
Apr 30, 2021 at 11:04 AM (Merged)
Avatar
DOUGD14147
  • MEMBER
  • 1 POST
I need correct name and or part number for the actuator that moves the air flow from the defrost, to the vents and to the floor. Extend cab truck.
Apr 30, 2021 at 11:04 AM (Merged)
Avatar
ASEMASTER6371
  • CERTIFIED EXPERT
  • 52,796 POSTS
Good morning.

It is called the mode door actuator. It controls air flow out the vents.

Roy

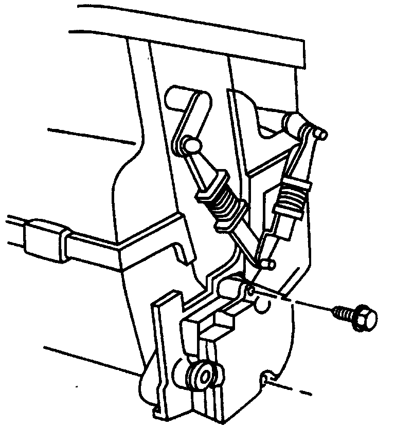
1. Remove the floor air outlet duct extension (1) from the floor duct (2).
2. Remove the center console.
3. Remove the screws from the center console duct.
4. Remove the center console duct.

5. Disconnect the electrical connection from the mode actuator (10).

6. Remove the mode actuator mounting screws from the HVAC module.
7. Remove the mode actuator as an assembly with the actuator cam.
Apr 30, 2021 at 11:04 AM (Merged)
Avatar
JEFF LYDER
  • MEMBER
  • 3 POSTS
A/C only blows hot air, fan speed dial works fine as does dial to select face vent, foot, defrost etc. Compressor is cycling on and off. A/C lines at fire wall engine bay one is hot one is cold. Tested fuses all ok, disconnected battery to try reset. No change. Please advise. Thank you
Apr 30, 2021 at 11:04 AM (Merged)
Avatar
HMAC300
  • CERTIFIED EXPERT
  • 48,601 POSTS
check to see if the actuator is working meaning blocking the cool are from coming in as it controls temperature.
Apr 30, 2021 at 11:04 AM (Merged)
Avatar
JEFF LYDER
  • MEMBER
  • 3 POSTS
you are talking about the actuator on passenger side correct?
Apr 30, 2021 at 11:04 AM (Merged)
Avatar
HMAC300
  • CERTIFIED EXPERT
  • 48,601 POSTS
the picture shows drivers side but you may have on there as well. I am assuming this is manual control like you do not set the temperature. if it is auto then it is another problem and youwill need to get it scanned.
Apr 30, 2021 at 11:04 AM (Merged)
Avatar
HMAC300
  • CERTIFIED EXPERT
  • 48,601 POSTS
it may be on the bottom that is for temperature. it may be low on charge as well but this is pretty common. you might try pulling the HVAC fuse as it sometimes will reset these. pull fuse with key on sixty seconds then reinstall and wait a minute.
Apr 30, 2021 at 11:04 AM (Merged)
Avatar
JEFF LYDER
  • MEMBER
  • 3 POSTS
yes it is manual control, thank you for quick response.
Apr 30, 2021 at 11:04 AM (Merged)
Avatar
TOJIN
  • MEMBER
  • 2 POSTS
I have air blowing they the top n bottom but midlevel n and no cool air blowing as well but AC ia full so how do I know which blend actuator to replace ?
Apr 30, 2021 at 11:04 AM (Merged)
Avatar
ASEMASTER6371
  • CERTIFIED EXPERT
  • 52,796 POSTS
Good evening.

Attached is a diagram and procedures for the blend door actuator.

Did you verify the pressures were correct in the AC system?

Roy

https://www.2carpros.com/articles/car-air-conditioner-not-working-or-is-weak

https://www.2carpros.com/articles/replace-blend-door-motor

REMOVAL PROCEDURE


imageZoom/Print

1. Remove the instrument panel hush panel.
2. Disconnect the electrical connector (8) from the air temperature actuator (9).


imageZoom/Print

3. Remove the air temperature actuator retaining screws.


imageZoom/Print

4. Remove the air temperature actuator.
Apr 30, 2021 at 11:04 AM (Merged)
Avatar
JOVANI281FRANK508BAYTOWNTX
  • MEMBER
  • 1 POST
My front A/C vents won't blow my defrost vents work and so do the vents for my back seats I can't tell that it's reading it when I switch from defrost to front vents but nothing comes out.
Apr 30, 2021 at 11:04 AM (Merged)
Avatar
KASEKENNY
  • CERTIFIED EXPERT
  • 18,907 POSTS
This is because you need to replace the mode actuator. Here is a guide that will help you see which one to replace and where it is.

Here is a guide that will help with this.

https://www.2carpros.com/articles/air-vents-stay-in-the-defrost-position

Here is a guide that will help with replacing a blend door actuator. Clearly this is different then a mode door but it will help with general info.

https://www.2carpros.com/articles/replace-blend-door-motor

Please let us know if you need anything else to get the problem fixed.

Cheers
Apr 30, 2021 at 11:04 AM (Merged)
Avatar
GARY MENDRALA
  • MEMBER
  • 1 POST
the heater control will not actuate to flow to the floor. The fan control works, the thermostat works, the direction control will direct to the windshield, upper vent but will not go to the lower heat duct. Is the control vacuum or electrically actuated and where are the baffle and direction controls located?
Apr 30, 2021 at 11:04 AM (Merged)
Avatar
WRENCHTECH
  • CERTIFIED EXPERT
  • 20,761 POSTS
This one uses an electric actuator and one motor controls all the modes switches. If you observe it while switching you may see something getting jammed or broken. Look up from the driver's side.


https://www.2carpros.com/forum/automotive_pictures/561653_Mode_actuator_01_1500_1.jpg

Apr 30, 2021 at 11:04 AM (Merged)
Avatar
RROBINS
  • MEMBER
  • 1 POST
Is the Air inlet door actuator and panel mode door actuator the same?
Apr 30, 2021 at 11:04 AM (Merged)
Avatar
HMAC300
  • CERTIFIED EXPERT
  • 48,601 POSTS
no there are a few depending on your system there is air inlet, mode and temp actuators pic shows mode actuator which is by gas pedal. try pulling hvac fuse inside truck for 60 seconds with key on then reinstalling it may reset it.
Apr 30, 2021 at 11:05 AM (Merged)
Avatar
HROD68*
  • MEMBER
  • 1 POST
It only blows out out the vents on top of my dashboard. Help please !
Apr 30, 2021 at 11:05 AM (Merged)
Avatar
KASEKENNY
  • CERTIFIED EXPERT
  • 18,907 POSTS
This is due to the mode door motor/actuator. I attached the process on how to replace it. Let me know what questions you have. Thanks
Apr 30, 2021 at 11:05 AM (Merged)
Avatar
HROD68*
  • MEMBER
  • 1 POST
I replaced the door motor actuator, and the air come out of the defroster area only.
Apr 30, 2021 at 11:05 AM (Merged)
Avatar
KASEKENNY
  • CERTIFIED EXPERT
  • 18,907 POSTS
I am sure you have electrical actuators and not cable connected so we need to remove the actuator and keep it connected to the connector and then try to change the position. We need to see if the actuator will move or not. If it moves then the door is stuck. If not, we need to start checking voltage. Let us know what you find and then we can go from there. Thanks
Apr 30, 2021 at 11:05 AM (Merged)
Avatar
JEBUDAH72419
  • MEMBER
  • 1 POST
I can turn on the air or the heat and it won't blow out the cabin vents, but it has very low air flow coming through the vents going to the extended cab part of the truck on both defrost and your normal vents. Also no air or heat coming out of the floor vents either.
Apr 30, 2021 at 11:05 AM (Merged)
Avatar
JACOBANDNICKOLAS
  • CERTIFIED EXPERT
  • 110,175 POSTS
Hi,

If you are unable to control the air flow direction, chances are there is an issue with what is called a mode door actuator. This actuator is responsible for directing air flow to the requested location.

If you look at pic 1, it shows the location of the mode door. What I would like you to do is remove the actuator and check to see if it moves when you change air flow directions. Also, make sure nothing is disconnected or damaged.

To access and remove the actuator isn't too hard, but will take more than a minute. Here are the directions for replacing the actuator. Before replacing it, check to make sure it isn't working and make sure nothing is disconnected or damaged. The attached pics correlate with the directions.

__________________________

1999 Chevy Truck C 1500 Truck 2WD V8-4.8L VIN V
Mode Actuator Replacement
Vehicle Heating and Air Conditioning Air Door Actuator / Motor Service and Repair Procedures Heating and Ventilation Mode Actuator Replacement
MODE ACTUATOR REPLACEMENT
REMOVAL PROCEDURE


pic 2

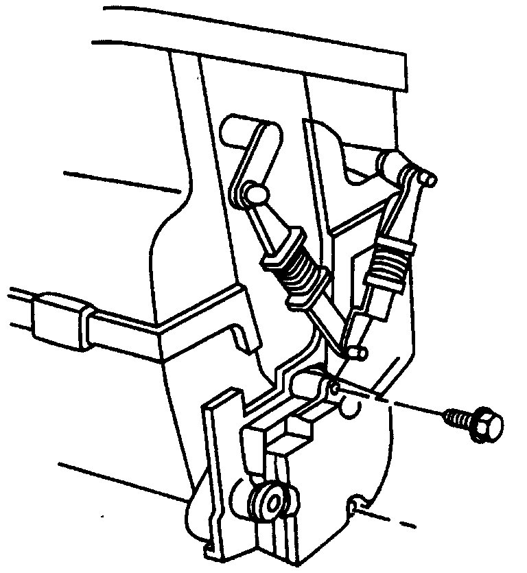
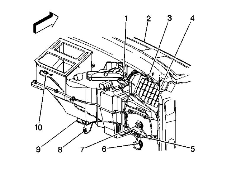
1. Remove the floor air outlet duct extension (1) from the floor duct (2).


pic 3

2. Disconnect the electrical connection at the mode actuator (10).


pic 4

3. Remove the mode actuator mounting screws from the HVAC module.
4. Remove the mode actuator as an assembly with the actuator cam.

INSTALLATION PROCEDURE


pic 5

1. Install the mode actuator as an assembly with the actuator cam.
- Line up the heater/defroster valve lever with the mode actuator cam slot.
- Line up the A/C valve lever with the mode actuator cam.

NOTE: Refer to Fastener Notice in Cautions and Notices.

2. Install the mode actuator mounting screw to the HVAC module.

Tighten
Tighten the mode actuator mounting screw to 1.6 N.m (14 lb in).


pic 6

3. Connect the electrical connection at the mode actuator (10).


pic 7

4. Install the floor air outlet duct extension (1) to the floor air duct (2).

____________________________________

Let me know what you find or if you have other questions.

Take care,
Joe

Apr 30, 2021 at 11:05 AM (Merged)
Avatar
HOPEFA1TH
  • MEMBER
  • 1 POST
Will not change to floor or A/C vents.
Apr 30, 2021 at 11:06 AM (Merged)
Avatar
JACOBANDNICKOLAS
  • CERTIFIED EXPERT
  • 110,175 POSTS
Hi:

It sounds like the mode door actuator isn't working. That is what changes air flow direction. Here are the directions specific to your vehicle for replacing the mode door actuator. The attached pictures correlate with the directions.

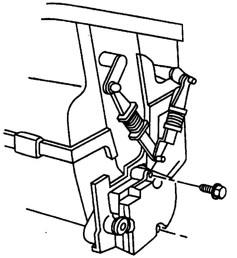
1. Remove the floor air outlet duct extension (1) from the floor duct (2).
2. Disconnect the electrical connection at the mode actuator (10).
3. Remove the mode actuator mounting screws from the HVAC module.
4. Remove the mode actuator as an assembly with the actuator cam.

INSTALLATION PROCEDURE
1. Install the mode actuator as an assembly with the actuator cam.
- Line up the heater/defroster valve lever with the mode actuator cam slot.
- Line up the A/C valve lever with the mode actuator cam.

NOTE: Refer to Fastener Notice in Cautions and Notices.

2. Install the mode actuator mounting screw to the HVAC module.

Tighten
Tighten the mode actuator mounting screw to 1.6 N.m (14 lb in).
3. Connect the electrical connection at the mode actuator (10).
4. Install the floor air outlet duct extension (1) to the floor air duct (2).

Check out the diagrams (Below). Let us know what happens and please upload pictures or videos of the problem.
Apr 30, 2021 at 11:06 AM (Merged)
Avatar
ALLISON FORTNER
  • MEMBER
  • 1 POST
My A/C blows out cold air and works great, but recently it has stopped blowing out of the vents, when the knob is on vents it blows out of the feet. All of the other options work like feet, defrost, defrost and feet, just not vents. I tried the fuse that's not the problem. Can anyone help? e this it has been in the heat of the day and running for awhile or driving for awhile. Thank you all for your help, I have two babies having a car is vital especially with a good A/C, in the middle of this Texas summer heat!
Apr 30, 2021 at 11:06 AM (Merged)
Avatar
STRAILER
  • CERTIFIED EXPERT
  • 53,854 POSTS
Hello,

This is common when the mode actuator goes out. here is a guide to help you change the unit out with diagrams below to help you with your truck:

https://www.2carpros.com/articles/replace-blend-door-motor

Check out the diagrams (below). Please let us know if you need anything else to get the problem fixed.

Apr 30, 2021 at 11:06 AM (Merged)
Avatar
MATTSON17
  • MEMBER
  • 1 POST
My heater works but I can't get it to blow out the defrost or the dash vents, its stuck on the floor heater. What could be the cause of this? Is it an easy fix or is it better to take it to a mechanic? Thanks for the help.
May 25, 2021 at 11:44 AM (Merged)
Avatar
JACOBANDNICKOLAS
  • CERTIFIED EXPERT
  • 110,175 POSTS
Hi,

The air flow direction on this vehicle is controlled by a mode door. Based on your selection, the mode door actuator changes the direction of air flow. What I would suggest is to remove the actuator and check it for operation. Chances are the actuator itself has failed.

Here are the directions for removal and replacement. The two attached pictures correlate with the directions.

_________________________________

1996 Chevy Truck K 2500 Truck 4WD V8-305 5.0L VIN M SFI
Actuator Removal and Installation
Vehicle Heating and Air Conditioning Air Door Actuator / Motor Service and Repair Procedures Actuator Removal and Installation
ACTUATOR REMOVAL AND INSTALLATION
Mode Actuator Location

Pic 1

Mode Actuator Replacement

Pic 2



Remove or Disconnect
1. Negative battery cable.
2. Electrical connector.
3. Screws.
4. Adjuster links from control lever.
5. Mode actuator.

Adjust
A. Electrical connector to the actuator.
B. Turn the ignition key to the run position and let the actuator position itself.
C. Turn off the ignition key.
D. Remove the actuator from the electrical connection.

Install or Connect
1. Mode actuator.
2. Screws.
3. Adjuster links to control lever.
4. Electrical connector.
5. Negative battery cable.

^Check circuit operation.

___________________________

I don't know if you will find this helpful, but here is a link that shows how a blend door actuator is replaced. The process is very similar. The difference is the link discusses a different actuator in the HVAC system that is responsible for temperature and not air flow direction. However, they are appear and work very similarly.

https://www.2carpros.com/articles/replace-blend-door-motor

Let me know if this helps or if you have other questions.

Take care,
Joe
May 25, 2021 at 11:44 AM (Merged)
Avatar
STRAILER
  • CERTIFIED EXPERT
  • 53,854 POSTS
No start position when reassembling cams. Cams must be in the start position, when attaching new actuator.
Oct 23, 2023 at 5:13 PM