Mode actuator

2013 CADILLAC CTS
80,000 MILES
Avatar
JONATHAN2013
  • MEMBER
  • 1 POST
The air only blows through the defrost vent.
Sep 12, 2017 at 10:02 AM
Advertisement
Avatar
STEVE W.
  • CERTIFIED EXPERT
  • 15,113 POSTS
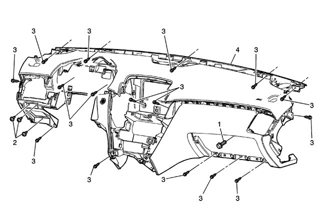
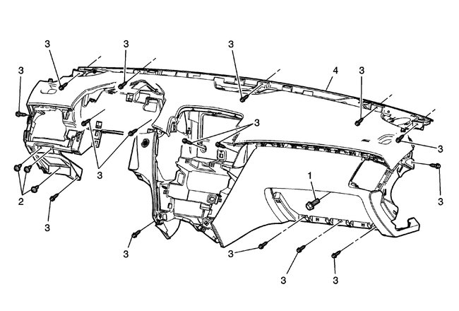
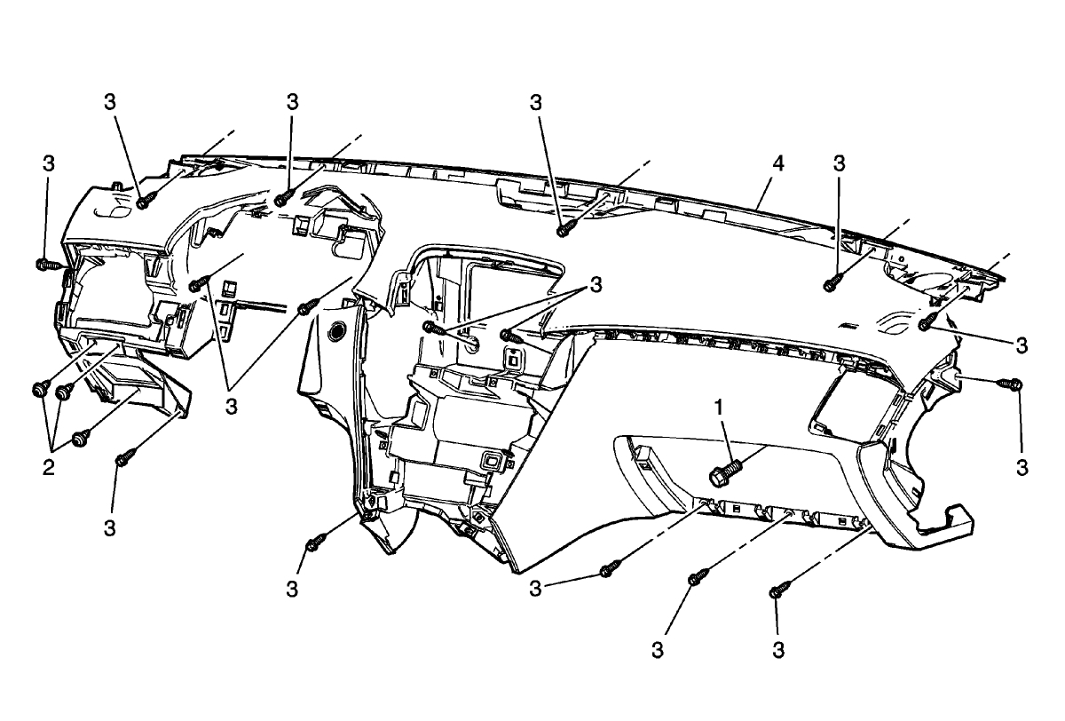
Not a difficult part to change once you get to it. That is the difficult part as you have to remove the dash panel to get to the HVAC unit. The book instructions are below along with where the actual part is.
Sep 12, 2017 at 8:11 PM
Avatar
MIKECTSMADNESS
  • MEMBER
  • 1 POST
Anybody have a video of replacing a Mode Door Actuator on 2008 CTS?

Or right and left blend door actuators.
Nov 22, 2019 at 3:47 PM
Advertisement
Avatar
KASEKENNY
  • CERTIFIED EXPERT
  • 18,907 POSTS
The only video I could find on the internet was for a 05-07. I reviewed the process and it is close.

https://youtu.be/g26UcVIJHoU

Here is the process out of the book. Hopefully this is good enough. Thanks
Nov 22, 2019 at 5:18 PM
Avatar
STEVE W.
  • CERTIFIED EXPERT
  • 15,113 POSTS
You might find one on youtube. The mode actuators are not fun because you need to pull the dash out because GM put them on the back side of the HVAC housing tucked up in near the defroster outlet.

Left blend door https://www.youtube.com/watch?v=g26UcVIJHoU

Right blend actuator isn't much harder it's tucked up under the HVAC case in the passenger footwell. Hiding behind the blower control module. Drop the sound deadener and pull the blower module and the actuator is right there.
Nov 22, 2019 at 5:20 PM