Will not start

1995 MITSUBISHI MIRAGE
80,000 MILES • 4 CYL • 2WD • MANUAL
Avatar
MITSUBISHI 95
  • MEMBER
  • 2 POSTS
Where is the fuel relay and fuel pump located?
Mar 13, 2009 at 12:04 AM
Advertisement
Avatar
RASMATAZ
  • CERTIFIED EXPERT
  • 75,992 POSTS
The fuel pump is in the fuel tank and the relay which is the multi-port fuel injection relay is under right center of dash.
Mar 13, 2009 at 1:59 AM
Avatar
PATRICIA MANERS
  • MEMBER
  • 3 POSTS
I have a 1995 Mitsubishi Mirage. I ran out of gas now it starts up after I let it said but then such the putt-putt and then shuts off. is this the fuel filter need to be cleaned and how do I do it?
Jul 15, 2019 at 10:09 AM
Advertisement
Avatar
STRAILER
  • CERTIFIED EXPERT
  • 53,855 POSTS
Hello,

It sounds more like the fuel pump has gone out due to being run dry.To be sure lets run a pressure test. here is a guide to help us get started:

https://www.2carpros.com/articles/how-to-check-fuel-system-pressure-and-regulator

Here is a guide on how to change the filter as well with diagrams below to show you on your car:

https://www.2carpros.com/articles/how-to-change-a-fuel-filter

Please run down this guide and report back.
Jul 15, 2019 at 12:43 PM
Avatar
PATRICIA MANERS
  • MEMBER
  • 3 POSTS
Put more gas in it it starts. after a bit it cuts out and shuts off. is this the fuel filter fuel pump and how do I fix this problem?
Jul 15, 2019 at 6:07 PM (Merged)
Avatar
CARADIODOC
  • CERTIFIED EXPERT
  • 34,306 POSTS
Before you go looking for the difficult stuff, put more gas in the tank. One of my minivans needs at least five gallons after running out. The fuel pump pick-up screen sits in a small bowl that prevents the gas from running away from that screen when you go around a corner while the fuel level is low. In many vehicles, when you pour in the gas, it misses that bowl and goes into the rest of the tank. You need to get the fuel level up high enough for it to spill over into the bowl and fill it.

Once the fuel pump begins pumping fuel from the bowl, it circulates to the engine, then back to the tank in the return hose. That is what keeps the bowl full. It sounds like your engine is just running sporadically on residual fuel in the line.
Jul 15, 2019 at 6:07 PM (Merged)
Avatar
PATRICIA MANERS
  • MEMBER
  • 3 POSTS
Changed the fuel filter still doing the same thing. the fuel pump how do I get to and do I have to change it or just clean it? Because I hear it click on when I start the car.
Jul 16, 2019 at 12:42 PM (Merged)
Avatar
SCGRANTURISMO
  • CERTIFIED EXPERT
  • 4,897 POSTS
Hello,

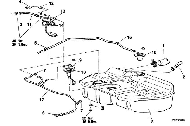
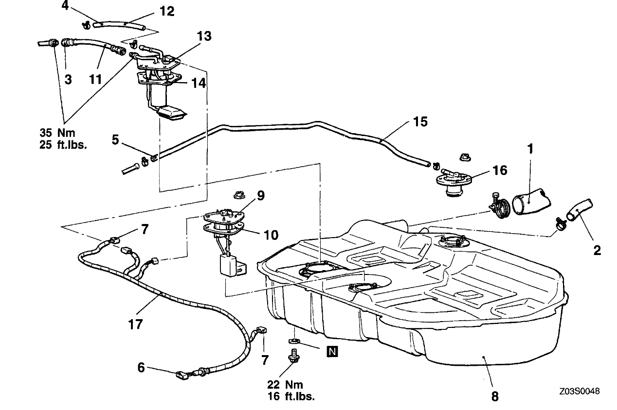
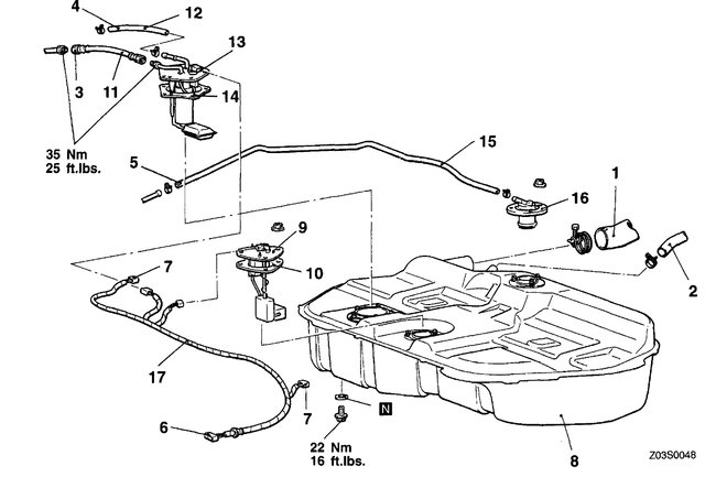
In the diagrams down below i have included guides for testing and inspecting your vehicle's fuel pump, fuel pressure and also instructions for the removal and installation of the fuel pump should it be bad. Please go through these guides and get back to us with what you are able to find out.

Thanks,
Alex
2CarPros
Jul 16, 2019 at 12:42 PM (Merged)
Avatar
CARADIODOC
  • CERTIFIED EXPERT
  • 34,306 POSTS
Did you put at least five gallons of gas in the tank?
Jul 16, 2019 at 9:34 PM