Engine Mechanical problem 6 cyl Four Wheel Drive Automatic 122000 miles
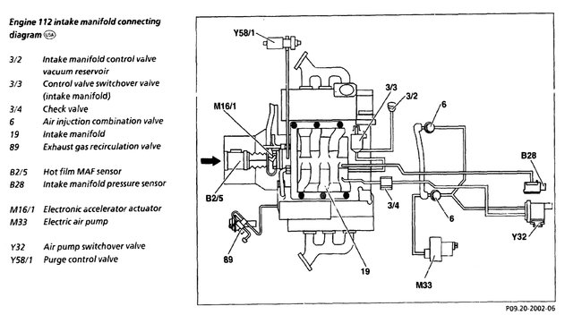
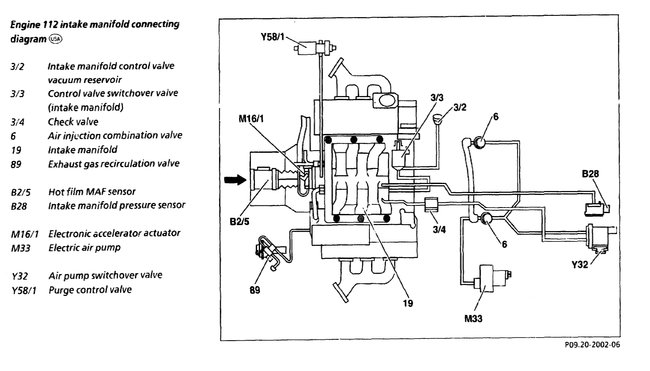
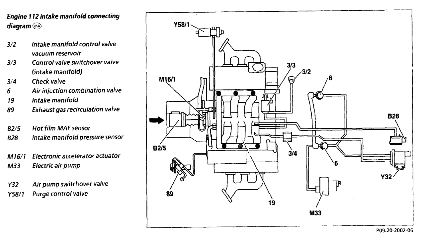
The fan belt broke on my 2000 ML320. After replceing it I found a small "L" shaped vacuum hose (about 1/4") but can't find where it goes. The check engine light came on about 50 miles after replacing the belt. Is there a vacuum hose diagram or can you tell me where to look or where it might belong?
The fan belt broke on my 2000 ML320. After replceing it I found a small "L" shaped vacuum hose (about 1/4") but can't find where it goes. The check engine light came on about 50 miles after replacing the belt. Is there a vacuum hose diagram or can you tell me where to look or where it might belong?
Jun 22, 2009 at 8:31 AM

