Hi.
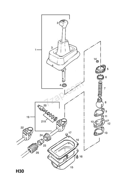
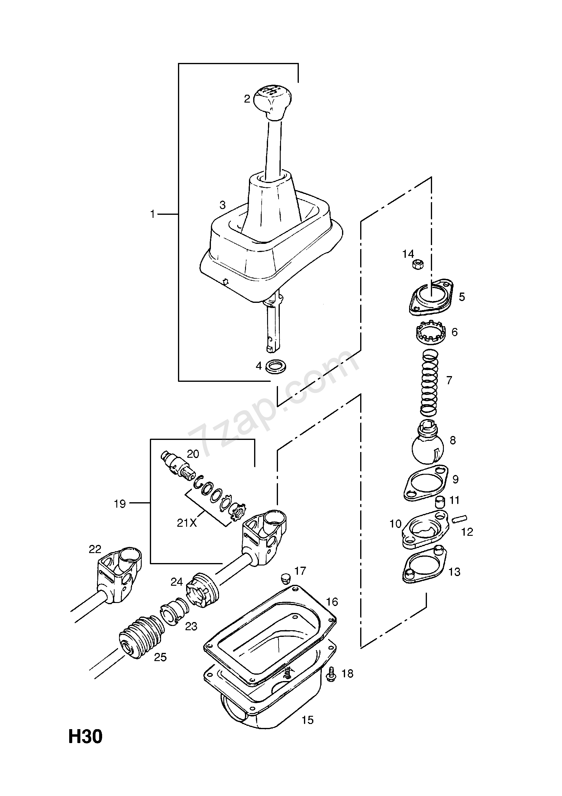
I have the car listed above swing 1389cc,engine-14NV,year-1990,
manual transmission(5 gears).
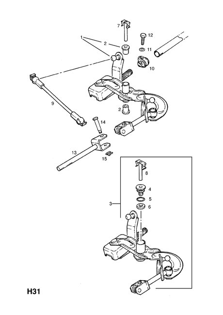
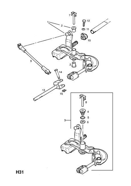
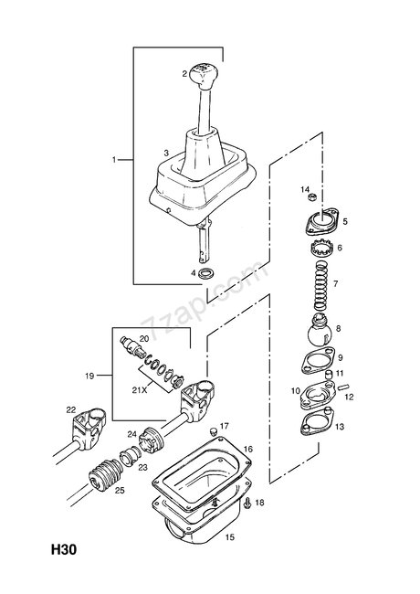
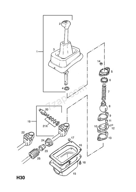
All of the sudden,without any warning,the gearshift lever
refused to shift,as normal,to 1,2 and 5 gears,while reverse gear is totally disappeared.
3 and 4 gears are shifting smoothly.
In principle,i can move the gearshift lever into the reverse position(push the gearshift lever down,left and forward)the lever get there,but the car is driving forward like it is in 1 gear and not in reverse.
The lever doesn't shift to 1 gear location at all,so i start my driving while the lever is in reverse position(which drive me forward as i described)shifting to the 2 gear is possible only from the reverse position,while,must say,it doesn't move to there easily at all and i can't bring the 3 or 4 gears back to the second gear.
5 gear doesn't shift at all.
What can be the problem?
Thanks.
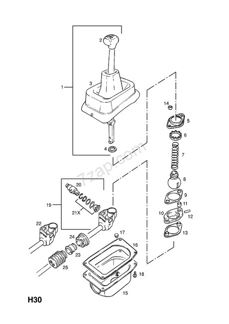
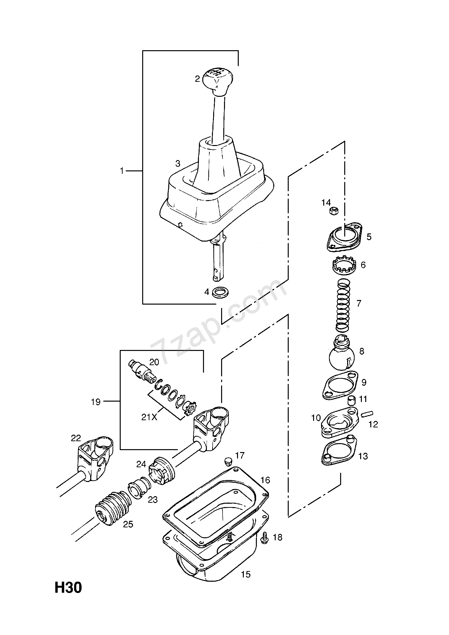
I have the car listed above swing 1389cc,engine-14NV,year-1990,
manual transmission(5 gears).
All of the sudden,without any warning,the gearshift lever
refused to shift,as normal,to 1,2 and 5 gears,while reverse gear is totally disappeared.
3 and 4 gears are shifting smoothly.
In principle,i can move the gearshift lever into the reverse position(push the gearshift lever down,left and forward)the lever get there,but the car is driving forward like it is in 1 gear and not in reverse.
The lever doesn't shift to 1 gear location at all,so i start my driving while the lever is in reverse position(which drive me forward as i described)shifting to the 2 gear is possible only from the reverse position,while,must say,it doesn't move to there easily at all and i can't bring the 3 or 4 gears back to the second gear.
5 gear doesn't shift at all.
What can be the problem?
Thanks.
Jun 21, 2020 at 4:40 AM






