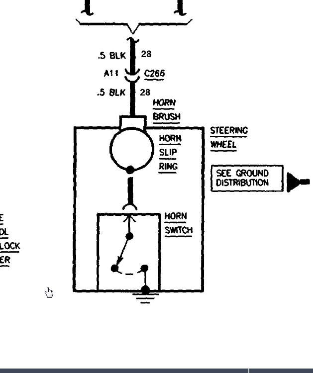
When I pressed the steering wheel pad multiple times the horn gave a weak sound , once it did give a louder sound for a brief moment.
when I use the security alarm remote it gives a weak sound.
I did remove the relay fuse which I believe was a big block. and let it sit a moment while I removed the one next to it which was the same one and switched them out.
once I did that the while pressing the steering wheel horn pad, the horn seemed to stop working then after a while it would start again producing a weak sound a louder sound for a moment then weak again.
any ideas?
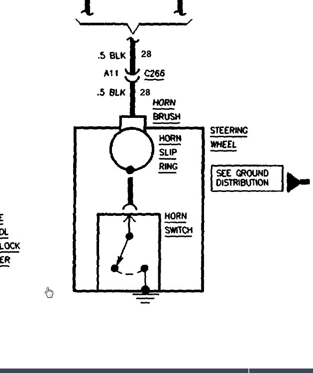
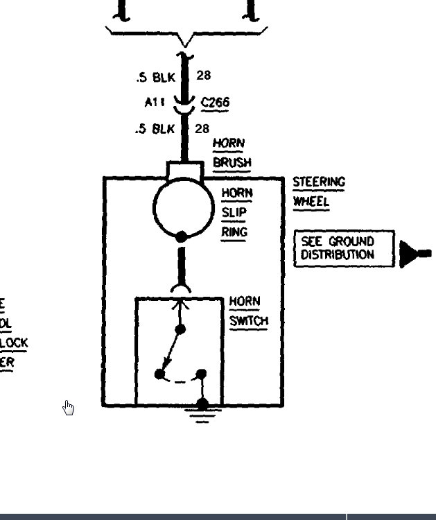
when I use the security alarm remote it gives a weak sound.
I did remove the relay fuse which I believe was a big block. and let it sit a moment while I removed the one next to it which was the same one and switched them out.
once I did that the while pressing the steering wheel horn pad, the horn seemed to stop working then after a while it would start again producing a weak sound a louder sound for a moment then weak again.
any ideas?
Mar 23, 2016 at 9:38 AM














