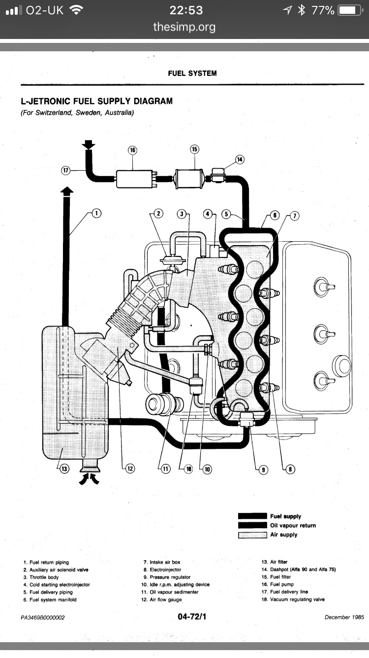
I have the car listed above 75 model. The car has sat for five years and I have been trying to get it up and running for the past year. The car seems to be running fine now, however when the car has been running for ten to fifteen minutes at operating temperature, it starts to bog and lose a lot of power. Sometimes it even stalls out. Carrying out a fuel pressure test, I have noticed that when this happens, the pressure decreases more and more. The fuel pump also makes a loud whining noise, which gets louder with time.
After the car stalls out, I can turn the ignition on to pressurize the system (back to its full 35 psi - in spec) and it will run fine for another ten to fifteen minutes.
The fuel pump is brand new (old one also whined so I replaced it), as is the fuel filter. Most of the old fuel was siphoned out and new fuel put back in.
Any ideas?
After the car stalls out, I can turn the ignition on to pressurize the system (back to its full 35 psi - in spec) and it will run fine for another ten to fifteen minutes.
The fuel pump is brand new (old one also whined so I replaced it), as is the fuel filter. Most of the old fuel was siphoned out and new fuel put back in.
Any ideas?
Dec 4, 2017 at 5:07 AM


