Location of sensor- Mass or volume airflow?

2011 CHEVROLET TRAVERSE
162,000 MILES • 3.6L • V6 • 2WD • AUTOMATIC
Avatar
KOTSKO25
  • MEMBER
  • 1 POST
(IAT) sensor 1location, Mass or volume airflow circuit location these are the troubled codes when i ran diagnostic I'm trying to see what i have to replace.
Jul 26, 2025 at 11:59 AM
Advertisement
Avatar
STRAILER
  • CERTIFIED EXPERT
  • 53,854 POSTS
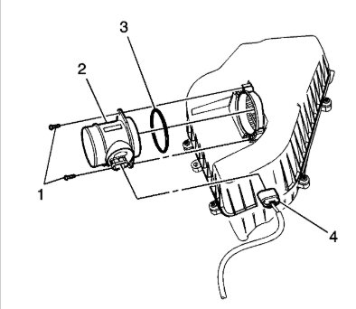
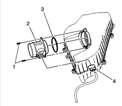
Sure, here is the location of the MAF sensor which has the IAT sensor inside of it. Make sure to clear the codes once completed. Check out the images (below). Let us know if you need anything else.
Jul 27, 2025 at 11:36 AM