Key will not turn

2008 VOLKSWAGEN JETTA
127,734 MILES • 2.5L • 5 CYL • 2WD • AUTOMATIC
Avatar
JACOB LEGAUX
  • MEMBER
  • 1 POST
Key will not turn to start the car. Last night the car did not turn off because the key would not turn to shut off.
Oct 3, 2018 at 3:15 PM
Advertisement
Avatar
STRAILER
  • CERTIFIED EXPERT
  • 53,854 POSTS
Hello,

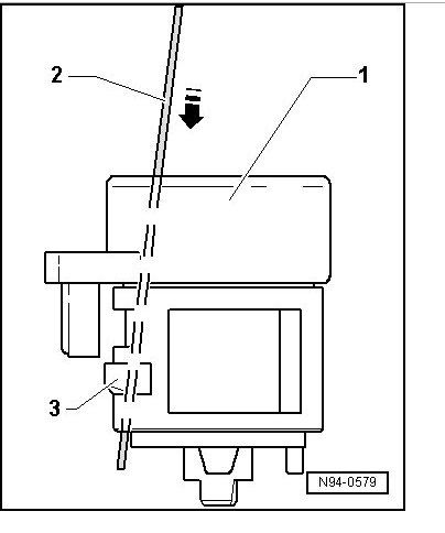
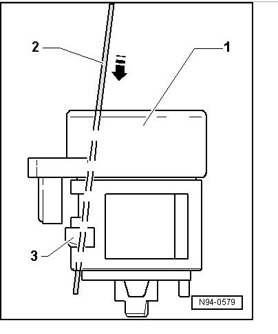
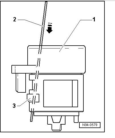
This means the ignition key and lock tumbler needs to be replaced. Get the new unit from the dealer and bring your VIN so then can program it. Here are diagrams so you can change the part out.

Check out the diagrams (below). Let us know what happens and please upload pictures or videos of the problem.

Cheers, Ken
Oct 6, 2018 at 3:34 PM