Key stuck in ignition

2007 HONDA PILOT
106,500 MILES • AUTOMATIC
Avatar
SUNEEL.BANDARUPALLI
  • MEMBER
  • 1 POST
Key stuck in ignition between O and I. I could not turn nor pull it out. Shift is in "park" level.
Oct 2, 2017 at 11:02 AM
Advertisement
Avatar
STRAILER
  • CERTIFIED EXPERT
  • 53,855 POSTS
Try to cycle the key and move the transmission in and out of gear to see if that works if not then what happens is the ignition key lock tumbler ends up falling apart and it needs to be replaced.

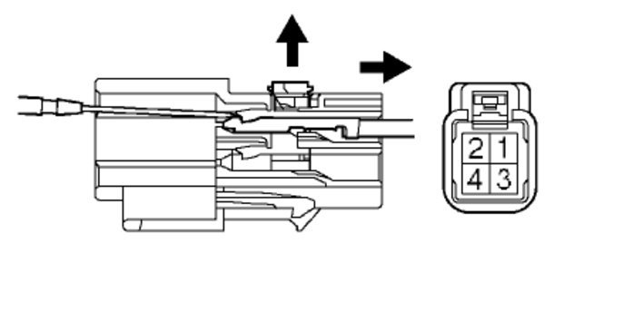
Here are some diagrams (below) that will show you what you are in for when doing the job:

Please let us know what happens and upload pictures or videos of the problem.

Cheers, Ken
Oct 3, 2017 at 11:39 AM