Key stuck in ignition

2002 FORD ESCAPE
156,300 MILES • 3.0L • V6 • 2WD • AUTOMATIC
Avatar
MONCHO6685
  • MEMBER
  • 118 POSTS
I can't take out the key from the cylinder, because the key doesn't turn all the way back. When i look to the instrument cluster i don't see that park engage, i see that reverse, neutral, drive, d2 and d1 all engage. What can be the possible problem here?
Thanks.
Dec 9, 2020 at 11:22 AM
Advertisement
Avatar
JACOBANDNICKOLAS
  • CERTIFIED EXPERT
  • 110,175 POSTS
Hi,

Don't laugh, but make sure the brake lights are working. Power from the brake light switch actuates the park interlock system to release. If they are working, then we need to move on.

Chances are the shift cable is out of adjustment and not allowing you to reach park. I am going to provide directions for adjusting the shift cable. Take a look through it and let me know if it is something you feel comfortable doing.

Here are the directions. The attached pictures correlate with the directions.


___________________________________________

2002 Ford Truck Escape 2WD V6-182 3.0L VIN 1 SFI
Adjustments
Vehicle Transmission and Drivetrain Automatic Transmission/Transaxle Shift Linkage Shift Cable Adjustments
ADJUSTMENTS
Selector Lever Cable Adjustment


pic 1


Special Tool(s)


pic 2


1. Remove the upper steering column shroud.


pic 3


2. Remove the lower steering column shroud.
1. Remove the screws.
2. Remove the lower steering column shroud.


pic 4


3. Position a 0.6 mm (0.023 inch) feeler gauge between the gearshift lever selector and the gearshift lever detent.
4. Place the gearshift lever in the DRIVE position and hang a 1.4 kg (3 lb) weight from the gearshift lever.


pic 5


5. Loosen the gearshift cable adjuster to adjust the cable then tighten.
6. Remove the weight from the gearshift lever.
7. Place the gearshift lever in the PARK position and remove the feeler gauge.


pic 6


8. Install the lower steering column shroud.
1. Position the lower steering column shroud.
2. Install the screws.


pic 7


9. Install the upper steering column shroud.

_____________________________________________

Let me know.

Take care,
Joe
Dec 9, 2020 at 7:04 PM
Avatar
MONCHO6685
  • MEMBER
  • 118 POSTS
Hi, i saw two switch, one blue one black (as seen on the photo). Which one? The park doesn't engage and you turn the key and the escape star and run, but the thing is that the gear lever is at top but you don't see the park engage. I send you the photo of the neutral switch, as you see it's burn 5 pins. I'm asking? Is possible that the PCM were damage??
I put a new neutral switch but still have the problem with the park and now i can't take out the key and the gearshift lever doesn't move either.
The theft light blink constantly no matter if is on or off.
Now i can't move the key and the gearshift lever.
I tell you the results when i perform the guide you send to me.
Thanks, Juan Marin.
Dec 11, 2020 at 12:18 PM
Advertisement
Avatar
JACOBANDNICKOLAS
  • CERTIFIED EXPERT
  • 110,175 POSTS
Hi,

If the linkage is correctly adjusted and there are no electrical issues, I suspect the range sensor is faulty on the transmission. Before replacing it, confirm the connection and wiring are in good condition and not corroded or damaged.

Here are directions for replacement. The attached pics correlate with the directions. Note: Check the basics first. Confirm the linkage is correctly adjusted and there are no connection issues.

__________________________

2002 Ford Truck Escape 2WD V6-182 3.0L VIN 1 SFI
Procedures
Vehicle Powertrain Management Sensors and Switches - Powertrain Management Sensors and Switches - Computers and Control Systems Transmission Position Sensor/Switch Service and Repair Procedures
PROCEDURES
Transmission Range (TR) Sensor

Special Tools

pic 1


Special Tool(s)

Removal


pic 2

1. Place the vehicle in NEUTRAL.
2. Disconnect the battery cables.
3. Remove the battery and tray.


pic 3


4. Disconnect the breather tube and mass air flow (MAF) sensor.


pic 4


5. Remove the intake tube and air cleaner cover.


pic 5


6. Remove the air cleaner assembly.


pic 6


7. NOTE: It may be necessary to remove the thermostat housing to gain access to the transmission range (TR) sensor.

Remove the thermostat housing.


pic 7


8. Remove the transmission range (TR) sensor.
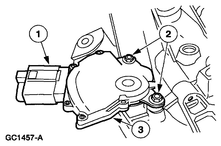
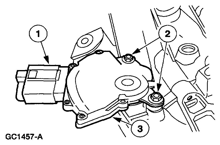
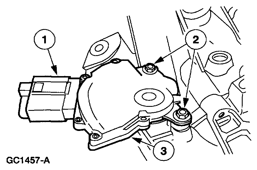
1. Disconnect the TR sensor electrical connector.
2. Remove the bolts.
3. Remove the TR sensor.

Installation


pic 8


1. NOTE: Make sure the transaxle is in the NEUTRAL position.

Install the transmission range (TR) sensor and loosely install the bolts.


pic 9


2. Using the special tool, align the TR sensor and tighten the bolts.
^ Connect the electrical connector.
3. Install the thermostat housing.


pic 10


4. Install the air cleaner assembly.


pic 11


5. Install the intake tube and air cleaner cover.


pic 12


6. Connect the breather tube and mass air flow (MAF) sensor.

7. NOTE: Before installing the battery tray check the vent tube hose for any obstructions, kinks, or incorrect routing position.

Install the battery and tray.

8. NOTE: When the battery has been disconnected and reconnected, some abnormal drive symptoms can occur while the vehicle relearns its adaptive strategy. The vehicle may need to be driven 160 km (100 miles) or more to relearn the strategy.

Connect the battery cables.
9. Check the correct operation with parking brake control engaged. The engine should start only in PARK or NEUTRAL. Backup lamps should be active only in the REVERSE position.

_________________________

Let me know what you find.

Joe
Dec 11, 2020 at 10:26 PM