Jump start button

2008 FORD ESCAPE
150,000 MILES • 2.3L • 4 CYL • 2WD • AUTOMATIC
Avatar
DAVID MALANIA
  • MEMBER
  • 14 POSTS
Good day,

This button is for helping of low voltage battery, am I right?
How and in which situation it can be used?
Jul 29, 2020 at 12:28 AM
Advertisement
Avatar
DANNY L
  • CERTIFIED EXPERT
  • 5,648 POSTS
Hello, I'm Danny.

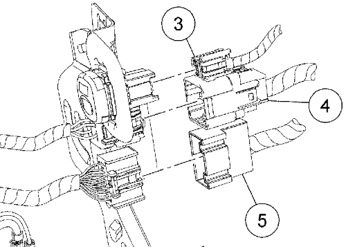
That is called the battery high-voltage jumper switch. I've attached two pictures below.Do you need to know how to use or its function? Hope this helps and thanks for using 2CarPros.
Jul 29, 2020 at 1:59 AM
Avatar
DAVID MALANIA
  • MEMBER
  • 14 POSTS
Hello Danny,

First of all would be great to know in which cases it should be used, and then how to use?
Thanks in advance.
Jul 29, 2020 at 3:35 AM
Advertisement
Avatar
BMDOUBLE
  • CERTIFIED EXPERT
  • 1,139 POSTS
Hello David, the purpose of the jump start switch is to utilize the twelve volt battery in order to charge the high voltage battery enough to start the engine, thirty percent charge is enough to drive the vehicle, otherwise it will not start. just press the button and wait ten minutes, if the vehicle will not start it will need to be towed to a service center that can further evaluate it.
Jul 29, 2020 at 10:06 AM
Avatar
DANNY L
  • CERTIFIED EXPERT
  • 5,648 POSTS
Hello again.

If you have any other questions please feel free to use our site again.Hope this helped and thanks again for using 2CarPros.

Danny-
Jul 29, 2020 at 12:43 PM
Avatar
DAVID MALANIA
  • MEMBER
  • 14 POSTS
Many thanks!
Jul 29, 2020 at 2:52 PM