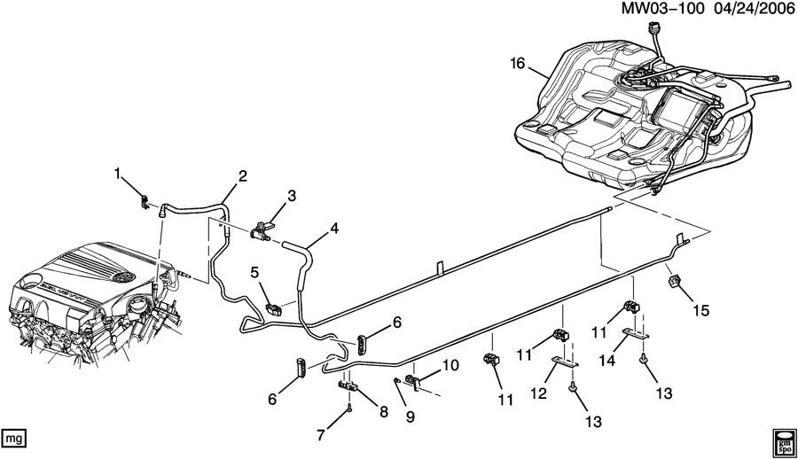
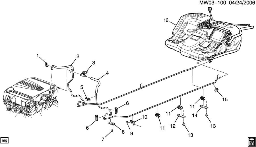
My problem with the vehicle listed above is as follows: I need a fuel feed pipe (GM #15923815) and an emissions pipe (GM
#15834004). I was told that they are not available and GM no longer makes them.
Do not know what to do. Really do not want to junk my well maintained, otherwise good running auto. Maybe you have a solution?
#15834004). I was told that they are not available and GM no longer makes them.
Do not know what to do. Really do not want to junk my well maintained, otherwise good running auto. Maybe you have a solution?
Jun 17, 2018 at 12:45 PM

