I'm a beginner. I changed a clutch with a new clutch set but i have the problem that it does not want to apply or apply rough. i have this question, maybe someone laugh or something, but it's possible that the master cylinder clutch is damaged too at the same time? I purge the system with new dot3 liquid, that change, can damaged the master cylinder clutch?
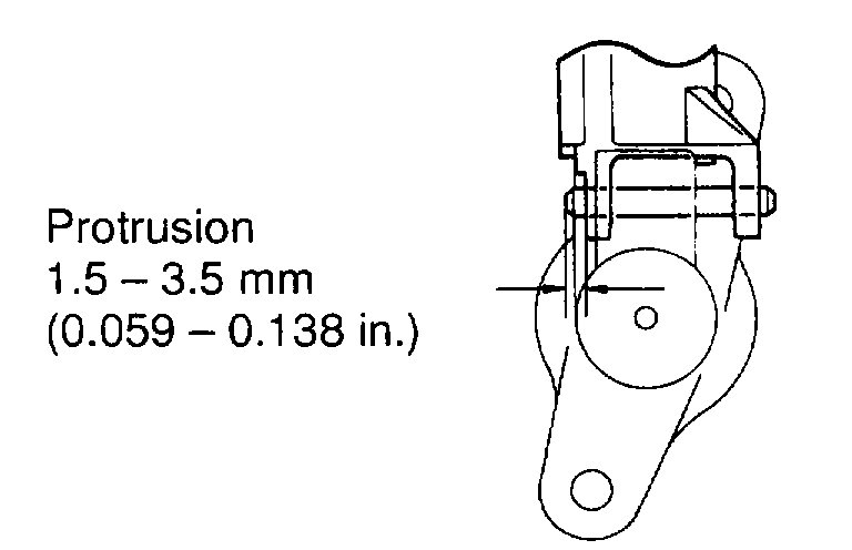
when the car is not running (engine off) the transmission shifts apply, but when i turn the engine on and it apply rough or not apply. I reviewed all the things that i do 6 times with all the information you send to me and other that i found in the shop-key pro program on my college and ask and tell what i do to my teachers and i make everything okay by the book. The only thing that i did not changed was the master cylinder clutch. I put new grease into the transmission 75w 90. 2 quarts and i measure the level until the fill plug is dripping some grease. And that's it. What i left to do? What have i missed? Change the master cylinder clutch.
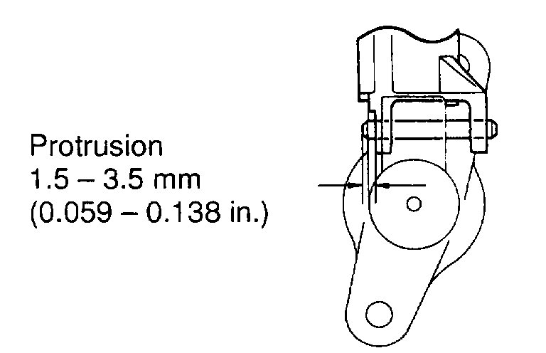
when the car is not running (engine off) the transmission shifts apply, but when i turn the engine on and it apply rough or not apply. I reviewed all the things that i do 6 times with all the information you send to me and other that i found in the shop-key pro program on my college and ask and tell what i do to my teachers and i make everything okay by the book. The only thing that i did not changed was the master cylinder clutch. I put new grease into the transmission 75w 90. 2 quarts and i measure the level until the fill plug is dripping some grease. And that's it. What i left to do? What have i missed? Change the master cylinder clutch.
May 22, 2019 at 5:58 PM









