☰
Login
Join
×
Home
Answered Questions
Repair Topics
Repair & Service Guides
Popular Questions
Warning Lights
Trouble Codes
How It Works
Testing / Diagnostics
Symptoms
Videos
Login
Become a Member
Home
Chevrolet
S-10
Electrical
Ignition Switch
Not Turning
ignition switch will not turn on
2003 CHEVROLET S-10
510,000 MILES • 4.3L • V6 • 2WD • AUTOMATIC
DILL-11
MEMBER
126 POSTS
FOLLOW
Switch stuck will not turn on or back truck in park. No buzzer sound with key in switch.
Aug 1, 2017 at 7:39 PM
Advertisement
STRAILER
CERTIFIED EXPERT
53,855 POSTS
Hello,
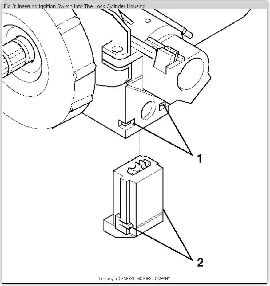
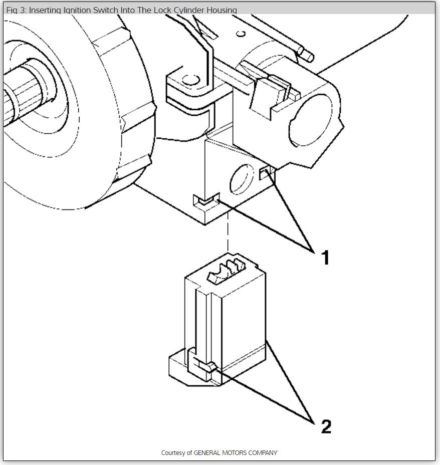
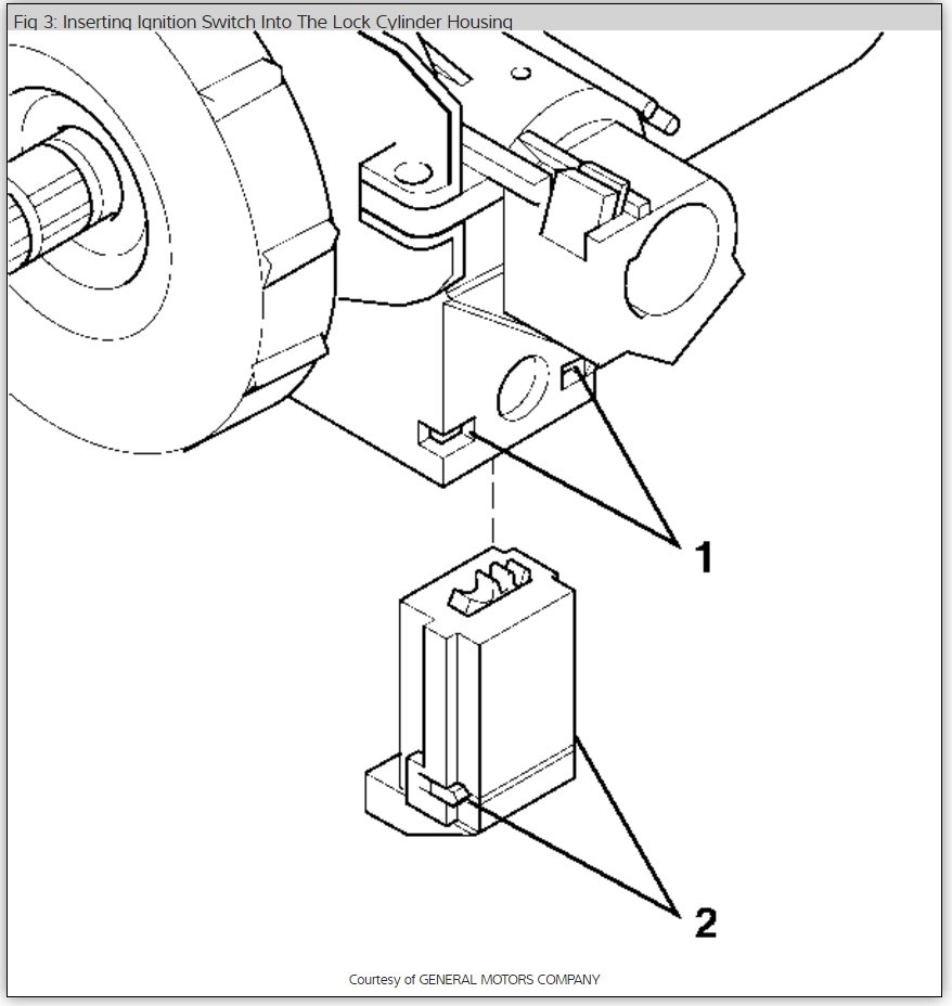
It sounds like the ignition lock has gone bad which is common. Here are some guides to help you get the problem fixed.
You will need to have the key programmed at the dealer.
Please let us know what happens.
Cheers, Ken
Images (Click to enlarge)
May 4, 2021 at 1:31 PM