Ignition switch

2004 GMC ENVOY
118,000 MILES • 4.2L • 6 CYL • 4WD • AUTOMATIC
Avatar
KEN@7106
  • MEMBER
  • 4 POSTS
when i turn my key off I can with the key out slightly move the switch so the battery light and odometer come on which can drain the battery.
I replaced the tumbler and the switch below it.
it seems like the spring that makes the key come back has lost its power to hold.
I am guessing as the tumbler fits into a slot on this. what is that part?
Mar 31, 2020 at 2:28 PM
Advertisement
Avatar
JACOBANDNICKOLAS
  • CERTIFIED EXPERT
  • 110,175 POSTS
Hi,

Are you referring to the part the key tumbler goes into? If so, it is the lock cylinder housing. There really isn't anything there to go bad.

Take a look through these directions. They explain the directions for replacing the tumbler/switch. I believe you already replaced these parts, but check to see if there are any parts you missed. The attached pics correlate with the directions.

___________________________________________

2004 GMC Truck Envoy 4WD L6-4.2L VIN S
Ignition Switch
Vehicle Steering and Suspension Steering Steering Column Service and Repair Removal and Replacement Ignition Switch
IGNITION SWITCH
Ignition Switch Replacement

^ Tools Required
- J 42759 Ignition Switch Connector Release Tool

Removal Procedure


pic 1


1. Disconnect the negative battery cable.

Caution: Refer to SIFI Caution in Cautions and Notices.

2. Disable the SIR system.
3. Remove the hush and knee bolster.
4. Remove the steering column trim covers.
5. With the key installed, turn the key to the RUN position.
6. Install an alien wrench into the hole on top of the lock cylinder housing.
Push down on the alien wrench to release the tab on the lock cylinder inside the lock cylinder housing.


pic 2


7. Slide the lock cylinder out of the lock cylinder housing.
8. Disconnect the PASSLOCK and key buzzer from the lock cylinder housing.


pic 3


9. Insert J 42759 into the lock cylinder housing to release the tabs on the ignition switch.
10. Pull the ignition switch out of the lock cylinder housing.
11. Disconnect the connector from the ignition switch.

Installation Procedure


pic 4



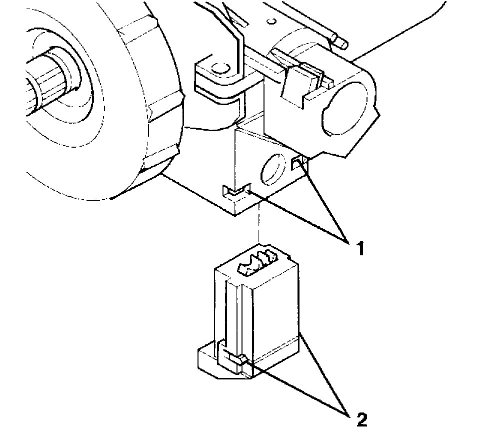
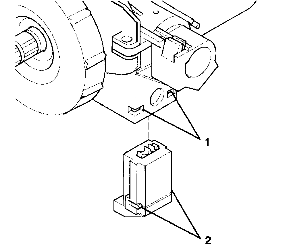
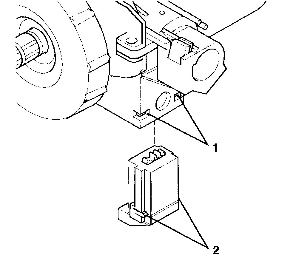
Important: The gears between the ignition switch and the lock cylinder housing must be in the correct position. Failure to do so will cause a misalignment of the gears in the ignition switch and the lock cylinder housing, which may result in a NO START or BATTERY DRAIN.

1. Verify the alignment of the gear (1) in the ignition switch (2). If gear (1) not in position shown, turn gear in ignition switch (2) until you reach the correct position.

pic 5


2. Use a screwdriver to rotate the lock cylinder housing gear counterclockwise until it hits a stop.
3. Connect the connector to the ignition switch.


pic 6


4. Insert the ignition switch into the lock cylinder housing. The tabs (2) on the ignition switch MUST be seated inside the lock cylinder housing (1) for proper installation.


pic 7


5. Use a screwdriver to rotate the lock cylinder housing gear clockwise to the START position-allowing it to spring return into the RUN position.


pic 8


6. Align the lock cylinder and install the lock cylinder into the lock cylinder housing.
7. Connect the PASSLOCK and key buzzer into the lock housing.
8. Install the steering column trim covers.
9. Install the hush and knee bolster.
10. Enable the SIR system.
11. Connect the negative battery cable.

______________________________

Let me know if you have questions or notice anything different than you did.

Joe
Mar 31, 2020 at 6:05 PM
Avatar
KEN@7106
  • MEMBER
  • 4 POSTS
thank you for the reply.
The part you show that turns with the screw driver appears to be spring loaded
that is what is was wondering about that may be weak.
I turn the car to off take the key out but if i touch the little wings outside where the key goes it goes slightly forward enough to turn on battery light and odometer mileage display seems to me this should be off and not be able to do this.
any thoughts? could it be that the tumbler is missing that slot ?
Mar 31, 2020 at 6:32 PM
Advertisement
Avatar
JACOBANDNICKOLAS
  • CERTIFIED EXPERT
  • 110,175 POSTS
The only thing I can think of is of the gear between the switch and tumbler isn't properly aligned and allowing the switch to energize with very little movement. Was that properly aligned when you installed everything?

Joe
Mar 31, 2020 at 6:46 PM
Avatar
KEN@7106
  • MEMBER
  • 4 POSTS
I think so but i will double check that this weekend.
it seemed to only work in one position as i recall.
Mar 31, 2020 at 8:19 PM
Avatar
JACOBANDNICKOLAS
  • CERTIFIED EXPERT
  • 110,175 POSTS
It should only work one way, but the directions indicate the need to make sure it is in the proper position, so double check. Take a look through the directions above and let me know what you find. Hopefully it is something easy.

Take care
Joe
Apr 1, 2020 at 6:50 PM
Avatar
KEN@7106
  • MEMBER
  • 4 POSTS
Thank you. I will do this Saturday.
Apr 1, 2020 at 9:00 PM
Avatar
JACOBANDNICKOLAS
  • CERTIFIED EXPERT
  • 110,175 POSTS
Sounds like a plan. Let me know how it goes for you.

Take care,
Joe
Apr 2, 2020 at 11:50 AM