Key will not turn ignition switch. Key will not move from inserted position. Steering wheel is not locked. Battery is not drained. I have tried to wiggle key around, and have tried spare key which has more pronounced grooves, nothing has worked.
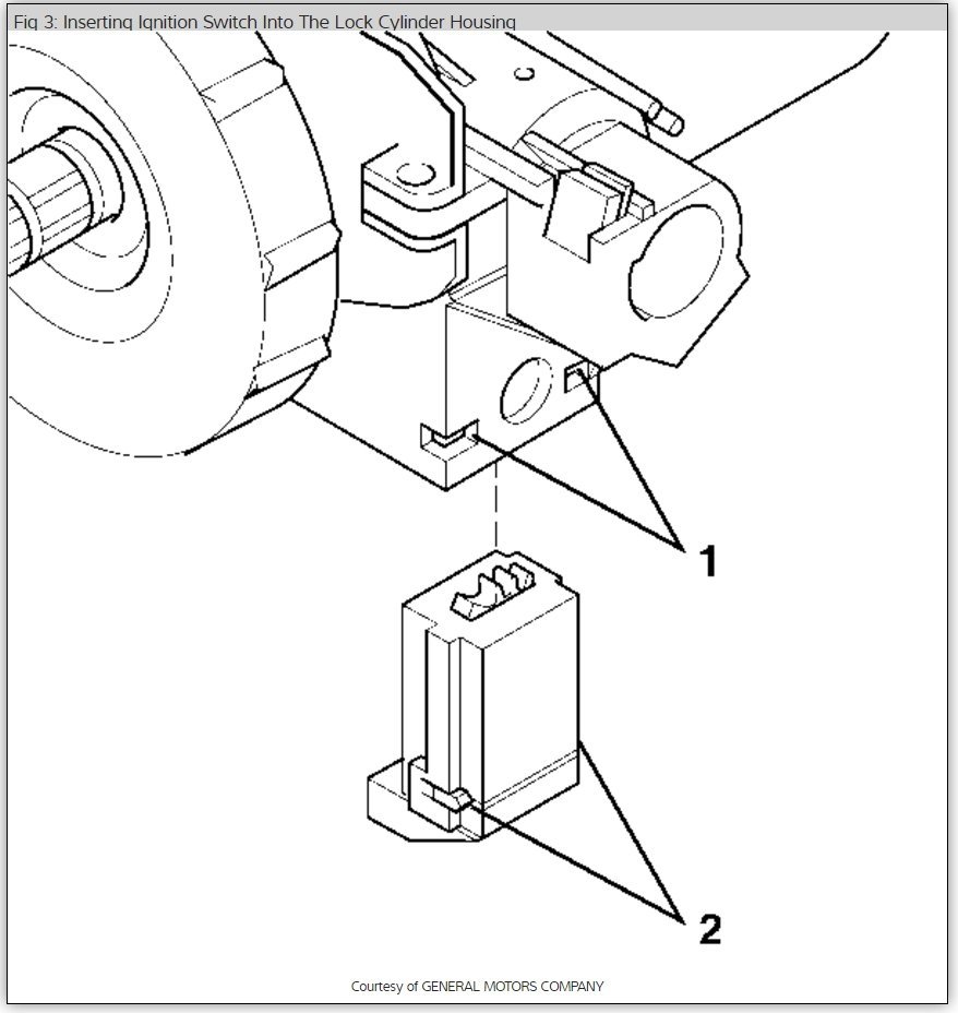
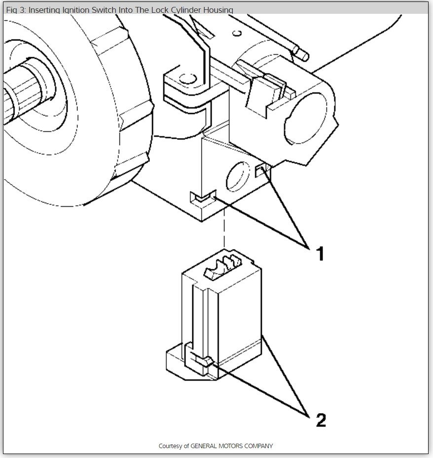
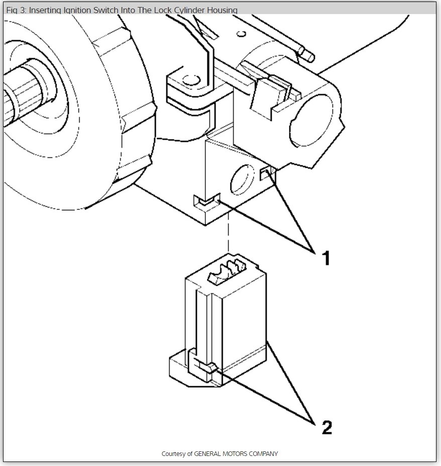
I have gone as far as trying to replace the cylinder switch, but cannot get the switch to release because the key is stuck in inserted position the linchpin underneath will not allow me to release the cylinder from the plastic holder. Therefore I cannot pull it out to install the new cylinder.
What do you recommend?
I have gone as far as trying to replace the cylinder switch, but cannot get the switch to release because the key is stuck in inserted position the linchpin underneath will not allow me to release the cylinder from the plastic holder. Therefore I cannot pull it out to install the new cylinder.
What do you recommend?
Jul 8, 2017 at 1:53 PM










