Ignition lock cylinder

1989 FORD CROWN VICTORIA
142,000 MILES
Avatar
PHILLIP SHEPEARD
  • MEMBER
  • 1 POST
Need to replace Ignition module and lock cylinder.
Sep 11, 2017 at 6:03 PM
Advertisement
Avatar
STRAILER
  • CERTIFIED EXPERT
  • 53,855 POSTS
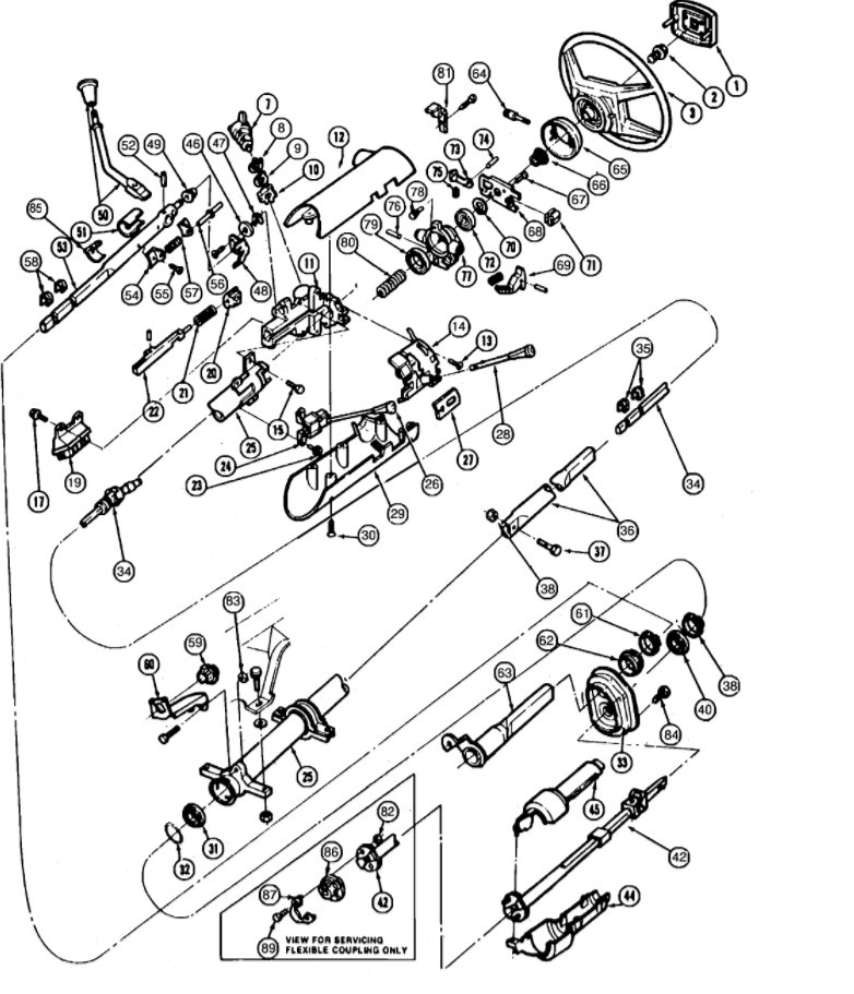
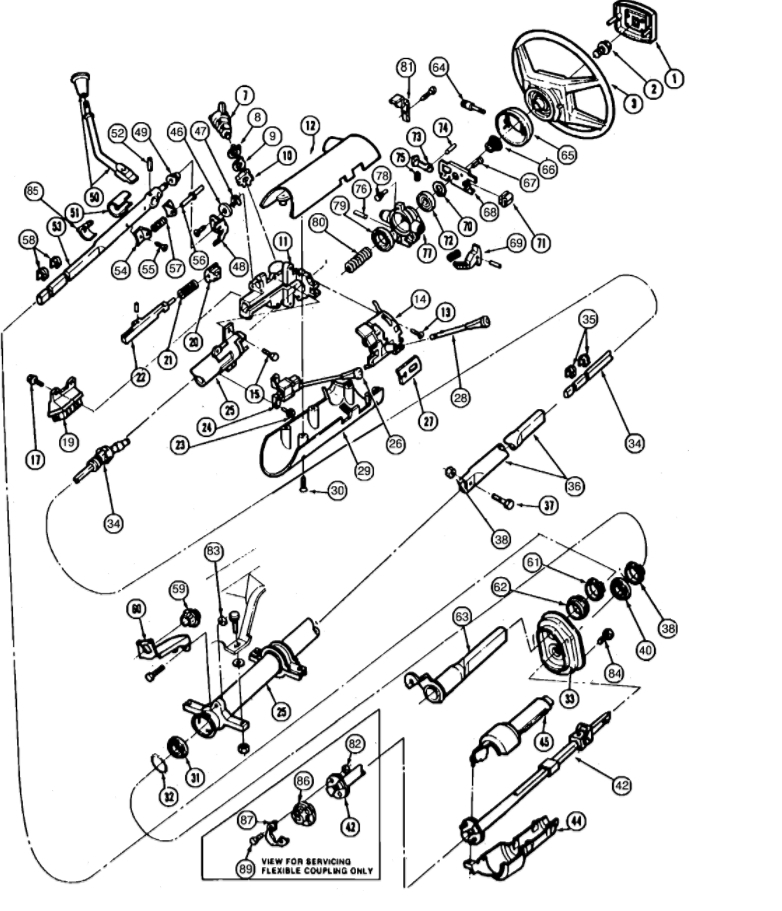
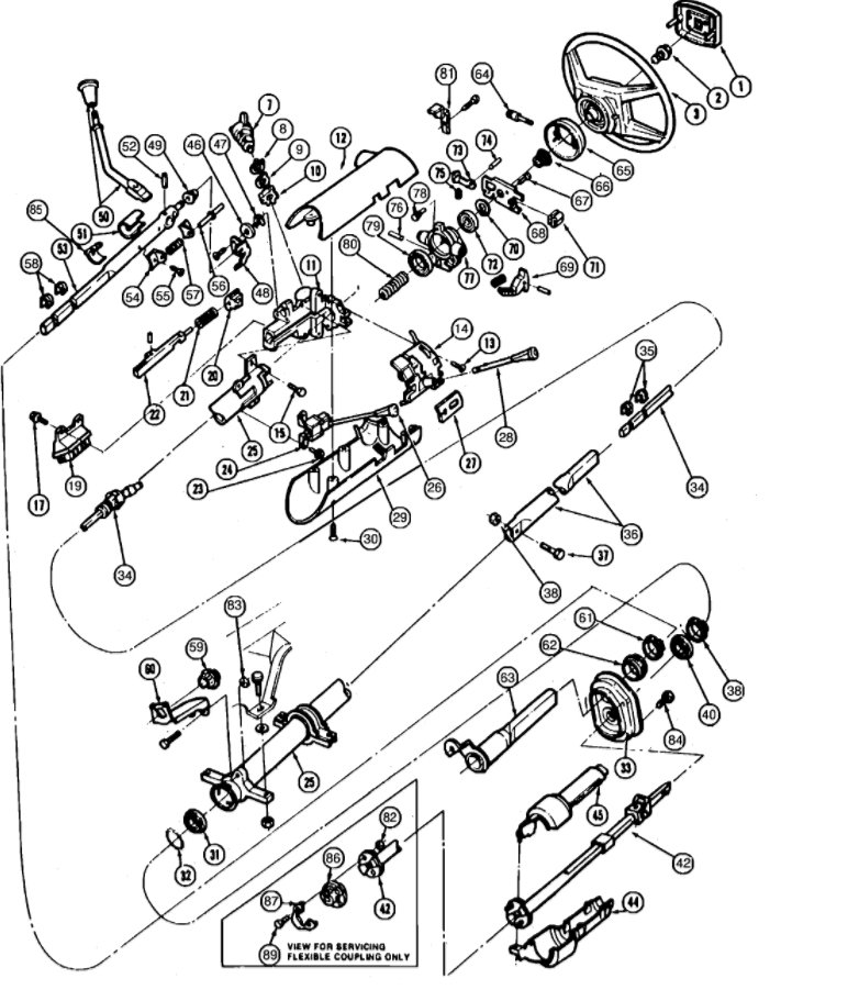
You will need to remove the steering wheel to start. Here is a guide to help with that:

https://www.2carpros.com/articles/steering-wheel-removal

Yours will need a puller.

Here are some diagrams on how to replace the ignition key and tumbler (below).

Please let us know if you need anything else to get the problem fixed.

Cheers, Ken
Sep 12, 2017 at 12:43 PM