Ignition key release

1999 CHEVROLET TRACKER
150,000 MILES • 2.0L • 4 CYL • 4WD • AUTOMATIC
Avatar
CRAYFISH1
  • MEMBER
  • 1 POST
The cable that is attached to a lever on ignition framework that goes to shifting lever does not push lever into position to release key. Maybe cable has come loose from shifting handle in floor console. If so how do I access the cable at shifter in floor console?
Oct 31, 2018 at 3:42 PM
Advertisement
Avatar
JACOBANDNICKOLAS
  • CERTIFIED EXPERT
  • 110,175 POSTS
Hi and thanks for using 2CarPros.com.

The cable may have broken or need adjusted. Here are the directions for accessing the cable. All attached pictures correlate with these directions.

_____________________________________

BRAKE TRANSMISSION INTERLOCK CABLE REPLACEMENT
Removal Procedure

Caution: Refer to Battery Disconnect Caution in Service Precautions.

1. Disconnect the negative battery cable (1).
2. Remove the following from the floor:
^ The 4 screws (1,6,3,4)
^ The 2 plastic retaining clips (2,5)
^ The console box
3. Remove the following components from the steering column:
3.1. The screws
3.2. The steering column upper cover
3.3. The steering column lower cover
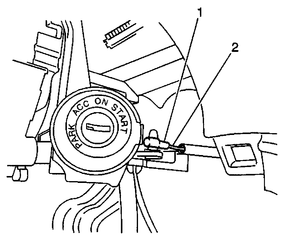
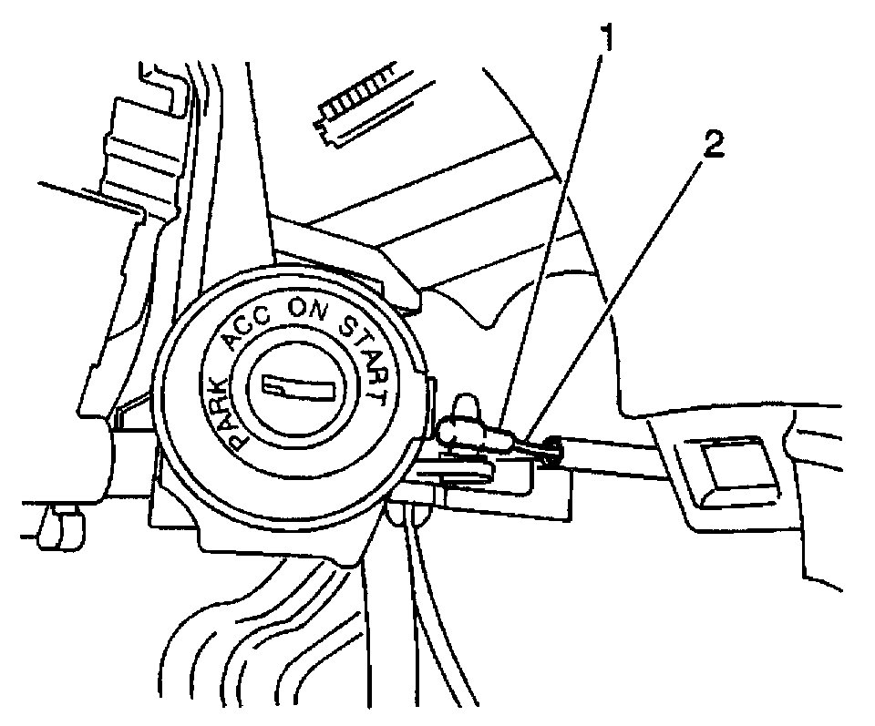
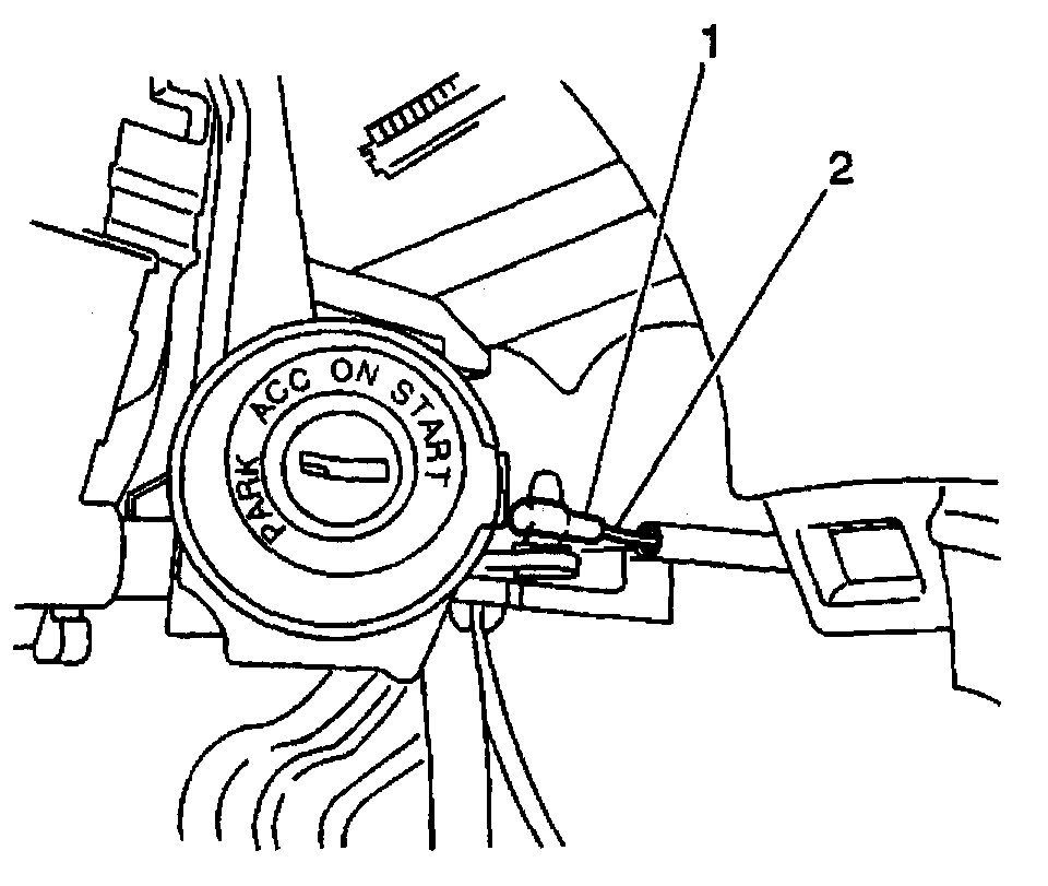
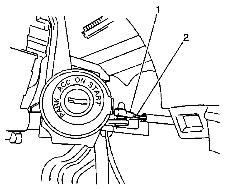
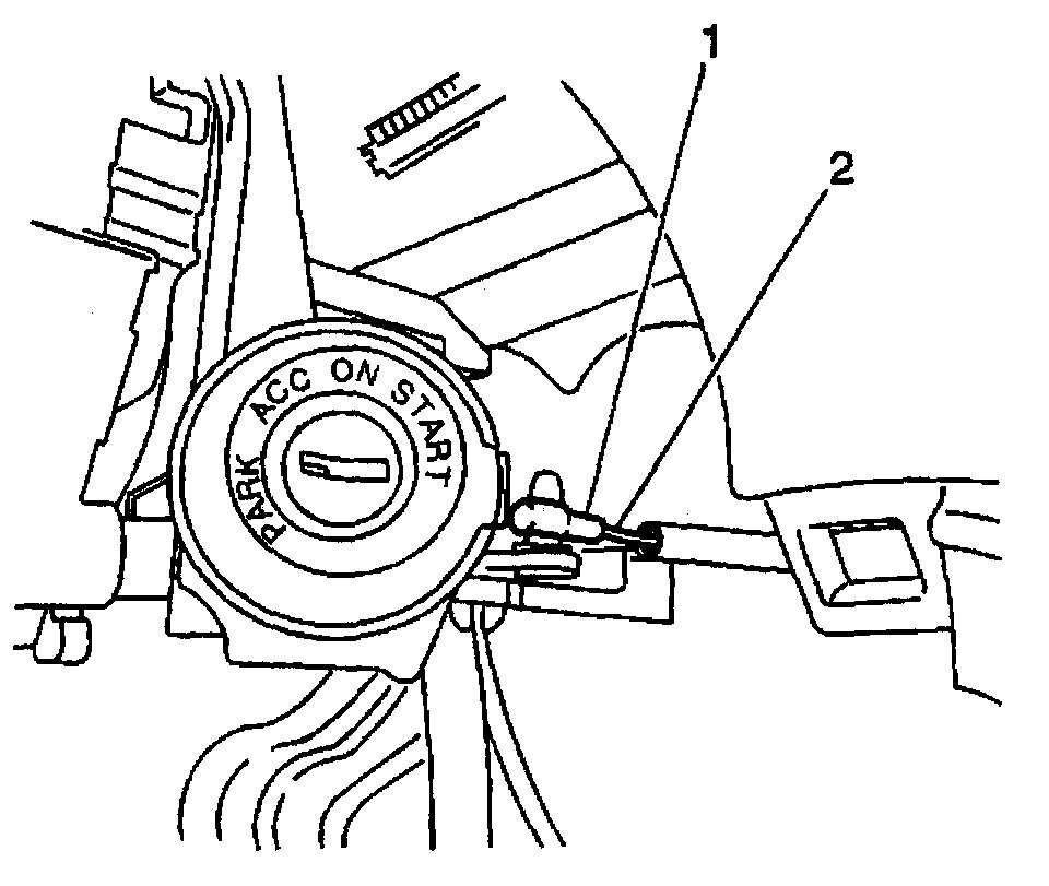
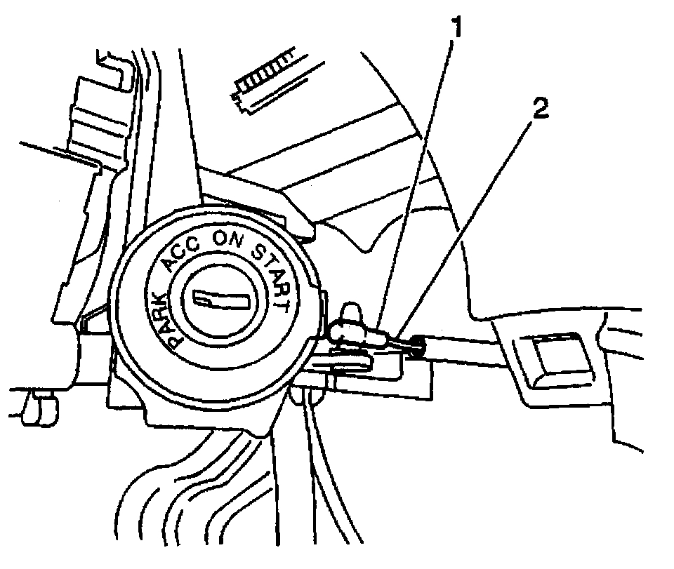
4. Remove the bracket retaining screw (2) from the ignition switch.
5. Remove the interlock cable (1) from the ignition switch.
6. Remove the interlock cable nut.
7. Remove the interlock cable at the manual selector.
8. Remove the interlock cable (1) out from under the instrument panel.
9. Remove the interlock cable from under the carpet.
10. Remove the interlock cable from the interlock cable bracket at the manual selector.
11. Inspect the interlock cable for fraying or kinks.
12. Replace the cable as necessary.

Installation Procedure
1. Route the interlock cable under the carpet to the manual selector and under the instrument panel to the ignition switch.
2. Place the manual selector lever in the NEUTRAL position.
3. Turn the ignition switch to ACC.
4. Install the interlock cable end to the ignition switch (1).
5. Secure the interlock cable end with the bracket retaining screw.
6. Adjust and tighten the screw in order to get the correct tension.
7. Install the steering column upper cover and the steering column lower cover to the steering column.
8. Secure the covers to the steering column with the screws.
9. Install the interlock cable end.

Notice: Refer to Fastener Notice in Service Precautions.

Important: After tightening the interlock cable nut, make sure that the ignition switch can be turned from ACC to LOCK and the key can be removed from the ignition with the manual selector lever shifted to the PARK position. Also verify that with the manual selector lever in any position other than PARK, the ignition switch CANNOT be turned form ACC to LOCK.

10. Tighten the interlock cable nut.
^ Tighten the nut to 13 Nm (115 in. lbs.).
11. Install the console box to the floor.
12. Secure the console box with 2 plastic retaining clips (2,5) and 4 screws (1,6,3,4).
13. Connect the negative battery cable.

______________________________________________

Let me know if this helps. Also, let me know if you have other questions or need guidance.

Take care,
Joe
Nov 1, 2018 at 4:13 PM