Ignition key cylinder replacement? it is stuck?

2008 CHEVROLET TAHOE
200,000 MILES • 5.3L • V8 • 2WD • AUTOMATIC
Avatar
BASSPLAYER19620
  • MEMBER
  • 2 POSTS
I had a new key made for my SUV and I can't get it to turn to the on position to be able to program the key.
Jan 26, 2020 at 5:04 PM
Advertisement
Avatar
KASEKENNY
  • CERTIFIED EXPERT
  • 18,907 POSTS
This is not uncommon when the key is new and the key cylinder is old. Basically the key is either just slightly off or needs to be worn down a bit. Use a wire brush and try to clean it up a little bit.

Then use a little WD40 in the cylinder to see if you can loosen it up. If none of this works then you are going to have to replace the ignition cylinder.

Below is the process to do this. Let us know if you have questions. Thanks
Jan 17, 2021 at 4:56 PM
Avatar
BRETT WILSON
  • MEMBER
  • 2 POSTS
I put the key in the ignition and it won’t turn. the steering wheel is not locked, ignition just won’t turn.
Jun 3, 2021 at 10:21 AM (Merged)
Advertisement
Avatar
JACOBANDNICKOLAS
  • CERTIFIED EXPERT
  • 110,175 POSTS
Welcome to 2CarPros.

Have you tried a different key? If nothing is working, the tumbler may have gone bad and need replaced. Have you tried to see if a small amount of lubricant helps?

If nothing is helping, you will need to remove the tumbler and see what is happening. Most likely, the tumblers in the lock assembly have worn out or broken.

Here are the directions for replacement. The attached pics correlate with the directions. I'm not 100% sure, but the new key may require programming. There is nothing listed in the manual, but I swear it was required.

_________________________________________________

2005 Chevy Truck Tahoe 4WD V8-5.3L VIN T
Ignition Lock Cylinder
Vehicle Steering and Suspension Steering Steering Column Service and Repair Removal and Replacement Ignition Lock Cylinder
IGNITION LOCK CYLINDER
Ignition Lock Cylinder Replacement

Removal Procedure

1. Disconnect the negative battery cable.

Caution: Refer to SIR Caution in the Preface section.

2. Disable the SIR system.
3. Lower the knee bolster.
4. Remove the steering column trim covers.
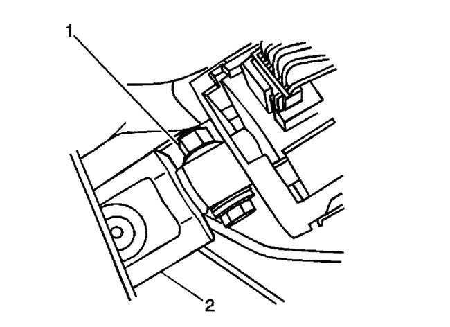
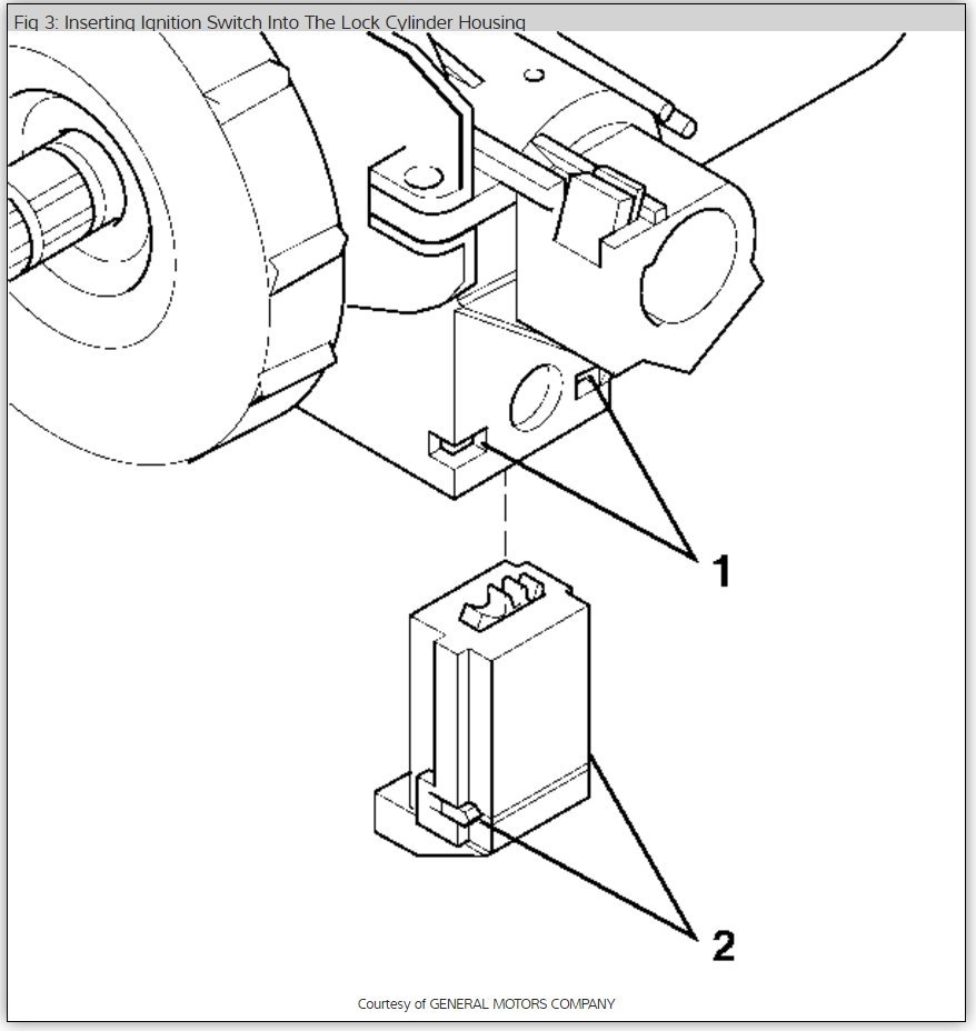
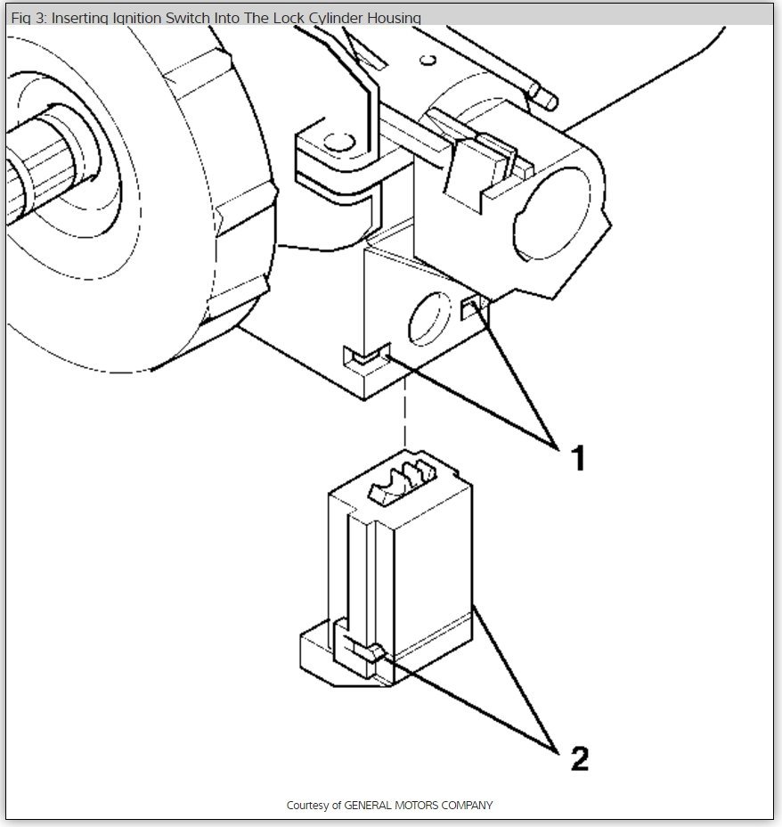
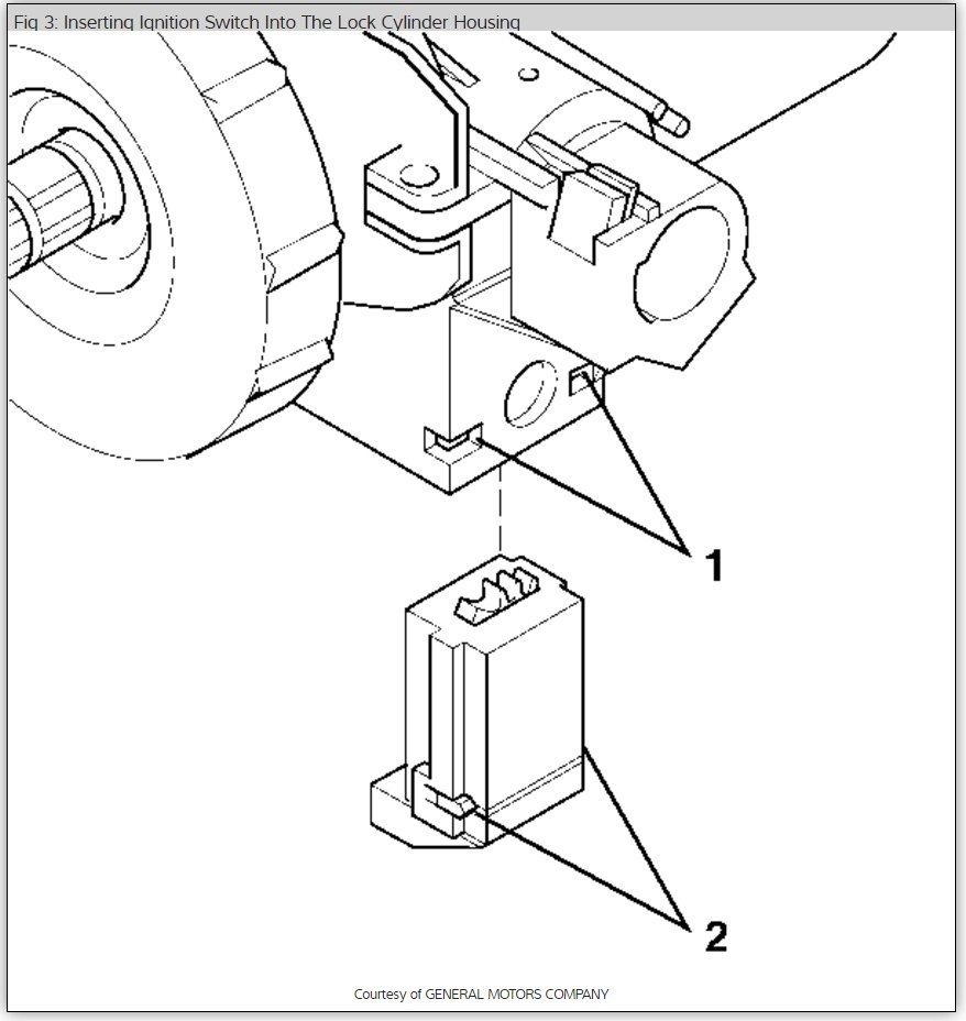
5. Use the key in order to turn the ignition lock cylinder to the START position.


pic 1



6. Install an allen wrench into the hole on the top of the lock cylinder housing.
Push down on the allen wrench in order to release the tab on the lock cylinder inside the lock cylinder housing.


Pic 2


7. Slide the lock cylinder out of the lock cylinder housing.

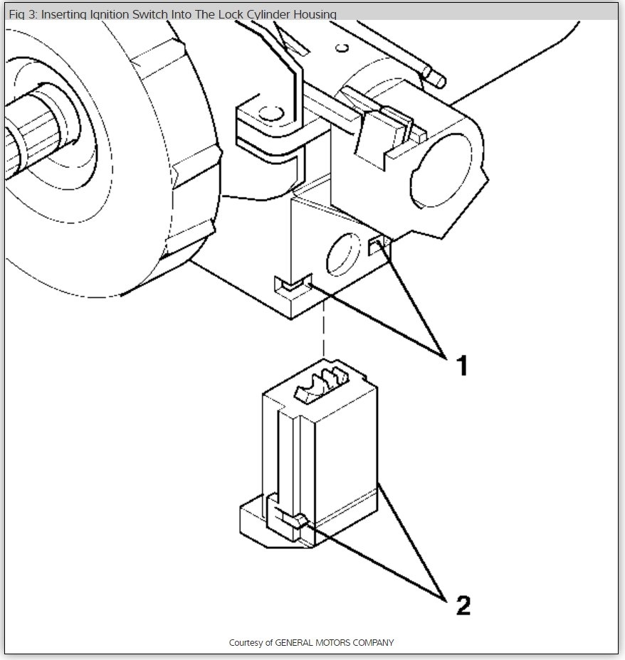
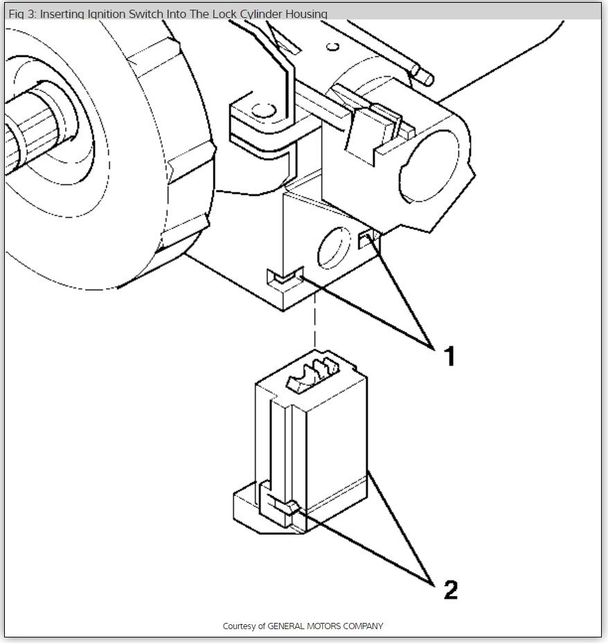
Installation Procedure


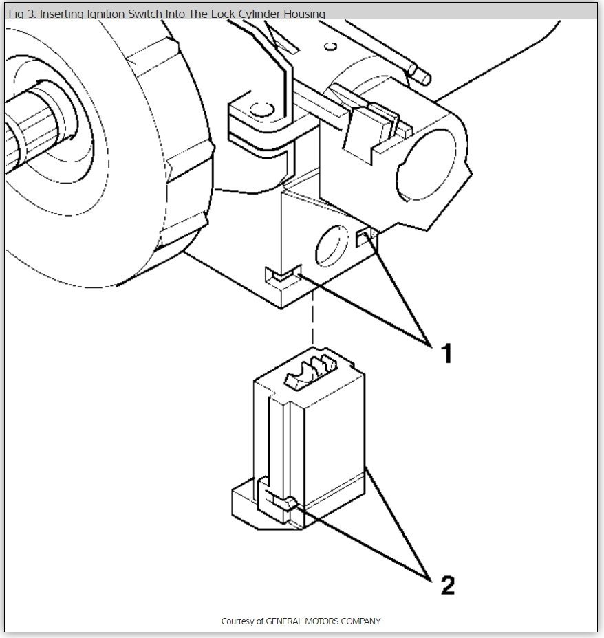
pic 3



Important: The gears between the ignition switch and the lock cylinder housing must be in the correct position. Failure to do so will cause a misalignment of the gears in the ignition switch and the lock cylinder housing, which may result in a NO START or BATTERY DRAIN.

1. Use a screwdriver in order to rotate the lock cylinder housing gear clockwise to the START position.
2. Remove the screwdriver and allow the lock cylinder housing gear to spring return to the RUN position.


pic 4



3. Install the key to the lock cylinder.
4. Align and install the lock cylinder to the lock cylinder housing.
5. Install the steering column trim covers. Refer to Steering Column Trim Cover Replacement.
6. Install the knee bolster.
7. Enable the SIR system.
8. Connect the negative battery cable.

____________________________________________________

Let me know if this helps or if you have other questions.

Take care,
Joe
Jun 3, 2021 at 10:21 AM (Merged)
Avatar
RONI214
  • MEMBER
  • 1 POST
I have been having problems starting my truck, at first I thought it was my ignition switch so we replaced it. Was working fine. Then stop starting again unless I pulled my steering wheel hard to the right or left while turning it over or adjusting the height of the steering wheel. Did that for a few weeks now it won't start at all!!! What could it be? And is it expensive to fix?
Jun 3, 2021 at 10:21 AM (Merged)
Avatar
KASEKENNY
  • CERTIFIED EXPERT
  • 18,907 POSTS
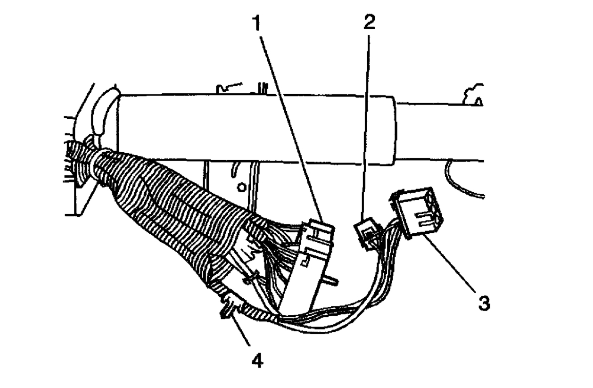
I assume that you have the column mounted ignition switch/cylinder. If that is the case, I just want to make sure you replaced the actual switch. Many people mistake the cylinder for the switch. I have seen this issue many times and it is always the switch.

Take a look at the info below and let us know if you have questions.

If the switch is not causing this then you have a loose connection for the ignition switch because that is the only thing there that would be affected by the wheel turning. I included the connector view for the switch for you review. Thanks
Jun 3, 2021 at 10:21 AM (Merged)
Avatar
BETHANY GALAVIZ
  • MEMBER
  • 1 POST
I changed my ignition key cylinder and now my new key wont come out of ignition. Still starts and runs fine. did fix the problem i was having the battery light wouldn't go out when i turned the car off.
Jun 3, 2021 at 10:21 AM (Merged)
Avatar
STRAILER
  • CERTIFIED EXPERT
  • 53,854 POSTS
It sounds like it is because the ignition tumbler if off one tooth. here are instructions to so show you how to fix the problem. Check out the diagrams (below). Please let us know what happens.
Jun 3, 2021 at 10:21 AM (Merged)
Avatar
REESELAND
  • MEMBER
  • 1 POST
I just bought a 2001 Chevy Tahoe clean truck just 1 problem I'm having trouble turning over the key to start the truck..I think it has been broken down before..it feels like its jammed How much does it cost to repair the ignition or replace it?
Jun 3, 2021 at 10:21 AM (Merged)
Avatar
JACOBANDNICKOLAS
  • CERTIFIED EXPERT
  • 110,175 POSTS
Before anything, try lubericating the tumbler to see if that helps. Your vehicle has a security system that is tied to the key and ignition switch. It will be very expensive to replace.
Jun 3, 2021 at 10:21 AM (Merged)
Avatar
AW2618
  • MEMBER
  • 1 POST
I’m having so much trouble trying to change the ignition housing on my SUV. Someone tried to steal it last night so I’m not sure if it caused more damage or what because every video I’ve watched mine is not so simple. Please someone help me give instructions on what to do. I’ve been at this all day and just want some help to finally finish. I’m a single mom and missed work today so I need help. Please
Jun 3, 2021 at 10:21 AM (Merged)
Avatar
ASEMASTER6371
  • CERTIFIED EXPERT
  • 52,796 POSTS
In most cases, it is easier to replace the column than repair it.I attached the procedure for you to view. The only thing that will need to be done is to program the key to the car. Check out the diagrams (Below). Please let us know what happens.

https://www.2carpros.com/articles/how-to-reset-a-security-system

Tools Required
J 42640 Steering Column Lock Pin

Removal Procedure

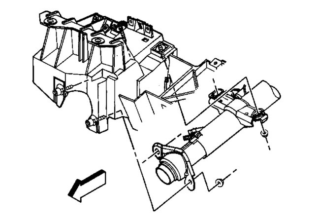
Notice: Once the steering column is removed from the vehicle, the column is extremely susceptible to damage. Dropping the column assembly on its end could collapse the steering shaft or loosen the plastic injections that maintain column rigidity. Leaning on the column assembly could cause the jacket to bend or deform. Any of the above damage could impair the columns collapsible design. If it is necessary to remove the steering wheel, refer to Steering Wheel. Under no condition should the end of the shaft be hammered on, as hammering could loosen the plastic injections which maintain column rigidity.

Notice: The front wheels of the vehicle must be maintained in the straight ahead position and the steering column must be in the LOCK position before disconnecting the steering column or intermediate shaft. Failure to follow these procedures will cause improper alignment of some components during installation and result in damage to the SIR coil assembly.

Caution: Refer to SIR Caution in Service Precautions.

1. Disable the Supplemental Inflatable Restraint (SIR) system. Refer to Disabling the SIR System in Restraint Systems.
2. Remove the knee bolster. Refer to Knee Bolster Replacement in Instrument Panel, Gauges and Warning Indicators.
3. Lock the steering column through the access hole in the lower steering column trim cover using the J 42640.

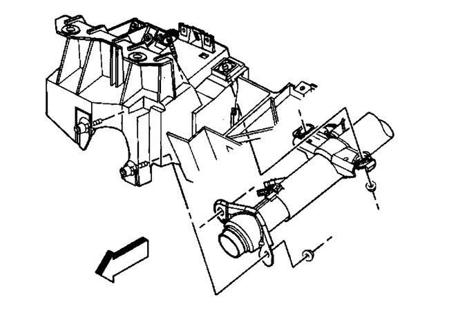
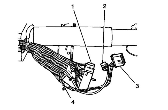
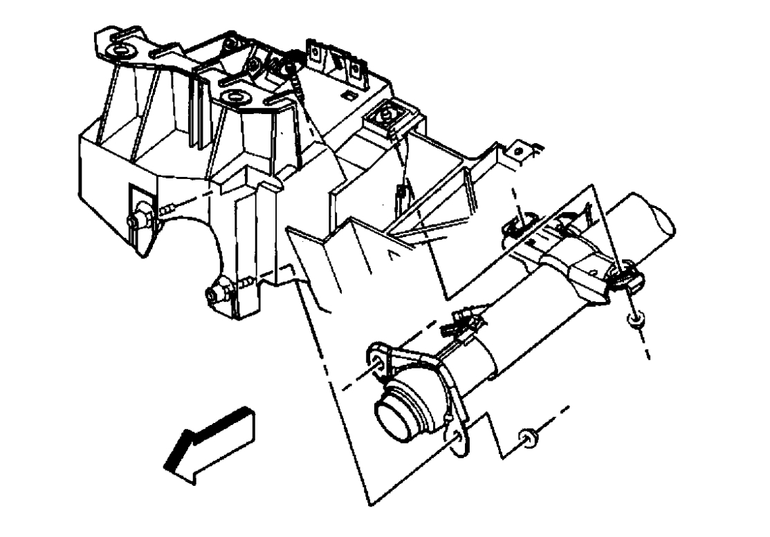
4. Remove the body control module bracket. Do not disconnect the harness from the body control module. Refer to Body Control Module Replacement in Powertrain Management.
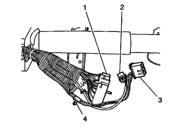
5. Disconnect the transmission shift cable (1) from the steering column.

6. Disconnect the steering column electrical connectors.

Notice: During removal of the steering column the wire harness retaining clip must be removed and reinstalled after installing the steering column or damage may occur to the wire harness.

7. Remove the electrical harness retaining pin (4) from the instrument panel.

8. Remove the upper intermediate shaft pinch bolt (1) from the steering column to remove the intermediate shaft (2).
9. Remove the nuts (1) from the knee bolster deflector (2).

10. Remove the nuts from the upper support bracket.
11. Remove the steering column from the vehicle.

Key Programming

PROGRAMMING REPLACEMENT PASSLOCK(TM) SENSOR, BCM, OR PCM

IMPORTANT:
The Body Control Module (BCM) must be programmed with the proper PRO configurations before performing learn procedures. See BCM Programming/RPO Configuration.
If replacing the BCM with a GM Service Parts Operations (SPO) replacement part, the module will learn Passlock(TM) sensor data code immediately. The existing PCM however, must learn the new fuel continue password when the BCM is replaced.
If replacing a PCM with a GM Service Parts Operations (SPO) replacement part, after programming, these modules will learn the incoming fuel continue password immediately upon receipt of a password message. Once a password message is received, and a password is learned, a learn procedure must be performed to change this password again. A PCM which has been previously installed in another vehicle will have learned the other vehicle's fuel continue password and will require a learn procedure after programming to learn the current vehicle's password.

CONDITIONS
Use this procedure after replacing:
Passlock(TM) Sensor
BCM
PCM

LEARN PROCEDURES
There are two available methods to perform the programming procedure:
A 10 minutes procedure which requires a Tech 2 and a techline terminal.
A 30 minutes procedure which does not require the use of any tools.

10 MINUTE LEARN PROCEDURE

TOOLS REQUIRED
Tech 2
Techline terminal with current Service Programming System (SPS) software

1. Connect the Tech 2 to the vehicle.
2. Select "Request Information" under "Service Programming".
3. Disconnect the Tech 2 from the vehicle and connect it to a techline terminal.
4. On the techline terminal, select "Theft Module Re-Learn" under "Service Programming".
5. Disconnect the Tech 2 from the techline terminal and connect it to the vehicle.
6. Turn ON the ignition, with the engine OFF.
7. Select "VTD Re-Learn" under "Service Programming".
8. Attempt to start the engine, then release the key to ON (vehicle will not start).
9. Observe the SECURITY telltale, after approximately 10 minutes the telltale will turn OFF (the vehicle is now ready to relearn the Passlock(TM) Sensor Data Code and/or password on the next ignition switch transition from OFF to CRANK).
10. Turn OFF the ignition, and wait 5 seconds.
11. Start the engine (the vehicle has now learned the password).
12. With the Tech 2 (scan tool), clear any DTCs.

30 MINUTE LEARN PROCEDURE
1. Turn ON the ignition, with the engine OFF.
2. Attempt to start the engine, then release the key to ON (vehicle will not start).
3. Observe the SECURITY telltale, after approximately 10 minutes the telltale will turn OFF.
4. Turn OFF the ignition, and wait 5 seconds.
5. Repeat steps 1 through 4 two more times for a total of 3 cycles/30 minutes (the vehicle is now ready to relearn the Passlock(TM) Sensor Data Code and/or passwords on the next ignition switch transition from OFF to CRANK).

IMPORTANT: The vehicle learns the Passlock(TM) Sensor Data Code and/or password on the next ignition switch transition from OFF to CRANK. You must turn the ignition OFF before attempting to start the vehicle.

6. Start the engine. The vehicle has now learned the Passlock(TM) Sensor Data Code and/or password.
7. With a scan tool, clear any DTCs if needed. History DTCs will self clear after 100 ignition cycles.

Check out the diagrams (Below). Please let us know what happens.
Jun 3, 2021 at 10:21 AM (Merged)
Avatar
BCBYJOANN
  • MEMBER
  • 1 POST
I'm trying to install a new ignition switch on my Tahoe. Is there a special tool needed? How do I install? Thanks in advance.
Jun 3, 2021 at 10:22 AM (Merged)
Avatar
STRAILER
  • CERTIFIED EXPERT
  • 53,854 POSTS
The job is not to bad there are a couple of torx screws that hold the switch on and a bolt through the lower wiring connector. Here are the diagram you need to get the ignition switch and tumbler replaced. Check out the diagrams (Below)Please let us know if you need anything else to get the problem fixed.
Jun 3, 2021 at 10:22 AM (Merged)
Avatar
LEWP36
  • MEMBER
  • 1 POST
how do I remove the ignition key lock cylinder
Jun 3, 2021 at 10:22 AM (Merged)
Avatar
MHPAUTOS
  • CERTIFIED EXPERT
  • 31,937 POSTS


https://www.2carpros.com/forum/automotive_pictures/61395_Capture_key_1.jpg


https://www.2carpros.com/forum/automotive_pictures/61395_key_1.jpg

Mark (mhpautos)
Jun 3, 2021 at 10:22 AM (Merged)
Avatar
MANYHATS
  • MEMBER
  • 1 POST
ignition switch removal 1978 chev. tahoe
Jun 3, 2021 at 10:22 AM (Merged)
Avatar
BLUELIGHTNIN6
  • CERTIFIED EXPERT
  • 16,542 POSTS
The switch is on the steering column, behind the instrument panel.

Lower the steering column, making sure that it is supported.



WARNING
Extreme care is necessary to prevent damage to the collapsible column.

Make sure that the switch is in the LOCK position. If the lock cylinder is out, pull the switch rod up to the stop, then go down one detent.
Remove the two screws and the switch.
Before installation, make sure the switch is in the LOCK position.
Install the switch using the original screws.




CAUTION
Use of screws that are too long could prevent the column from collapsing on impact.


Install the column.
Jun 3, 2021 at 10:22 AM (Merged)