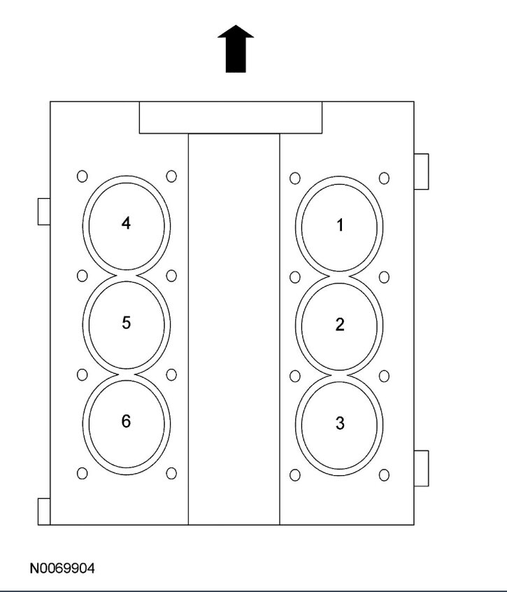
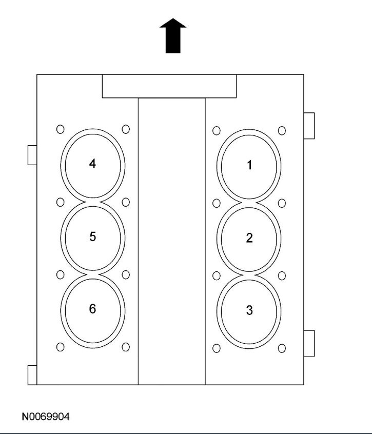
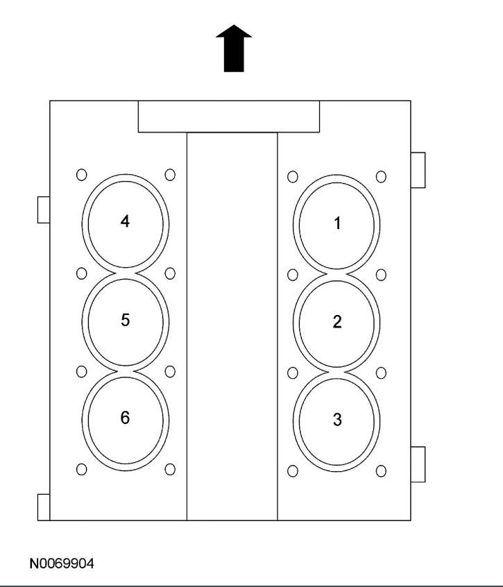
I had my car hooked up to the computer at a couple local car places and the code was P0305, which is cylinder 5 misfire. Okay now, I need to know which cylinder is 5 on my engine and the whole process I will have to go through to change it. I'm not car-dumb, but I haven't worked on an engine in about 20 years, which was a 70' CST C-10 383 Stroker engine back when there were sparkplug wires and distributor caps!! (I didn't even know there weren't any anymore and ignition coils had replaced them!) Also, do I need to replace all 6 ignition coils while I'm at it, or just the one misfiring, because I know they are pretty expensive now, does the brand mean a whole lot dealing with them too?! Sorry for all the questions all over the place, just don't want to mess my one and only ride up!! Thanks y'all!!
Jul 21, 2023 at 4:12 AM





