Ignition

2002 CHEVROLET MALIBU
250,000 MILES • AUTOMATIC
Avatar
SEAGRAVES33
  • MEMBER
  • 1 POST
When I put the key in the ignition, the interior light come on and it chimes if the door is still open. However, the key will not turn at all. I have not had a problem like this out of it before. The steering wheel is unlocked, the gear shift is in park, the wheels are straight. Is there another quick fix?
Aug 13, 2017 at 4:38 AM
Advertisement
Avatar
STRAILER
  • CERTIFIED EXPERT
  • 53,854 POSTS
Hello,

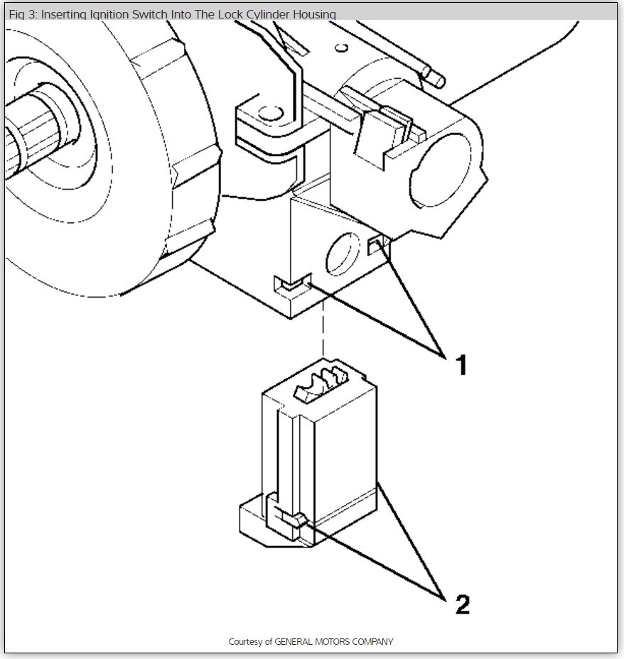
It sound like the tumbler has gone bad and needs to be replaced, Here are some diagrams that will help you get the problem fixed.

You will need to get the dealer set the ignition key up.

Please let us know what happens.

Cheers, Ken

Aug 14, 2017 at 7:12 PM