☰
Login
Join
×
Home
Answered Questions
Repair Topics
Repair & Service Guides
Popular Questions
Warning Lights
Trouble Codes
How It Works
Testing / Diagnostics
Symptoms
Videos
Login
Become a Member
Home
Jeep
Grand Cherokee
Trouble Codes
P Codes (Powertrain)
P0500 - P0599
P0505
idle control valve p0505, wiring diagram needed?
2001 JEEP GRAND CHEROKEE
210,400 MILES • 4.0L • 6 CYL • 2WD
RONNIE LABASTIDA
MEMBER
1 POST
FOLLOW
i think somehow the wires coming from the harness to the control valve have been crossed, is there a schematic for the colored 4 wires.
May 18, 2023 at 10:15 PM
Advertisement
BORIS K
CERTIFIED EXPERT
836 POSTS
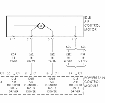
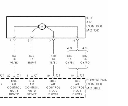
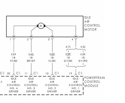
Hello,
Below please see the connector layout.
See images attached.
Pin 1, violet/black wire
Pin 2, brown/white wire
Pin 3, yellow/black wire
Pin 4, grey/red wire
Hope this helps.
Cheers, Boris
Images (Click to enlarge)
May 19, 2023 at 2:31 AM